TOP
|
特許
|
意匠
|
商標
特許ウォッチ
Twitter
他の特許を見る
10個以上の画像は省略されています。
公開番号
2025143810
公報種別
公開特許公報(A)
公開日
2025-10-02
出願番号
2024043251
出願日
2024-03-19
発明の名称
採型装置
出願人
株式会社FTS
,
株式会社ピーエーエス
代理人
個人
,
個人
主分類
A47C
31/12 20060101AFI20250925BHJP(家具;家庭用品または家庭用設備;コーヒーひき;香辛料ひき;真空掃除機一般)
要約
【課題】構成を簡素化し、小型、軽量であり、採型を精密に行うことを可能にする各個人に適合した座位保持具を製作するためのデータを採取する採型装置を提供する。
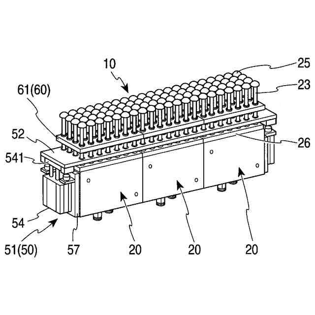
【解決手段】採型装置10は、柱状且つ筒状のシリンダ22が、略平行に複数形成されたシリンダ領域21と、シリンダ22内を移動可能であり、シリンダ22から突出する部位を有するシャフト23と、シリンダ領域21のシリンダ22の全ての一端を共有する共通領域30を備えるシリンダユニット20と、共通領域30に接続され、シャフトを移動可能にするシャフト駆動手段40と、シャフト23の移動を停止及び停止の解除を可能にするロック手段50と、を備える。
【選択図】図6
特許請求の範囲
【請求項1】
筒状のシリンダが、略平行に複数形成されたシリンダ領域と、
前記シリンダ内を移動可能であり、前記シリンダから突出する部分を有するシャフトと、
前記シリンダ領域の前記シリンダの全ての一端を共有して連通する共通領域と、を備えるシリンダユニットと、
前記共通領域に接続され、前記シャフトを移動可能にするシャフト駆動手段と、
前記シャフトの前記シリンダ内の移動の停止及び停止の解除を可能にするロック手段と、を備える採型装置。
続きを表示(約 680 文字)
【請求項2】
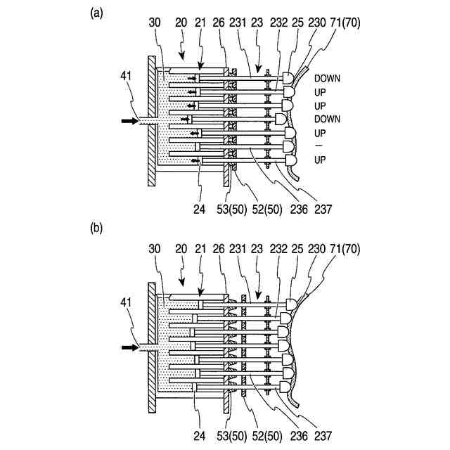
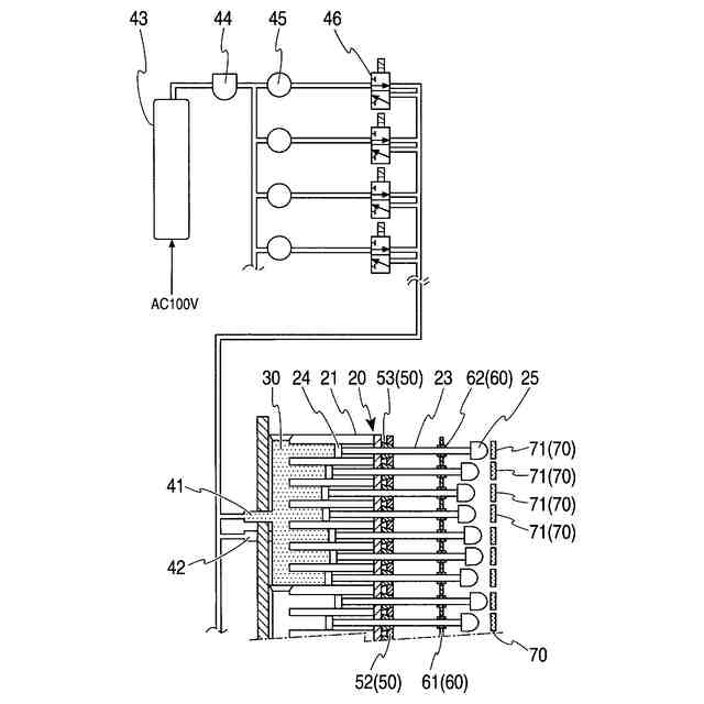
前記シャフトに対する圧力測定手段を備える請求項1に記載の採型装置。
【請求項3】
前記シャフト駆動手段は、空気圧で行われ、
前記共通領域には、給気口と排気口が形成されている請求項1又は請求項2に記載の採型装置。
【請求項4】
前記ロック手段は、内部を前記シャフトが通過可能な貫通孔と、溝部を備え、前記シリンダユニット上に配設される弾性材料で形成されたロックブッシュと、
前記シャフトが通過可能な貫通孔を備え、前記ロックブッシュより前記シャフトの先端部側に配設される板状のロックプレートと、を備え、
該ロックプレートの移動により前記ロックブッシュを押圧し、前記溝部によって前記シャフトを両側から挟んで前記シャフトの動きを停止させる請求項1又は請求項2の採型装置。
【請求項5】
前記ロック手段の前記ロックプレートの移動を司る移動部は、前記シリンダユニットの両側の側面、又は、前記シリンダユニットが複数連結される場合は、連結後の前記シリンダユニットの両側の側面に取付けられる請求項4に記載の採型装置。
【請求項6】
前記シャフトのシャフト横ブレ防止手段を備える請求項1又は請求項2に記載の採型装置。
【請求項7】
前記シャフト横ブレ防止手段は、前記シャフトが通過可能な貫通孔が形成された板状の横ブレ防止プレートと、内部を前記シャフトが摺動可能であり、前記横ブレ防止プレートに取付けられる横ブレ防止ブッシュを備えている請求項6に記載の採型装置。
発明の詳細な説明
【技術分野】
【0001】
本発明は、健常者各個人をはじめ、障がい者の各個人に適合した座位保持具を製作するためのデータを採取することのできる採型装置に関するものである。ここで、「採型」とは、「型を採る」作業のことであり、対象となる座部や背部の形状の型をとる行為のことをいう。
続きを表示(約 1,700 文字)
【背景技術】
【0002】
一般に、障がい者の多くは、過剰な筋緊張や反り返り、変形等により、健常者に比較して体の柔軟性が低下したり、体型が変化しており、その程度は各個人で大きく異なるので、安定した着座状態も各個人で大きく異なる。又、健常者においても、安定した着座状態は各個人で異なる。
【0003】
例えば、図9には、障がい者用の座姿勢評価装置100が開示されている(例えば、特許文献1等)。人が着座する座部110と上半身を背後から支える背部(背部フレーム120から突出する分割プレート130)とを備え、着座状態における人の安定姿勢を採形する座姿勢評価装置100は、背部フレーム120に対して、略同一形状の矩形板形状に形成され、それぞれ左右方向に延びる分割プレート130の複数を上下方向で相互に略一定の間隔を隔てて相互に略平行となるようにして並設することにより背部を構成すると共に、それら各分割プレート130の左右方向両端近くにおいて、分割プレート130に対して背部フレーム120からの突出方向の駆動力を及ぼす一対の突出駆動手段140を設けることによりアクチュエータを構成し、かかる一対の突出駆動手段140を各別に作動させることにより分割プレート130を背部フレーム120に対する突出方向で移動および傾動させるようにする一方、それら各分割プレート130に及ぼされる体圧による分割プレート130の突出方向の移動力および傾動力を検出するセンサ手段を設けて、センサ手段の検出信号に基づいてアクチュエータとしての一対の突出駆動手段140を作動制御することにより分割プレート130における体圧分布を変更調節できるようにし、更に、分割プレート130の左右方向両側部分それぞれの背部フレーム120に対する突出位置を計測する位置計測手段を設けて、かかる突出位置の計測結果に基づいて各分割プレート130の背部フレーム120に対する突出方向における移動位置および傾動位置を求めている。
【先行技術文献】
【特許文献】
【0004】
特許第3906993号公報
【発明の概要】
【発明が解決しようとする課題】
【0005】
ところで、図9では、採型をより精密に行う場合は、多数のアクチュエータが必要になり、部品点数が増加すると共に、装置サイズの大型化、装置の質量の増大化が懸念される。
【0006】
本発明は、構成を簡素化し、小型、軽量であり、採型を精密に行うことを可能にする健常者各個人をはじめ、障がい者各個人に適合した座位保持具を製作するためのデータを採取することのできる採型装置を提供するものである。
【課題を解決するための手段】
【0007】
上記課題を解決するために請求項1の本発明は、筒状のシリンダが、略平行に複数形成されたシリンダ領域と、シリンダ内を移動可能であり、シリンダから突出する部位を有するシャフトと、シリンダ領域のシリンダの全ての一端を共有する共通領域と、を備えるシリンダユニットと、共通領域に接続され、シャフトを移動可能にするシャフト駆動手段と、シャフトのシリンダ内の移動の停止及び停止の解除を可能にするロック手段と、を備える採型装置である。
【0008】
請求項1の本発明では、筒状のシリンダが、略平行に複数形成されたシリンダ領域を備えているので、シリンダを密に配置することができ、採型を精密に行うことができる。
【0009】
又、シリンダ内を移動可能であり、シリンダから突出する部位を有するシャフトを備えているので、採型後における複数のシャフトの先端部位置により採型を行うことができる。
【0010】
又、シリンダ領域のシリンダの全ての一端を共有する共通領域を備え、共通領域に接続され、シャフトを移動可能にするシャフト駆動手段を備えているので、採型時に「全てのシャフトに対する圧力が同じになる位置=採型位置」にシャフトを容易に移動させることができる。その結果、シャフトの移動制御を簡素化することができると共に、採型を容易に行うことができる。
(【0011】以降は省略されています)
この特許をJ-PlatPat(特許庁公式サイト)で参照する
関連特許
株式会社FTS
採型装置
6日前
株式会社FTS
蓋の取付構造
19日前
株式会社FTS
蓋の取付構造
19日前
株式会社FTS
動物飼育装置
1か月前
株式会社FTS
圧力容器の製造方法
1か月前
株式会社FTS
圧力容器の製造方法
1か月前
株式会社FTS
バッテリー用冷却器
1か月前
株式会社FTS
車両用リッド開閉装置
1か月前
個人
椅子
1か月前
個人
家具
3か月前
個人
自助箸
5か月前
個人
掃除機
7か月前
個人
掃除用具
2か月前
個人
枕
3か月前
個人
耳拭き棒
9か月前
個人
体洗い具
9か月前
個人
ソファー
19日前
個人
枕
7か月前
個人
掃除道具
7か月前
個人
ハンガー
5か月前
個人
屋外用箒
5か月前
個人
物品
1か月前
個人
省煙消臭器
7か月前
個人
開閉トング
4か月前
個人
片手代替具
10か月前
個人
エコ掃除機
10か月前
個人
掃除シート
8か月前
個人
組立式棚板
6か月前
個人
折り畳み椅子
12か月前
個人
靴ベラ
28日前
個人
転倒防止装置
3か月前
個人
ゴミ袋保持枠
5か月前
個人
中身のない枕
6か月前
個人
洗面台
9か月前
個人
受け皿
4か月前
個人
シャワー装置
4か月前
続きを見る
他の特許を見る