TOP
|
特許
|
意匠
|
商標
特許ウォッチ
Twitter
他の特許を見る
10個以上の画像は省略されています。
公開番号
2025143796
公報種別
公開特許公報(A)
公開日
2025-10-02
出願番号
2024043235
出願日
2024-03-19
発明の名称
情報管理システム、及びサーバー
出願人
セイコーエプソン株式会社
代理人
個人
,
個人
,
個人
主分類
G16H
10/20 20180101AFI20250925BHJP(特定の用途分野に特に適合した情報通信技術)
要約
【課題】隔離ネットワーク上のデータベースでの管理情報の格納漏れに対応できるようにする。
【解決手段】情報管理システムは、管理システムと、前記管理システムから取得した前記管理情報を印刷装置に印刷させる印刷システムと、前記管理情報が印刷された第1印刷物のスキャンデータから前記管理情報を取得し、隔離ネットワーク上のデータベースに、取得した前記管理情報を格納する管理装置と、前記管理情報を特定する特定部と、を備え、前記印刷システムは、前記管理情報の印刷履歴および再印刷対象とする管理情報の指定が記入される記入欄が前記管理情報ごとに印刷された第2印刷物を、前記印刷装置に生成させ、前記特定部は、前記第2印刷物のスキャンデータから、記入欄への記入に基づいて再印刷対象とする前記管理情報を特定し、印刷システムは、前記特定部が特定した前記管理情報を前記印刷装置に再印刷させる。
【選択図】図1
特許請求の範囲
【請求項1】
管理情報を管理する管理システムと、
前記管理システムから取得した前記管理情報を印刷装置に印刷させる印刷システムと、
前記管理情報が印刷された第1印刷物のスキャンデータから前記管理情報を取得し、外部ネットワークから隔離された隔離ネットワーク上のデータベースに、取得した前記管理情報を格納する管理装置と、
前記管理情報を特定する特定部と、を備え、
前記印刷システムは、前記管理情報の印刷履歴および再印刷対象とする前記管理情報の指定が記入される記入欄が前記管理情報ごとに印刷された第2印刷物を、前記印刷装置に生成させ、
前記特定部は、前記第2印刷物のスキャンデータから、前記記入欄への記入に基づいて再印刷対象とする前記管理情報を特定し、
前記印刷システムは、前記特定部が特定した前記管理情報を前記印刷装置に再印刷させる、
情報管理システム。
続きを表示(約 840 文字)
【請求項2】
前記印刷装置は、コード形式で前記管理情報が印刷された前記第1印刷物を生成し、
前記管理装置は、前記第1印刷物のスキャンデータが示すスキャン画像が含むコードから前記管理情報を取得する、
請求項1に記載の情報管理システム。
【請求項3】
前記管理装置は、前記第2印刷物のスキャンデータから前記管理情報の印刷履歴を取得し、取得した前記管理情報の印刷履歴と前記第1印刷物のスキャン履歴とに基づいて、前記データベースへの前記管理情報の格納漏れを通知する、
請求項1又は2に記載の情報管理システム。
【請求項4】
前記第2印刷物に印刷された前記印刷履歴は、前記第1印刷物の識別情報を含み、
前記管理情報は、前記データベースへの格納が漏れていた前記管理情報が印刷された前記第1印刷物の識別情報を通知する、
請求項3に記載の情報管理システム。
【請求項5】
管理情報を管理する管理システムと外部ネットワークを介して接続し、前記管理システムから取得した前記管理情報を印刷装置に印刷させるサーバーであって、
前記管理情報が印刷された第1印刷物を前記印刷装置に生成させるサーバー制御部を備え、
前記第1印刷物は、
前記外部ネットワークから隔離された隔離ネットワーク上のデータベースに前記管理情報を格納する管理装置が、前記管理情報を取得するスキャンデータの対象となる印刷物であり、
前記サーバー制御部は、
前記管理情報の印刷履歴および再印刷対象とする前記管理情報の指定が記入される記入欄が前記管理情報ごとに印刷された第2印刷物を、前記印刷装置に生成させ、
前記第2印刷物のスキャンデータから前記記入欄への記入に基づいて再印刷対象とする前記管理情報を特定し、
特定した前記管理情報を前記印刷装置に再印刷させる、
サーバー。
発明の詳細な説明
【技術分野】
【0001】
本発明は、情報管理システム、及びサーバーに関する。
続きを表示(約 2,100 文字)
【背景技術】
【0002】
従来、ネットワーク上で情報を管理する技術が知られている。例えば、特許文献1は、電子カルテなどの医療情報をクラウドネットワーク上のクラウドサーバーが管理するシステムを開示する。
【先行技術文献】
【特許文献】
【0003】
特開2022-063904号公報
【発明の概要】
【発明が解決しようとする課題】
【0004】
特許文献1記載の医療情報のような管理情報は、隔離ネットワーク上のデータベースで管理される場合がある。この場合、管理情報をデータベースに格納する構成としては、管理情報が印刷された印刷物をスキャナーで読み取り、スキャンデータから得られた管理情報をデータベースに格納する構成が考えられる。しかしながら、この構成では、印刷物の紛失やスキャナーで生じる重送などによって、データベースへの管理情報の格納漏れが生じ得る。
【課題を解決するための手段】
【0005】
上記課題を解決する一態様は、管理情報を管理する管理システムと、前記管理システムから取得した前記管理情報を印刷装置に印刷させる印刷システムと、前記管理情報が印刷された第1印刷物のスキャンデータから前記管理情報を取得し、外部ネットワークから隔離された隔離ネットワーク上のデータベースに、取得した前記管理情報を格納する管理装置と、前記管理情報を特定する特定部と、を備え、前記印刷システムは、前記管理情報の印刷履歴および再印刷対象とする前記管理情報の指定が記入される記入欄が前記管理情報ごとに印刷された第2印刷物を、前記印刷装置に生成させ、前記特定部は、前記第2印刷物のスキャンデータから、前記記入欄への記入に基づいて再印刷対象とする前記管理情報を特定し、前記印刷システムは、前記特定部が特定した前記管理情報を前記印刷装置に再印刷させる、情報管理システムである。
【0006】
上記課題を解決する別の一態様は、管理情報を管理する管理システムと外部ネットワークを介して接続し、前記管理システムから取得した前記管理情報を印刷装置に印刷させるサーバーであって、前記管理情報が印刷された第1印刷物を前記印刷装置に生成させるサーバー制御部を備え、前記第1印刷物は、前記外部ネットワークから隔離された隔離ネットワーク上のデータベースに前記管理情報を格納する管理装置が、前記管理情報を取得するスキャンデータの対象となる印刷物であり、前記サーバー制御部は、前記管理情報の印刷履歴および再印刷対象とする前記管理情報の指定が記入される記入欄が前記管理情報ごとに印刷された第2印刷物を、前記印刷装置に生成させ、前記第2印刷物のスキャンデータから前記記入欄への記入に基づいて再印刷対象とする前記管理情報を特定し、特定した前記管理情報を前記印刷装置に再印刷させる、サーバーである。
【図面の簡単な説明】
【0007】
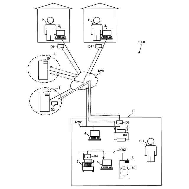
情報管理システムの構成を示す図。
問診管理サーバー、及び印刷サーバーの構成を示す図。
第1印刷画像の一例を示す図。
第2印刷画像の一例を示す図。
第2院内端末の構成を示す図。
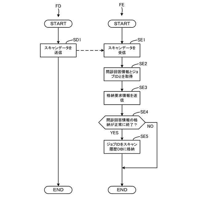
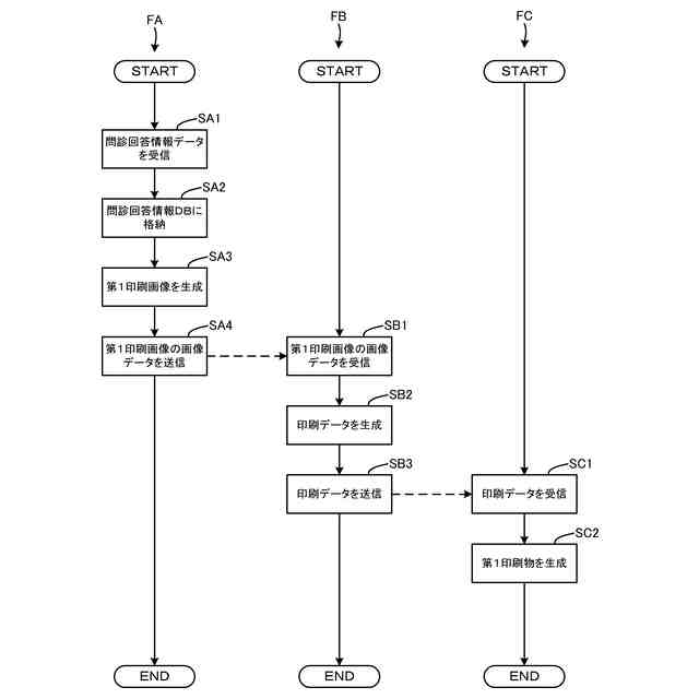
情報管理システムの各部の動作を示すフローチャート。
情報管理システムの各部の動作を示すフローチャート。
情報管理システムの各部の動作を示すフローチャート。
情報管理システムの各部の動作を示すフローチャート。
チェックマークが入力された第2印刷物の一例を示す図。
情報管理システムの各部の動作を示すフローチャート。
通知画面の一例を示す図。
問診管理サーバー、及び印刷サーバーの構成を示す図。
情報管理システムの各部の動作を示すフローチャート。
情報管理システムの各部の動作を示すフローチャート。
情報管理システムの各部の動作を示すフローチャート。
【発明を実施するための形態】
【0008】
[1.第1実施形態]
[1-1.情報管理システムの構成]
まず、第1実施形態について説明する。
図1は、情報管理システム1000の構成を示す図である。
【0009】
本実施形態の情報管理システム1000は、例えば病院Hに適用されるシステムであって、問診回答情報J1を管理するシステムである。問診回答情報J1とは、問診に対して患者Pが回答した情報である。問診回答情報J1は、例えば、患者Pが回答した薬歴や、患者Pが回答した既往歴、患者Pが回答した受診歴などを含む。
問診回答情報J1は、「管理情報」の一例である。
【0010】
なお、本実施形態の病院Hは、患者Pに対して医療を提供する機関であり、患者Pを収容する施設であることは問わない。つまり、本実施形態の病院Hは、外来患者を対象に医療を提供する機関でもよいし、外来患者及び入院患者を対象に医療を提供する機関でもよい。
(【0011】以降は省略されています)
この特許をJ-PlatPat(特許庁公式サイト)で参照する
関連特許
個人
医療のAI化
1か月前
個人
支援システム
5か月前
個人
管理装置
5か月前
個人
対話システム
5か月前
個人
通知ぬいぐるみAIシステム
2か月前
キラル株式会社
ヘルスケアシステム
15日前
個人
情報システムおよび方法
7か月前
キラル株式会社
ヘルスケアシステム
15日前
株式会社タカゾノ
薬剤秤量装置
3か月前
株式会社タカゾノ
薬剤秤量装置
3か月前
株式会社タカゾノ
薬剤秤量装置
4か月前
株式会社タカゾノ
薬剤秤量装置
3か月前
株式会社タカゾノ
薬剤秤量装置
3か月前
株式会社タカゾノ
薬剤秤量装置
3か月前
株式会社タカゾノ
薬剤秤量装置
7日前
株式会社リコー
投薬管理システム
1か月前
TOTO株式会社
健康管理システム
28日前
個人
診療の管理装置及び診療システム
3か月前
ゾーン株式会社
コンピュータシステム
6か月前
株式会社M-INT
情報処理システム
6か月前
大王製紙株式会社
作業管理システム
7か月前
株式会社サンクスネット
情報提供システム
5か月前
株式会社CureApp
プログラム
4か月前
富士電機株式会社
食事管理システム
7か月前
株式会社 137
健康観察管理システム
5か月前
株式会社イシダ
受付端末装置
8日前
株式会社ミラボ
情報処理装置、及びプログラム
3か月前
西川株式会社
サービス出力システム
5か月前
歯っぴー株式会社
口内状態の画像診断方法
2か月前
大和ハウス工業株式会社
服薬推定システム
28日前
株式会社タカゾノ
薬剤秤量装置及び調剤システム
4か月前
合同会社フォース
オンライン診療システム
7か月前
二九精密機械工業株式会社
健康管理要素評価支援システム
4か月前
株式会社サンクスネット
健康医療情報管理システム
3か月前
キラル株式会社
プログラムの提供システムおよびその方法
1か月前
HITOTSU株式会社
手術管理システム1
6か月前
続きを見る
他の特許を見る