TOP
|
特許
|
意匠
|
商標
特許ウォッチ
Twitter
他の特許を見る
10個以上の画像は省略されています。
公開番号
2025143386
公報種別
公開特許公報(A)
公開日
2025-10-01
出願番号
2025112000,2021163872
出願日
2025-07-02,2021-10-05
発明の名称
絶縁車輪の絶縁・短絡切替え装置と、保線車両と、絶縁車輪の絶縁・短絡切替え方法
出願人
アクト電子株式会社
,
精研工業株式会社
代理人
個人
,
個人
主分類
B61D
15/00 20060101AFI20250924BHJP(鉄道)
要約
【課題】送電コイルと受電コイルの電磁誘導結合により電源電圧を確実に得られるようにする。
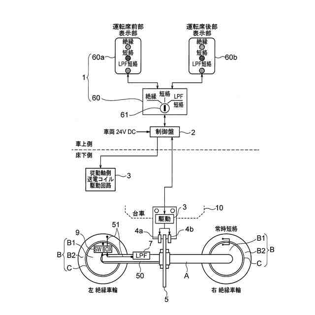
【解決手段】二枚の送電コイル4a、4bを受電コイル5の両外側に間隔をあけて対向配置して、二枚の送電コイル4a、4bの合成電圧が受電コイル5に受電されるようにした。送電側回路は電力を伝送する搬送波に周波数の異なる二以上の変調波で変調をかけた二以上の変調搬送波を生成して送電コイル4a、4bに送る構成とした。操作盤1からの指令に基づいて変調波を切り替え可能とした。受電側回路は送電コイル4a、4bと電磁誘導結合して受電コイル5にワイヤレスで受電された変調搬送波を整流して電力系電圧を取り出すことができ、変調搬送波を検波し、変調波を復調して制御信号を取り出すことができるようにした。制御信号に基づいて前記電力系電圧によりスイッチを操作して、絶縁車輪Bの内輪B1と外輪B2を完全短絡、部分短絡、完全絶縁に切替え可能とした。
【選択図】図1
特許請求の範囲
【請求項1】
送電コイルと受電コイルとの電磁誘導結合により誘起される電圧によりスイッチが開閉操作されて、絶縁車輪の内輪と外輪が完全短絡と、完全絶縁と、部分短絡に切り替えられ、完全短絡時には遮断機が降り、表示灯が点灯し、警報機が鳴り、完全絶縁時には遮断機が降りず、表示灯が点灯せず、警報機が鳴らず、部分短絡時には遮断機が降りて表示灯が点灯するが警報機は鳴らないようにした絶縁車輪の絶縁・短絡切替え装置において、
受電コイルの両外側に、送電コイルを、間隔をあけて対向配置して、
両送電コイルの合成電圧が電磁誘導結合により非接触で受電コイルに給電できる、
ことを特徴とする絶縁車輪の絶縁・短絡切替え装置。
続きを表示(約 2,000 文字)
【請求項2】
請求項1記載の絶縁車輪の絶縁・短絡切替え装置において、
絶縁車輪の絶縁・短絡切替え装置が、操作盤と、制御盤と、送電側回路と、送電コイルと、受電コイルと、受電側回路と、絶縁車輪を短絡・絶縁するスイッチと、ローパスフィルタ(LPF)を備え、
操作盤は制御盤を操作することができ、
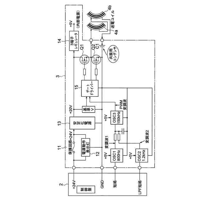
制御盤は車両からの電源電圧を送電側回路へ給電することができ、操作盤からの指令に基づいて変調波の発振を切り替えて、送電側回路の動作を制御することができ、
送電側回路は前記電源電圧を送電コイルに伝送すると共に、操作盤からの指令に基づいて発振される周波数の異なる二以上の変調波で搬送波を変調させて変調搬送波(制御信号)を生成し、その制御信号を送電コイルに供給することができ、
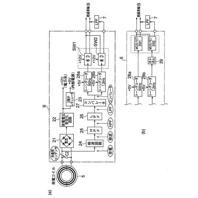
受電コイルは送電コイルと電磁誘導結合して、二つの送電コイルの合成電圧に伴う電圧を誘起することができ、
受電側回路は受電した変調搬送波を整流して電力系電圧を取り出し、変調搬送波を検波し、変調波を復調して完全短絡用制御信号、部分短絡用制御信号、絶縁用制御信号を判別し、判別された制御信号に基づいて前記電力系電圧によりスイッチを操作して、絶縁車輪の内輪と外輪を完全短絡と、LPFを通して駆動する部分短絡と、完全絶縁とに切替え制御可能である、
ことを特徴とする絶縁車輪の絶縁・短絡切替え装置。
【請求項3】
請求項2記載の絶縁車輪の絶縁・短絡切替え装置において、
変調波による搬送波の変調がPWM変調である、
ことを特徴とする絶縁車輪の絶縁・短絡切替え装置。
【請求項4】
請求項1から請求項3のいずれか1項に記載の絶縁車輪の絶縁・短絡切替え装置において、
送電コイル及び受電コイルは車軸の周方向に横長形状である、
ことを特徴とする絶縁車輪の絶縁・短絡切替え装置。
【請求項5】
請求項1から請求項4のいずれか1項に記載の絶縁車輪の絶縁・短絡切替え装置において、
送電コイルが送電側基板の表裏両面又はいずれか一方の面に印刷され、受電コイルが受電側基板の表裏両面又はいずれか一方の面に印刷され、
表裏両面に印刷されたコイルの場合は、巻き数が増加するように接続されている、
ことを特徴とする絶縁車輪の絶縁・短絡切替え装置。
【請求項6】
請求項1から請求項5のいずれか1項に記載の絶縁車輪の絶縁・短絡切替え装置において、
送電コイルは導線を巻いたコイルが送電側基板の表裏両面又はいずれか一方の面に固定され、受電コイルが受電側基板の表裏両面又はいずれか一方の面に固定され、表裏両面に固定したコイルの場合は、巻き数が増加するように接続されている、
ことを特徴とする絶縁車輪の絶縁・短絡切替え装置。
【請求項7】
請求項1から請求項6のいずれか1項に記載の絶縁車輪の絶縁・短絡切替え装置において、
送電コイルと受電コイルが電磁界共振結合できる、
ことを特徴とする絶縁車輪の絶縁・短絡切替え装置。
【請求項8】
請求項1から請求項7のいずれか1項に記載の絶縁車輪の絶縁・短絡切替え装置において、
受電側回路とスイッチがスイッチボックスに装備されている、
ことを特徴とする絶縁車輪の絶縁・短絡切替え装置。
【請求項9】
絶縁車輪の絶縁・短絡切替え装置が装備された保線車両であり、
絶縁・短絡切替え装置が請求項2から請求項8のいずれか1項に記載の絶縁車輪の絶縁・短絡切替え装置であり、
車両の車上側に操作盤と制御盤を備え、
車両の床下側に送電側回路と、少なくとも二枚の送電コイルと、一枚以上の受電コイルと、受電側回路と、絶縁車輪を短絡・絶縁するスイッチと、ローパスフィルタ(LPF)を備え、
二枚の送電コイルは台車に取り付けられ、受電コイルは車軸の外周に円板状に取り付けられ二枚の送電コイルは受電コイルの両外側に電磁誘導可能な間隔をあけて対向配置されて、二枚の送電コイルに供給される電圧の合成電圧が受電コイルとの電磁誘導結合により非接触で受電コイルに受電されるようにしてあり、
受電側回路及びスイッチは絶縁車輪に取り付け、LPFは車軸に取り付けてある、
ことを特徴とする保線車両。
【請求項10】
請求項9記載の保線車両において、
受電側回路及びスイッチは個別に、又は一つのスイッチボックスにまとめて、絶縁車輪に取り付けてある、
ことを特徴とする保線車両。
(【請求項11】以降は省略されています)
発明の詳細な説明
【技術分野】
【0001】
本発明は絶縁車輪を完全絶縁と完全短絡とLPF短絡(部分短絡)に切替え可能な絶縁車輪絶縁・短絡切替え装置と、その切替え装置を備えた保線車両と、絶縁車輪の絶縁・短絡切替え方法に関する。
続きを表示(約 2,100 文字)
【背景技術】
【0002】
鉄道線路(レール:軌道)は保線車両を用いて保守作業が行われている。保守作業は、通常、夜間に行われる。踏切の保守作業も夜間に行われる。
【0003】
軌道には、踏切監視区域に列車が入ると、踏切の遮断機を降ろし、表示灯を点灯或いは点滅(以下「点灯」という。)させるための踏切制御信号(以下「遮断機・表示灯信号」という。)と、警報機を鳴らすための踏切制御信号(以下「警報機信号」という。)が流れている。遮断機・表示灯信号はDC~100Hz程度の低周波、警報機信号は8.5~10.5kHz程度の高周波であり、両信号は重畳されて流れている。
【0004】
営業列車の左右一対の車輪は、輪軸(車軸)で連結され、当該車軸を通して導通し、左右一対のレールが導通するようにしてあり、営業列車が踏切監視区域に入ると、軌道に流れている遮断機・表示灯信号と警報機信号が左右の車輪間に流れ、遮断機が降りて表示灯が点灯し、警報機が鳴るようにしてある。
【0005】
保線車両の車輪が営業列車の車輪と同じものであると、保線車両が踏切監視区域に入ったときも、踏切監視区域内で保守作業をしているときも、営業列車が通過する場合と同様の動作となり、遮断機が降り、表示灯が点灯し、警報機が鳴る。しかし、保線作業の多くは夜中に行われているため、夜中の保線作業中に警報機が鳴ると踏切付近の住民にとっては迷惑である。このため、保線車両には、内輪と外輪が絶縁材で絶縁されている絶縁車輪が装備されている。
【0006】
絶縁車輪が装備された保線車両は、踏切監視区域内の保線作業時は踏切内にとどまるが、踏切監視区域内にとどまらずに踏切を通過するだけの場合もある。絶縁車輪が絶縁状態のままでは、軌道を流れる遮断機・表示灯信号も警報機信号も流れないため、保線車両が踏切を通過しても遮断機が降りず、表示灯が点灯せず、警報機が鳴らず、踏切が通行止めにならない。これを解消するため、保線車両が踏切を通過するだけの場合は、絶縁車輪の内輪と外輪を短絡して左右一対の絶縁車輪が車軸を通して導通し、遮断機が降り、表示灯が点灯し、警報機が鳴って踏切の通行が遮断される完全短絡状態(営業列車が踏切を通過する場合と同様の状態)になり、踏切監視区域内にとどまって保線作業をするときは、絶縁車輪を部分短絡(LPF短絡)状態にして、遮断機が降り、表示灯が点灯し、警報機の鳴りが停止した状態になるようにしてある。保線車両が踏切を通過しないときや、踏切監視区域内にとどまらないときは、絶縁車輪は完全絶縁状態になっており、表示灯の点灯が停止し、遮断機が上がって踏切を通行できる状態になっている。これら、完全短絡状態、LPF短絡状態、完全絶縁状態に切り替える装置として特許文献1~4がある。
【0007】
特許文献1、2の絶縁・短絡切替え装置は、絶縁車輪の内輪と外輪を、台車側に装備された一次コイル(送電コイル)と車軸側に装備された二次コイル(受電コイル)の電磁誘導結合により誘起される電圧で接点を開閉して、完全短絡状態(通行止め)と完全絶縁状態(通行可能)に切り替えるものである。
【0008】
特許文献1、2の切替え装置を使用して完全絶縁状態にすれば、警報機が鳴らないので、踏切付近の住民に迷惑を掛けることなく、踏切付近及び踏切内で保線作業を行うことができるが、この状態では、踏切の遮断機が降りず、表示灯が点灯しないため、歩行者や自動車が踏切に侵入する恐れがあり、危険である。このため、踏切内作業時は完全短絡状態にするのではなく、遮断機は降り、表示灯は点灯するが、警報機だけが鳴らないようにする必要がある。
【0009】
特許文献3の切替え装置は、絶縁車輪の内輪と外輪を台車側に装備された送電コイルと車軸側に装備された受電コイルの電磁誘導結合により誘起される電圧で、左右一対の車輪間に設けた短絡回路のスイッチの接点を開閉し、閉時に絶縁車輪の内輪と外輪が短絡されて踏切が前記完全短絡状態になり、開時に内輪と外輪が短絡前の絶縁状態に戻って完全絶縁状態に切り替えられるようにしてある。更に、短絡回路にローパスフィルタ(LPF)を入れることにより、遮断機が降りて通行止めでき、表示灯は点灯するが、警報機は鳴らない状態(「LPF短絡」又は「部分短絡」という。)に切替え制御可能としたものである。この切替え装置を使用すれば静かで安全な状態で踏切内作業ができる。
【0010】
特許文献4の切替え装置は、本件出願人の出願であり、本件出願時には未公開であるが、特許文献1~3と同様に、完全短絡状態と完全絶縁状態に切替え可能であり、更に、台車と車軸の間隔が変動しても、送電コイルと受電コイル間で確実に誘起電圧を得ることができる。しかし、半導体スイッチを駆動できる電力を得ることはできるが、リレースイッチを駆動できる程の電力を得ることは困難である。
【先行技術文献】
【特許文献】
(【0011】以降は省略されています)
この特許をJ-PlatPat(特許庁公式サイト)で参照する
関連特許
日本信号株式会社
ホーム柵
1か月前
個人
車両及び走行システム
5か月前
日本信号株式会社
ホーム柵
1か月前
日本信号株式会社
検査装置
9か月前
近畿車輌株式会社
耐火床構造
16日前
日本信号株式会社
ホーム柵装置
6か月前
日本車輌製造株式会社
鉄道車両
8日前
保線機器整備株式会社
保線用カート
8か月前
川崎車両株式会社
鉄道車両用パネル
8か月前
日本信号株式会社
列車接近警報装置
2か月前
ナブテスコ株式会社
ホームドア装置
2か月前
近畿車輌株式会社
鉄道車両の床構造
10か月前
近畿車輌株式会社
鉄道車両の床構造
10か月前
近畿車輌株式会社
鉄道車両の床構造
10か月前
日本車輌製造株式会社
台車組立装置
4か月前
カヤバ株式会社
鉄道車両用制振装置
10か月前
株式会社東芝
台車搬送装置
12日前
日本信号株式会社
ホーム安全システム
6か月前
日本信号株式会社
ホームドア制御装置
3か月前
株式会社ダイフク
搬送車
4か月前
日本信号株式会社
踏切道監視システム
10か月前
日本ケーブル株式会社
索道の支索引留め装置
2か月前
日本信号株式会社
物体検知装置
6か月前
前川鉄工株式会社
ロープ駆動装置
11か月前
ヤマハ発動機株式会社
無人搬送車
6か月前
ヤマハ発動機株式会社
無人搬送車
6か月前
ヤマハ発動機株式会社
無人搬送車
4か月前
株式会社ダイフク
搬送設備
5か月前
ヤマハ発動機株式会社
無人搬送車
6か月前
シャープ株式会社
表示装置
11か月前
株式会社日立製作所
鉄道車両
20日前
日本製鉄株式会社
鉄道車両
7か月前
日本製鉄株式会社
鉄道車両
7か月前
株式会社京三製作所
車上装置
7か月前
日本車輌製造株式会社
車両用ヒップレスト
1か月前
日本信号株式会社
自動列車運転装置
2か月前
続きを見る
他の特許を見る