TOP
|
特許
|
意匠
|
商標
特許ウォッチ
Twitter
他の特許を見る
公開番号
2025142922
公報種別
公開特許公報(A)
公開日
2025-10-01
出願番号
2024042546
出願日
2024-03-18
発明の名称
グリル及び加熱調理器
出願人
リンナイ株式会社
代理人
個人
,
個人
主分類
A47J
37/06 20060101AFI20250924BHJP(家具;家庭用品または家庭用設備;コーヒーひき;香辛料ひき;真空掃除機一般)
要約
【課題】加熱庫の清掃性に優れるグリルを提供する。
【解決手段】加熱庫20と、扉体21と、被加熱物の上面を加熱する上加熱手段22と、一対の側壁部203の外側にそれぞれ配設され、各側壁部203の外方から加熱庫20内に向かって赤外線を放射して、被加熱物の下面または側面を加熱する赤外線放射部230を有する一対の下加熱手段23と、加熱庫20内の排気ガスを排気口301から加熱庫20外に排気する排気ダクト30とを備えるグリル2において、各側壁部203は各下加熱手段23の赤外線放射部230に対向する領域に側方開口部24を有し、側方開口部24は各下加熱手段23の赤外線放射部230から放射される赤外線が透過する側方透過部26で覆われている。
【選択図】図4
特許請求の範囲
【請求項1】
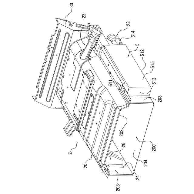
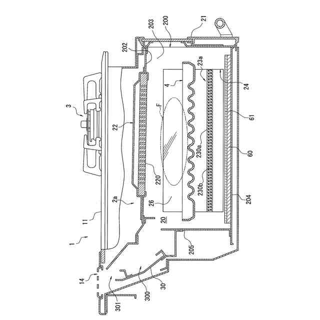
上壁部、一対の側壁部、底壁部、後壁部、及び前方に開口する前方開口部を有し、被加熱物を収納可能な矩形箱状の加熱庫と、
加熱庫の前方開口部を前方から開閉可能な扉体と、
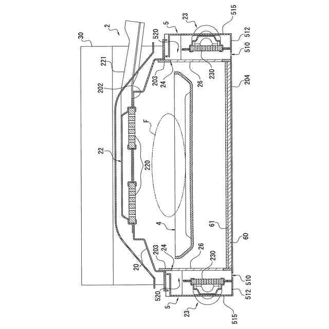
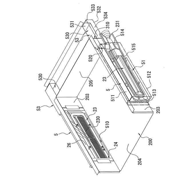
加熱庫の一対の側壁部の外側にそれぞれ配設され、各側壁部の外方から加熱庫内に向かって赤外線を放射して、被加熱物の下面または側面を加熱する赤外線放射部を有する一対の下加熱手段と、
加熱庫に連設され、加熱庫内の排気ガスを加熱庫外に排気する排気口と連通する排気通路を構成する排気ダクトと、を備え、
各側壁部は、各下加熱手段の赤外線放射部に対向する領域に側方開口部を有し、
各側壁部の側方開口部は、各下加熱手段の赤外線放射部から放射される赤外線が透過する側方透過部で覆われているグリル。
続きを表示(約 800 文字)
【請求項2】
請求項1に記載のグリルにおいて、
一対の下加熱手段の赤外線放射部をそれぞれ、外方から覆う一対のカバー体を有し、
各カバー体は、各カバー体の下方領域または前方領域であって、各側壁部の側方開口部近傍に設けられた第1開口と、各カバー体の上方領域または後方領域であって、第1開口よりも上方に設けられた第2開口とを有するグリル。
【請求項3】
請求項2に記載のグリルにおいて、
各カバー体は、第2開口を介して排気ダクトと連通するように構成されているグリル。
【請求項4】
請求項1~3のいずれか1項に記載のグリルにおいて、
加熱庫の底壁部は、少なくとも各側壁部の側方開口部近傍に各下加熱手段の赤外線放射部から側方透過部を透過して加熱庫内に放射される赤外線を被加熱物に向かって反射させる底反射部を有するグリル。
【請求項5】
請求項4に記載のグリルにおいて、
底反射部は、赤外線を透過する底透過部で覆われているグリル。
【請求項6】
請求項1~3のいずれか1項に記載のグリルにおいて、
各下加熱手段は、供給される燃料ガスを燃焼させることにより赤外線を放射する燃焼板を有する表面燃焼式のバーナからなるグリル。
【請求項7】
請求項1~3のいずれか1項に記載のグリルにおいて、
各下加熱手段は、電力を供給することにより赤外線を放射する発熱体を有するヒータからなるグリル。
【請求項8】
請求項7に記載のグリルにおいて、
各側壁部の外側に配設され、ヒータの発熱体から放射される赤外線を加熱庫内に向かって反射させる側方反射部を有するグリル。
【請求項9】
請求項1~3のいずれか1項に記載のグリルを備える加熱調理器。
発明の詳細な説明
【技術分野】
【0001】
本発明は、グリル及び加熱調理器に関する。
続きを表示(約 1,600 文字)
【背景技術】
【0002】
従来、加熱庫の左右の側壁部の内側下部にブンゼンバーナからなる一対の下火バーナを配設し、これらの下火バーナの炎孔から加熱庫の左右中央部に向かって噴出される燃焼排気により被加熱物の下面や側面を加熱するグリルを備えた加熱調理器が知られている。この種の加熱調理器では、各側壁部の下部に開設された空気導入口の上下に、各側壁部の内壁面から加熱庫の内方に向かって延びる二次空気案内板を設けることによって加熱庫の外部から各下火バーナの炎孔周辺に二次空気を導き、二次空気流により炎孔から噴出される燃焼排気を加熱庫の左右中央部まで飛ばすようにしている(例えば、特許文献1)。
【先行技術文献】
【特許文献】
【0003】
特開2015-19827号公報
【発明の概要】
【発明が解決しようとする課題】
【0004】
ところで、グリルを使用した加熱調理では、加熱庫内に食材からの油脂や油煙などが飛散し、加熱庫内が汚れるため、使用者が加熱庫内を掃除する必要がある。
【0005】
しかしながら、特許文献1のようなグリルでは、下火バーナや二次空気案内板などの加熱庫内に突出する部品が多くなるため、清掃が必要な箇所に使用者の手が届き難く、清掃性に劣るという問題がある。
【0006】
本発明は上記課題を解決するものであり、本発明の目的は、加熱庫内の清掃性に優れるグリル及び当該グリルを備える加熱調理器を提供することにある。
【課題を解決するための手段】
【0007】
本技術の第1の態様によれば、
上壁部、一対の側壁部、底壁部、後壁部、及び前方に開口する前方開口部を有し、被加熱物を収納可能な矩形箱状の加熱庫と、
加熱庫の前方開口部を前方から開閉可能な扉体と、
加熱庫の一対の側壁部の外側にそれぞれ配設され、各側壁部の外方から加熱庫内に向かって赤外線を放射して、被加熱物の下面または側面を加熱する赤外線放射部を有する一対の下加熱手段と、
加熱庫に連設され、加熱庫内の排気ガスを加熱庫外に排気する排気口と連通する排気通路を構成する排気ダクトと、を備え、
各側壁部は、各下加熱手段の赤外線放射部に対向する領域に側方開口部を有し、
各側壁部の側方開口部は、各下加熱手段の赤外線放射部から放射される赤外線が透過する側方透過部で覆われているグリルが提供される。
【0008】
上記第1の態様によれば、下加熱手段は側方透過部によって加熱庫内の調理空間と分離されているから、下加熱手段やその周辺部品への油脂や油煙などの汚れの付着を防止できる。また、上記第1の態様によれば、加熱庫内に突出する部品を低減できる。これにより、加熱庫の清掃性を向上させることができる。
【0009】
本技術の第2の態様によれば、上記第1の態様において、
一対の下加熱手段の赤外線放射部をそれぞれ、外方から覆う一対のカバー体を有し、
各カバー体は、各カバー体の下方領域または前方領域であって、各側壁部の側方開口部近傍に設けられた第1開口と、各カバー体の上方領域または後方領域であって、第1開口よりも上方に設けられた第2開口とを有する。
【0010】
上記第2の態様によれば、下加熱手段による加熱を行ったときに生ずるドラフト効果によって、カバー体内が負圧になり、第1開口を介してカバー体外からカバー体内に取り込まれた空気が第2開口を介してカバー体外に排気される冷却空気の流路がカバー体内に形成される。これにより、側方透過部を冷却することができ、側方透過部の温度上昇を抑制して、耐久性を向上させることができる。
(【0011】以降は省略されています)
この特許をJ-PlatPat(特許庁公式サイト)で参照する
関連特許
リンナイ株式会社
加熱調理装置
5日前
リンナイ株式会社
グリル及び加熱調理器
3日前
リンナイ株式会社
衣類乾燥機監視システム及び衣類乾燥機
5日前
個人
椅子
1か月前
個人
家具
2か月前
個人
掃除機
7か月前
個人
自助箸
5か月前
個人
ハンガー
5か月前
個人
枕
3か月前
個人
ソファー
15日前
個人
体洗い具
8か月前
個人
枕
7か月前
個人
耳拭き棒
9か月前
個人
掃除道具
7か月前
個人
屋外用箒
5か月前
個人
掃除用具
2か月前
個人
エコ掃除機
10か月前
個人
掃除シート
7か月前
個人
収納型額縁
12か月前
個人
組立式棚板
5か月前
個人
開閉トング
4か月前
個人
省煙消臭器
7か月前
個人
片手代替具
9か月前
個人
物品
1か月前
個人
経典表示装置
3か月前
個人
紙コップ 蓋
24日前
個人
折り畳み椅子
11か月前
個人
中身のない枕
5か月前
個人
ゴミ袋保持枠
5か月前
個人
転倒防止装置
3か月前
個人
シャワー装置
4か月前
個人
靴ベラ
24日前
個人
洗面台
9か月前
個人
受け皿
4か月前
個人
食事用具
11か月前
個人
ホバー掃除機。
4か月前
続きを見る
他の特許を見る