TOP
|
特許
|
意匠
|
商標
特許ウォッチ
Twitter
他の特許を見る
公開番号
2025142868
公報種別
公開特許公報(A)
公開日
2025-10-01
出願番号
2024042462
出願日
2024-03-18
発明の名称
3相モータ、及び圧縮機
出願人
株式会社富士通ゼネラル
代理人
弁理士法人南青山国際特許事務所
主分類
H02K
3/46 20060101AFI20250924BHJP(電力の発電,変換,配電)
要約
【課題】端子用のハウジングがインシュレータに一体的に形成された3相モータにおいて、互いに異なる相である中性線とコイルとの間の絶縁性を適切に確保することができる3相モータ及び圧縮機を提供する。
【解決手段】本発明の一形態に係る3相モータは、3n(nは2以上の自然数)個のティース部を有するステータコアと環状に形成された外壁部と外壁部から内側に突出する3n個の巻胴部とを有するインシュレータと前記巻胴部を介して前記ティース部に導線が巻回されることで形成された3n個のコイルと3相の各相の前記コイルのそれぞれから延びる3本の中性線同士を接続する端子とを有する3相モータであって、インシュレータは前記端子が収容される収容部が形成され、前記3本の中性線のそれぞれは外壁部から外径側に引き出された外周側導線部と外壁部から内径側に引き込まれた内周側導線部とを含み、内周側導線部の一端が前記端子と電気的に接続される。
【選択図】図3
特許請求の範囲
【請求項1】
3n(nは2以上の自然数)個のティース部を有するステータコアと、環状に形成された外壁部と前記外壁部から内側に突出する3n個の巻胴部とを有するインシュレータと、前記巻胴部を介して前記ティース部に導線が巻回されることで形成された3n個のコイルと、3相の各相の前記コイルのそれぞれから延びる3本の中性線同士を接続する端子とを有する3相モータであって、
前記インシュレータは、前記端子が収容される収容部が形成され、
前記3本の中性線のそれぞれは、前記外壁部から外径側に引き出された外周側導線部と、前記外壁部から内径側に引き込まれた内周側導線部とを含み、前記内周側導線部の一端が前記端子と電気的に接続される
3相モータ。
続きを表示(約 1,600 文字)
【請求項2】
請求項1に記載の3相モータであって、
前記インシュレータは、前記3本の中性線のそれぞれを前記インシュレータの外周側に引き出すための引出部と、前記引出部によって前記外周側に引き出された3相の前記中性線のそれぞれを前記インシュレータの内周側に引き込むための引込部とを有する
3相モータ。
【請求項3】
請求項2に記載の3相モータであって、
円周方向に隣り合う3つの前記ティース部を、前記円周方向に並ぶ順番に第1ティース部と、第2ティース部と、第3ティース部としたとき、
前記端子に接続される前記3本の中性線は、前記第1ティース部に巻回された前記コイルから延びる第1中性線と、前記第2ティース部に巻回された前記コイルから延びる第2中性線と、前記第3ティース部に巻回された前記コイルから延びる第3中性線と、であり、
少なくとも1つの前記引込部は、前記第1中性線と前記第2中性線と前記第3中性線とのうちの2つの前記中性線が通過する
3相モータ。
【請求項4】
請求項1に記載の3相モータであって、
円周方向に隣り合う3つの前記ティース部を、前記円周方向に並ぶ順番に第1ティース部と、第2ティース部と、第3ティース部としたとき、
前記端子に接続される前記3本の中性線は、前記第1ティース部に巻回された前記コイルから延びる第1中性線と、前記第2ティース部に巻回された前記コイルから延びる第2中性線と、前記第3ティース部に巻回された前記コイルから延びる第3中性線と、であり、
前記3相モータの回転軸方向から見たとき、前記収容部に収容される前記端子は、当該端子の全体が、前記第2ティース部に巻回された前記コイルと前記回転軸に直交する径方向で重なるように配置される
3相モータ。
【請求項5】
請求項1に記載の3相モータであって、
前記収容部は、前記端子に対して前記3相モータの回転軸に直交する径方向の内側に位置する内径側側壁と、前記端子に対して前記3相モータの前記回転軸に直交する径方向外側に位置する外径側側壁とを有し、前記内径側側壁と前記外径側側壁のそれぞれに前記中性線が通される中性線通過部が形成され、
前記中性線は、前記外径側側壁よりも径方向外側の位置で切断される
3相モータ。
【請求項6】
請求項2に記載の3相モータであって、
前記インシュレータは、前記中性線の前記外周側導線部が前記インシュレータから脱落するのを防止する脱落防止部が形成され、
前記脱落防止部は、前記円周方向で前記引出部と前記引込部との間に形成される
3相モータ。
【請求項7】
請求項2に記載の3相モータであって、
前記引込部は、前記中性線が通過するスリットであり、
前記スリットの底面は、高さ方向で前記コイルとは重ならない位置になるように形成されている
3相モータ。
【請求項8】
請求項7に記載の3相モータであって、
前記収容部は、前記端子に対して前記3相モータの回転軸に直交する径方向内側に位置する内径側側壁と、前記端子に対して前記3相モータの回転軸まわりの径方向の外側に位置する外径側側壁とを有し、前記内径側側壁と前記外径側側壁のそれぞれに前記中性線が通される中性線通過部が形成され、
前記スリットの底面は、前記中性線通過部の底面と前記高さ方向で略同じ高さに位置している
3相モータ。
【請求項9】
請求項1~8のいずれか1項に記載の3相モータと、
前記3相モータを内部に収容する圧縮機本体容器と、
前記圧縮機本体容器の内部に収容されるとともに前記3相モータにより駆動される圧縮機構部と
を備える圧縮機。
発明の詳細な説明
【技術分野】
【0001】
本発明は、端子用のハウジングが一体となったインシュレータを備えるモータに関する。
続きを表示(約 1,800 文字)
【背景技術】
【0002】
従来、環状のヨーク部とヨーク部から径方向へ延びる複数のティース部を有したステータコアと、ステータコアに取り付けられたインシュレータと、インシュレータを介してティース部に導線が巻回されたことで形成された複数のコイルと、を備え、各コイルから延びる中性線が並列結線された3相モータが知られている。並列結線で結線された3相モータの製造工程では、コイルの形成後に各コイルから延びる中性線の結線処理を行う必要がある。
【0003】
このような3相モータとして、端子用のハウジングがインシュレータと一体的に形成されたものがある。例えば、先行技術文献1に記載の3相モータは、ハウジング内に引き込まれた3本の中性線(3相の各相の中性線)が、ハウジング内に挿し込まれる圧着端子によって互いに導通されることで、中性点が形成されている。
【先行技術文献】
【特許文献】
【0004】
特開2016-063564号公報
【発明の概要】
【発明が解決しようとする課題】
【0005】
しかし、上述した先行技術文献1に記載の3相モータでは、ハウジング内に引き込まれる3本の中性線のうちのV相の中性線が異なる相であるW相のコイルと接近する箇所が生じる(先行技術文献1の図5を参照)。また、コイルから引き出されたV相(+W相)の中性線が直にハウジング内に引き込まれるため、V相の中性線が弛みやすく、異なる相のコイルとの絶縁距離を確保できない恐れがある。そのため、異なる相であるV相の中性線とW相のコイルとの間で電位差による部分放電が発生してしまう恐れがあるという問題があった。
【0006】
以上のような事情に鑑み、本発明の目的は、端子用のハウジングがインシュレータに一体的に形成された3相モータにおいて、互いに異なる相である中性線とコイルとの間の絶縁性を適切に確保することができる、3相モータ及び圧縮機を提供することにある。
【課題を解決するための手段】
【0007】
本発明の一形態に係る3相モータは、3n(nは2以上の自然数)個のティース部を有するステータコアと、環状に形成された外壁部と前記外壁部から内側に突出する3n個の巻胴部とを有するインシュレータと、前記巻胴部を介して前記ティース部に導線が巻回されることで形成された3n個のコイルと、3相の各相の前記コイルのそれぞれから延びる3本の中性線同士を接続する端子とを有する3相モータであって、
前記インシュレータは、前記端子が収容される収容部が形成され、
前記3本の中性線のそれぞれは、前記外壁部から外径側に引き出された外周側導線部と、前記外壁部から内径側に引き込まれた内周側導線部とを含み、前記内周側導線部の一端が前記端子と電気的に接続される。
【0008】
上記3相モータは、前記端子が収容される収容部が形成されるインシュレータを有し、3本の中性線のそれぞれは、前記外壁部から外径側に引き出された外周側導線部と、前記外壁部から内径側に引き込まれた内周側導線部とを含み、前記内周側導線部の一端が前記端子と電気的に接続される。これにより、端子用のハウジングがインシュレータに一体的に形成された3相モータにおいて、互いに異なる相である中性線とコイルとの間の絶縁性を適切に確保することができる。
【0009】
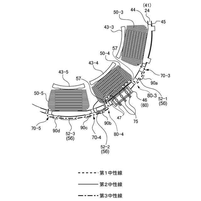
前記インシュレータは、前記3本の中性線のそれぞれを前記インシュレータの外周側に引き出すための引出部と、前記引出部によって前記外周側に引き出された3相の前記中性線のそれぞれを前記インシュレータの内周側に引き込むための引込部とを有してもよい。
【0010】
円周方向に隣り合う3つの前記ティース部を、前記円周方向に並ぶ順番に第1ティース部と、第2ティース部と、第3ティース部としたとき、前記端子に接続される前記3本の中性線は、前記第1ティース部に巻回された前記コイルから延びる第1中性線と、前記第2ティース部に巻回された前記コイルから延びる第2中性線と、前記第3ティース部に巻回された前記コイルから延びる第3中性線と、であり、少なくとも1つの前記引込部は、前記第1中性線と前記第2中性線と前記第3中性線とのうちの2つの前記中性線が通過してもよい。
(【0011】以降は省略されています)
この特許をJ-PlatPat(特許庁公式サイト)で参照する
関連特許
株式会社富士通ゼネラル
熱交換器
1日前
株式会社富士通ゼネラル
熱交換器
8日前
株式会社富士通ゼネラル
ロータリ圧縮機
2日前
株式会社富士通ゼネラル
モータ、及び圧縮機
2日前
株式会社富士通ゼネラル
空気調和機の室外機
2日前
株式会社富士通ゼネラル
空気調和機の室外機
4日前
株式会社富士通ゼネラル
3相モータ、及び圧縮機
2日前
株式会社富士通ゼネラル
モータ制御装置およびモータ制御方法
2日前
個人
電源装置
15日前
個人
永久磁石モーター
1か月前
個人
バッテリ内蔵直流電源
14日前
株式会社FUJI
制御盤
4日前
オムロン株式会社
電源回路
8日前
オムロン株式会社
電源回路
8日前
オムロン株式会社
電源回路
8日前
トヨタ自動車株式会社
回転子
15日前
エイブリック株式会社
バッテリ装置
1か月前
ニデック株式会社
モータの制御方法
22日前
日産自動車株式会社
電子機器
25日前
ミサワホーム株式会社
居住設備
4日前
東京応化工業株式会社
発電装置
8日前
井関農機株式会社
充電システム
25日前
トヨタ自動車株式会社
溶接装置
28日前
大豊工業株式会社
モータ
14日前
株式会社リコー
拡張アンテナ装置
7日前
三菱ケミカル株式会社
電池
1か月前
ユタカ電業株式会社
ケーブルダクト
4日前
愛知電機株式会社
巻線方法および巻線装置
1か月前
トヨタ自動車株式会社
ロータ
2日前
日産自動車株式会社
ステータ
1日前
富士電子工業株式会社
電力変換装置
16日前
株式会社正興電機製作所
地絡確認装置
7日前
株式会社大林組
可搬式充電設備
1日前
株式会社ダイヘン
電力管理装置
23日前
株式会社アイシン
直流回転電機
28日前
株式会社ダイヘン
電力変換装置
1か月前
続きを見る
他の特許を見る