TOP
|
特許
|
意匠
|
商標
特許ウォッチ
Twitter
他の特許を見る
公開番号
2025140041
公報種別
公開特許公報(A)
公開日
2025-09-29
出願番号
2024039187
出願日
2024-03-13
発明の名称
空気調和機の室外機
出願人
株式会社富士通ゼネラル
代理人
個人
,
個人
主分類
F24F
1/12 20110101AFI20250919BHJP(加熱;レンジ;換気)
要約
【課題】電装品箱とターミナル部との距離が離れて電源線が長くなる場合であっても、電源線の動きを規制して電源線が熱による損傷を受ける部材に接触するのを防止することができる空気調和機の室外機を提供する。
【解決手段】筐体2内部に、圧縮機16と、圧縮機の駆動に起因する騒音を低減する騒音低減部材25と、圧縮機に駆動電力を供給する電装品箱21と、電装品箱と圧縮機に設けたターミナル部20とを接続する電源線22と、を有し、騒音低減部材は、圧縮機と対応する位置に配置され、電源線が挿通されて電源線の動きを規制する規制部31,32を備えている。
【選択図】図5
特許請求の範囲
【請求項1】
筐体内部に、圧縮機と、前記圧縮機の駆動に起因する騒音を低減する騒音低減部材と、前記圧縮機に駆動電力を供給する電装品箱と、前記電装品箱と前記圧縮機に設けたターミナル部とを接続する電源線と、を有し、
前記騒音低減部材は、前記圧縮機と対応する位置に配置され、前記電源線が挿通されて電源線の動きを規制する規制部を備えていることを特徴とする空気調和機の室外機。
続きを表示(約 690 文字)
【請求項2】
前記規制部は、前記騒音低減部材の2つの異なる端面からそれぞれ前記騒音低減部材の内部に向って切り込まれた2つのスリットであることを特徴とする請求項1記載の空気調和機の室外機。
【請求項3】
前記電源線は、前記ターミナル部から前記2つのスリットの一方を通って前記騒音低減部材の外部に引き出された後、前記2つのスリットの他方を通って前記騒音低減部材の前記外部から内部に引き込まれるようにしたことを特徴とする請求項2記載の空気調和機の室外機。
【請求項4】
前記2つのスリットは、前記騒音低減部材に設けた互いに交差する2つの端面からそれぞれ内部に向って切り込まれて形成されていることを特徴とする請求項2又は3記載の空気調和機の室外機。
【請求項5】
前記2つのスリットの一方は、当該スリットが形成される前記端面に略垂直に切り込まれた第1切り込み部と、当該第1切り込み部から連続して当該第1切り込み部に略垂直にかつ前記2つのスリットの他方に向って切り込まれた第2切り込み部と、を有していることを特徴とする請求項2又は3記載の空気調和機の室外機。
【請求項6】
前記2つのスリットの終点に、前記電源線の外形寸法に応じた寸法の保持孔が形成されていることを特徴とする請求項2又は3記載の空気調和機の室外機。
【請求項7】
前記圧縮機には冷媒配管が接続されており、前記2つのスリットの終点の間に、前記冷媒配管が配置されるようにしたことを特徴とする請求項2又は3記載の空気調和機の室外機。
発明の詳細な説明
【技術分野】
【0001】
本発明は、空気調和機の室外機に関する。
続きを表示(約 1,600 文字)
【背景技術】
【0002】
空気調和機は、一般的に室内に設置される室内機と室外に設置される室外機とから構成され、これら室内機および室外機を冷媒配管で接続して構成される冷媒回路を冷媒が循環することで室内の温度や湿度を調節する。
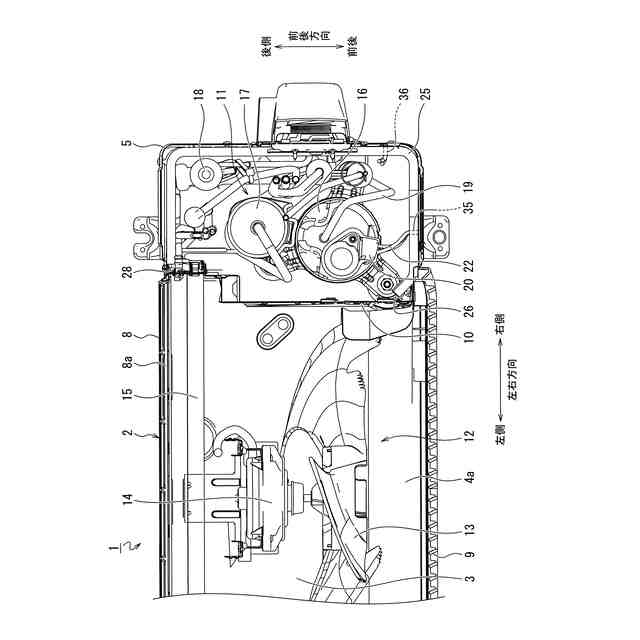
室外機の機械室には、冷媒回路に接続されて冷媒を循環させる圧縮機、圧縮機の騒音を低減するために圧縮機の外周に巻き付けている吸音材、圧縮機より上方に位置している電装品箱、電装品箱と圧縮機の間に位置しているリアクタなどが配置されている。圧縮機には、ターミナル部が設けられており、電装品箱に格納されている電力基板からターミナル部に電源線が接続されて圧縮機に駆動電力が供給されるようになっている。
【0003】
ところで、圧縮機の外周に巻き付けている吸音材に水平の切り込みを入れ、ターミナル部に接続されている電源線を切り込みから吸音材の外側に引き出すことで、振動する圧縮機の近傍に電源線が配置されており圧縮機が振動することによって電源線に圧縮機が周期的に当たることで電源線の被膜が損傷することを防止する技術が知られている(例えば特許文献1)。
【先行技術文献】
【特許文献】
【0004】
特開2000-199482号公報
【発明の概要】
【発明が解決しようとする課題】
【0005】
しかし、電装品箱とターミナル部との距離が離れて電源線が長くなっている場合には、特許文献1のようにターミナル部から引き出された電源線の一部を吸音材で保持するだけでは電源線を十分に固定できず、例えば電源線がリアクタに接触してしまうことがある。リアクタは動作時に高温となるため、電源線がリアクタに接触すると、電源線の被膜がリアクタの熱により損傷を受けるおそれがある。
【0006】
本発明は、このような課題を解決するためになされたものであり、電装品箱とターミナル部との距離が離れることで電源線が長くなる場合であっても、電源線の動きを規制して電源線が熱による損傷を受ける部材に接触するのを防止することができる空気調和機の室外機を提供することを目的としている。
【課題を解決するための手段】
【0007】
発明の一態様は、筐体内部に、圧縮機と、圧縮機の駆動に起因する騒音低減部材と、圧縮機に駆動電力を供給する電装品箱と、電装品箱と前記圧縮機に設けたターミナル部とを接続する電源線と、を有し、騒音低減部材は、圧縮機と対応する位置に配置され、電源線が挿通されて電源線の動きを規制する規制部を備えている。
【発明の効果】
【0008】
本発明の空気調和機の室外機によれば、電装品箱とターミナル部との距離が離れて電源線が長くなる場合であっても、電源線の動きを規制して電源線が熱による損傷を受ける部材に接触するのを防止することができる。
【図面の簡単な説明】
【0009】
本発明に係る室外機の外観を示す斜視図である。
本発明に係る室外機の内部の要部を平面視で示した断面図である。
本発明に係る室外機の機械室の機器を示した斜視図である。
本発明に係る騒音低減部材の形状を示す図である。
本発明に係る室外機の機械室に騒音低減部材を配置した状態を示す斜視図である。
【発明を実施するための形態】
【0010】
次に、図面を参照して、本発明に係る実施形態を説明する。以下の図面の記載において、同一の部分には同一符号を付す。ただし、図面は模式的なものであり、厚さと平面寸法との関係、各層の厚さの比率等は現実のものとは異なることに留意すべきである。したがって、具体的な厚さや寸法は以下の説明を参酌して判断すべきものである。また、図面相互間においても互いの寸法の関係や比率が異なる部分が含まれていることはもちろんである。
(【0011】以降は省略されています)
この特許をJ-PlatPat(特許庁公式サイト)で参照する
関連特許
株式会社コロナ
空調装置
2か月前
株式会社コロナ
空調装置
16日前
株式会社コロナ
加湿装置
26日前
株式会社コロナ
空調装置
1か月前
株式会社コロナ
空調装置
6日前
株式会社コロナ
給湯装置
2か月前
株式会社コロナ
風呂給湯機
1か月前
株式会社コロナ
空気調和機
1か月前
株式会社コロナ
空気調和機
2か月前
個人
太陽光パネル傾斜装置
1日前
個人
住宅換気空調システム
1か月前
株式会社コロナ
暖房システム
16日前
株式会社コロナ
貯湯式給湯機
20日前
株式会社コロナ
直圧式給湯機
1か月前
株式会社コロナ
貯湯式給湯機
12日前
ホーコス株式会社
排気フード
2か月前
三菱電機株式会社
換気扇
今日
三菱電機株式会社
換気扇
今日
株式会社コロナ
輻射式冷房装置
1か月前
ホーコス株式会社
換気扇取付枠
1か月前
三菱電機株式会社
換気扇
今日
三菱電機株式会社
送風装置
2か月前
株式会社コロナ
開放式燃焼暖房機
2か月前
株式会社ノーリツ
給湯装置
5日前
個人
籾殻(そば殻)燃焼ストーブ
1か月前
株式会社ツインバード
加熱調理器
26日前
株式会社パロマ
湯沸器
16日前
株式会社コロナ
壁掛式石油給湯装置
1か月前
大阪瓦斯株式会社
加熱調理器
1か月前
オリオン機械株式会社
空調装置
今日
個人
小型壁掛け貯湯タンクの利用方法
1か月前
ミサワホーム株式会社
目隠し体
8日前
株式会社西部技研
外気処理空気調和機
1か月前
オリオン機械株式会社
空調装置
今日
三機工業株式会社
空調システム
16日前
東亜事業協同組合
空調システム
今日
続きを見る
他の特許を見る