TOP
|
特許
|
意匠
|
商標
特許ウォッチ
Twitter
他の特許を見る
公開番号
2025142844
公報種別
公開特許公報(A)
公開日
2025-10-01
出願番号
2024042429
出願日
2024-03-18
発明の名称
電磁波透過性積層体
出願人
豊田合成株式会社
代理人
個人
,
個人
主分類
B32B
7/025 20190101AFI20250924BHJP(積層体)
要約
【課題】積層体の電磁波透過性を高めつつ、外観色の自由度を高めることができる。
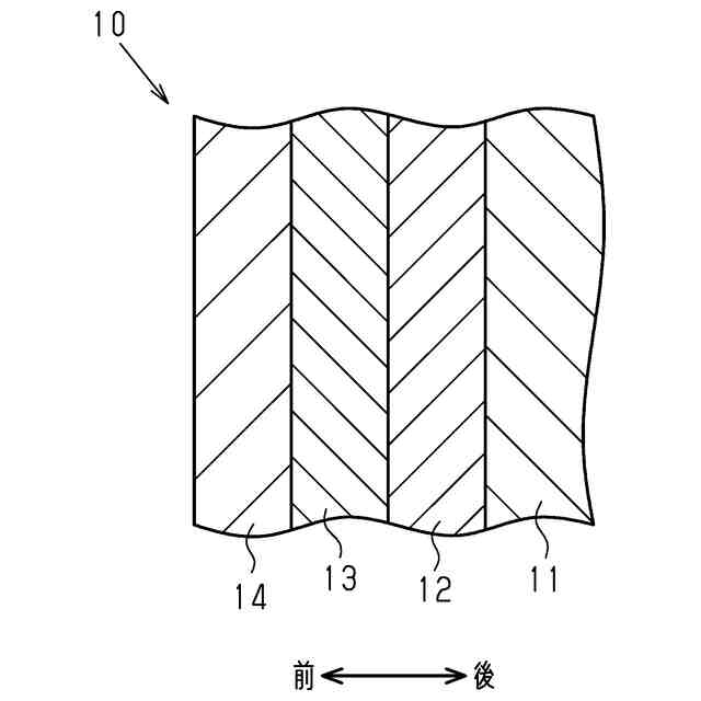
【解決手段】積層体10は、電磁波透過性を有するものであり、合成樹脂製の基材11と、基材11に積層された発色層13とを備えている。発色層13の比誘電率が、3.1以上、66.7以下である。積層体10の実効誘電率が、基材11の比誘電率よりも大きく、且つ3.0以下である。
【選択図】図2
特許請求の範囲
【請求項1】
電磁波透過性を有する積層体であって、
合成樹脂製の基材と、
前記基材に積層された発色層と、を備えており、
前記発色層の比誘電率が、3.1以上、66.7以下であり、
前記積層体の実効誘電率が、前記基材の比誘電率よりも大きく、且つ3.0以下である、
電磁波透過性積層体。
続きを表示(約 94 文字)
【請求項2】
前記基材の上には、プライマー層が積層されており、
前記発色層は、前記プライマー層の上に積層されている、
請求項1に記載の電磁波透過性積層体。
発明の詳細な説明
【技術分野】
【0001】
本発明は、電磁波透過性積層体に関する。
続きを表示(約 1,300 文字)
【背景技術】
【0002】
特許文献1には、レーダ装置のビーム経路内に設けられる自動車フロントグリル(以下、フロントグリルという)が開示されている。特許文献1に開示のフロントグリルは、合成樹脂製の基体と、基体の外面を覆う窒化チタン層と、窒化チタン層を覆う窒化アルミニウム層とを有しており、ミリ波透過性を有している。窒化チタン層や窒化アルミニウム層の比誘電率は、基体の比誘電率と略同じに設定されている。なお、合成樹脂製の基体の比誘電率は、3.0以下である。
【先行技術文献】
【特許文献】
【0003】
特許第4158646号公報
【発明の概要】
【発明が解決しようとする課題】
【0004】
ところで、自動車などにおいて使用されているカラーリング用塗料には、金属フィラーなどが含有されている。金属フィラーなどを含む塗膜の比誘電率は、3.0よりも大きい。このことから、金属フィラーなどを含む塗膜を有するフロントグリルでは、電磁波透過性を確保することが難しいと考えられている。
【課題を解決するための手段】
【0005】
上記課題を解決するための電磁波透過性積層体の各態様を記載する。
[態様1]
電磁波透過性を有する積層体であって、
合成樹脂製の基材と、
前記基材に積層された発色層と、を備えており、
前記発色層の比誘電率が、3.1以上、66.7以下であり、
前記積層体の実効誘電率が、前記基材の比誘電率よりも大きく、且つ3.0以下である、
電磁波透過性積層体。
【0006】
本願発明者は、積層体の実効誘電率が、基材の比誘電率よりも大きく、且つ3.0以下であれば、発色層の比誘電率が、3.1以上、66.7以下であっても積層体における電磁波の反射減衰量が-18dB以下になることを見出した。実効誘電率とは、積層体全体の厚みを考慮した比誘電率である。したがって、上記構成によれば、積層体の電磁波透過性を高めつつ、外観色の自由度を高めることができる。
【0007】
[態様2]
前記基材の上には、プライマー層が積層されており、
前記発色層は、前記プライマー層の上に積層されている、
態様1に記載の電磁波透過性積層体。
【0008】
同構成によれば、発色層が、基材上に積層されたプライマー層上に積層されているので、基材と発色層との密着性を高めることができる。
【発明の効果】
【0009】
本発明によれば、積層体の電磁波透過性を高めつつ、外観色の自由度を高めることができる。
【図面の簡単な説明】
【0010】
図1は、一実施形態の積層体とミリ波レーダ装置との位置関係を示す断面図である。
図2は、図1の積層体の層構成を示す断面図である。
【発明を実施するための形態】
(【0011】以降は省略されています)
この特許をJ-PlatPat(特許庁公式サイト)で参照する
関連特許
豊田合成株式会社
殺菌装置
24日前
豊田合成株式会社
発光素子
1か月前
豊田合成株式会社
表示装置
1か月前
豊田合成株式会社
操作装置
1か月前
豊田合成株式会社
着座装置
26日前
豊田合成株式会社
ガラスラン
10日前
豊田合成株式会社
半導体素子
1か月前
豊田合成株式会社
ガラスラン
17日前
豊田合成株式会社
ガラスラン
10日前
豊田合成株式会社
車両用内装品
12日前
豊田合成株式会社
車両用内装品
12日前
豊田合成株式会社
乗員保護装置
10日前
豊田合成株式会社
樹脂成形装置
18日前
豊田合成株式会社
流体殺菌装置
24日前
豊田合成株式会社
流体殺菌装置
24日前
豊田合成株式会社
車両用外装品
1か月前
豊田合成株式会社
車両用外装品
1か月前
豊田合成株式会社
車両用外装品
10日前
豊田合成株式会社
車載照明装置
1か月前
豊田合成株式会社
機器制御装置
10日前
豊田合成株式会社
流体殺菌装置
1か月前
豊田合成株式会社
乗員保護装置
4日前
豊田合成株式会社
流体殺菌装置
1か月前
豊田合成株式会社
流体殺菌装置
1か月前
豊田合成株式会社
電動液体ポンプ
10日前
豊田合成株式会社
空調用レジスタ
11日前
豊田合成株式会社
エアバッグ装置
4日前
豊田合成株式会社
空調用レジスタ
11日前
豊田合成株式会社
空調用レジスタ
11日前
豊田合成株式会社
電動液体ポンプ
10日前
豊田合成株式会社
立体エアバッグ
25日前
豊田合成株式会社
車両の前部構造
1か月前
豊田合成株式会社
ミスト噴射装置
1か月前
豊田合成株式会社
電動液体ポンプ
10日前
豊田合成株式会社
電動液体ポンプ
10日前
豊田合成株式会社
電動液体ポンプ
10日前
続きを見る
他の特許を見る