TOP
|
特許
|
意匠
|
商標
特許ウォッチ
Twitter
他の特許を見る
公開番号
2025142510
公報種別
公開特許公報(A)
公開日
2025-10-01
出願番号
2024041915
出願日
2024-03-18
発明の名称
送電装置及び受電装置
出願人
本田技研工業株式会社
代理人
弁理士法人航栄事務所
主分類
H02J
7/10 20060101AFI20250924BHJP(電力の発電,変換,配電)
要約
【課題】送電装置と受電装置との組み合わせや相互の位置関係によらずに、最適な電力伝送制御を行うこと。
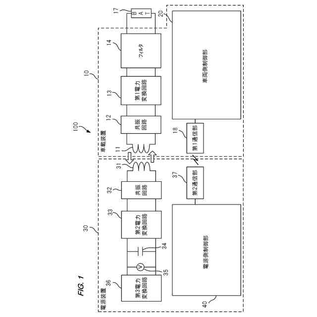
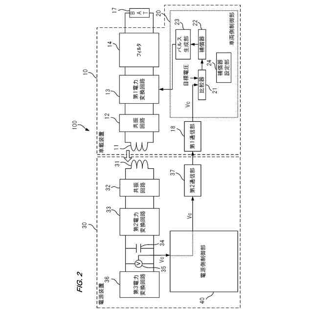
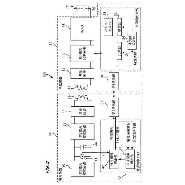
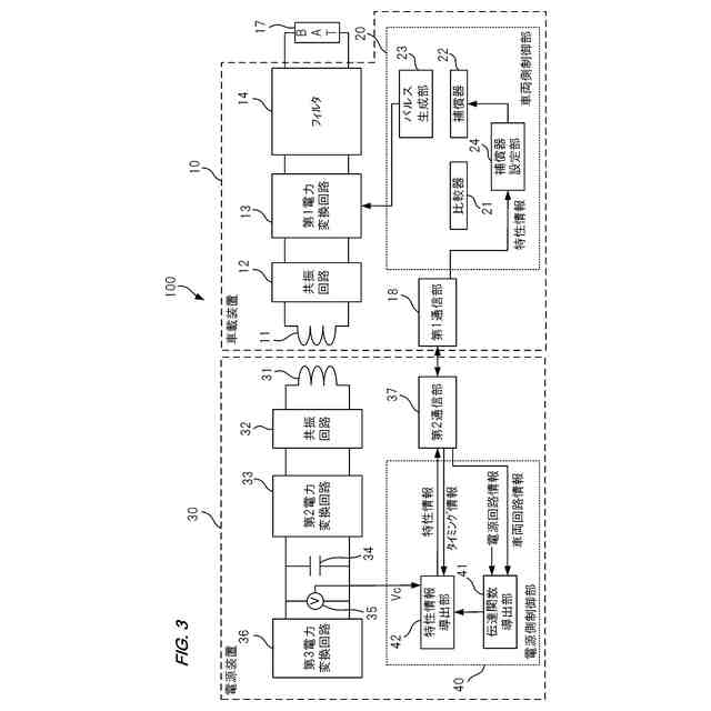
【解決手段】車載装置10は、車両側コイル11と、車両側コイル11に供給する供給電力を二次電池17の電力を用いて生成する第1電力変換回路13と、電源装置30が受電した電力によって充電されるコンデンサ34の端子電圧Vcを取得可能、且つ第1電力変換回路13を制御可能に構成され、端子電圧Vcが目標電圧となるように第1電力変換回路13を介して上記供給電力を制御する給電制御を実行可能な車両側制御部20と、を備え、車両側制御部20は、上記給電制御の実行前に車載装置10から電源装置30へ所定電力を送電させ、その所定電力を送電させた場合の端子電圧Vcの時系列推移に基づき導出されたコンデンサ34を充電する系の特性情報を取得し、この特性情報に基づいて、上記給電制御時の上記供給電力を制御する。
【選択図】図3
特許請求の範囲
【請求項1】
受電装置に対して非接触電力伝送により送電する送電部と、
前記送電部に供給する供給電力を第1電源部の電力を用いて生成し、当該供給電力を前記送電部に供給する電力変換部と、
前記受電装置が受電した電力によって充電される第2電源部の端子電圧を取得可能、且つ前記電力変換部を制御可能に構成され、前記端子電圧が目標電圧となるように前記電力変換部を介して前記供給電力を制御する給電制御を実行可能な制御部と、
を備え、
前記制御部は、
前記給電制御の実行前に前記送電部から前記受電装置へ所定電力を送電させ、当該所定電力を送電させた場合の前記端子電圧の時系列推移に基づき導出された前記第2電源部を充電する系の特性情報を取得し、
取得した前記特性情報に基づいて、前記給電制御時の前記供給電力を制御する、
送電装置。
続きを表示(約 1,200 文字)
【請求項2】
請求項1に記載の送電装置であって、
前記特性情報は、前記系の伝達関数に関する伝達関数情報を含み、
前記制御部は、前記伝達関数情報に基づいて、前記給電制御時の前記供給電力を制御する、
送電装置。
【請求項3】
請求項2に記載の送電装置であって、
前記伝達関数情報は、前記伝達関数の極及び零点を示す情報であり、
前記制御部は、前記極及び零点を示す情報に基づいて、位相余裕が0度以上となるように前記供給電力を制御する、
送電装置。
【請求項4】
請求項3に記載の送電装置であって、
前記制御部は、前記送電装置から前記受電装置へ前記所定電力を送電させた場合の前記端子電圧の時系列推移に基づき前記受電装置が導出した前記極及び零点を示す情報を前記受電装置から受信することにより取得する、
送電装置。
【請求項5】
請求項3に記載の送電装置であって、
前記制御部は、前記送電装置から前記受電装置へ前記所定電力を送電させた場合の前記端子電圧の時系列推移に基づき前記極及び零点を導出することにより、前記極及び零点を示す情報を取得する、
送電装置。
【請求項6】
請求項1から5のいずれか1項に記載の送電装置であって、
前記所定電力は、一定の電力である、
送電装置。
【請求項7】
請求項1から5のいずれか1項に記載の送電装置であって、
前記送電装置は、前記第1電源部の電力を用いて駆動される駆動源としての電動機を備える車両に設けられる、
送電装置。
【請求項8】
送電装置から非接触電力伝送により送電された電力を受電する受電部と、
前記受電部によって受電された電力によって充電可能、且つ蓄積した電力を負荷に対して供給可能に構成された受電側電源部と、
制御部と、を備え、
前記送電装置は、前記受電側電源部の端子電圧が目標電圧となるように前記送電装置から前記受電部への供給電力を制御する給電制御を実行可能であり、
前記制御部は、前記送電装置による前記給電制御の実行前に、前記送電装置から前記受電部へ所定電力が送電された場合の前記端子電圧の時系列推移に基づいて、前記受電側電源部を充電する系の特性情報を取得し、前記特性情報を前記送電装置に送信する制御を行い、
前記送電装置では、前記特性情報に基づいて、前記給電制御時の前記供給電力の制御が行われる、
受電装置。
【請求項9】
請求項8に記載の受電装置であって、
前記特性情報は、前記系の伝達関数に関する伝達関数情報を含む、
受電装置。
【請求項10】
請求項9に記載の受電装置であって、
前記伝達関数情報は、前記系の極及び零点を示す情報である、
受電装置。
発明の詳細な説明
【技術分野】
【0001】
本開示の技術は、送電装置及び受電装置に関する。
続きを表示(約 1,200 文字)
【背景技術】
【0002】
近年、より多くの人々が手ごろで信頼でき、持続可能かつ先進的なエネルギーへのアクセスを確保できるようにするため、エネルギーの効率化に貢献する二次電池を搭載するモビリティにおける充給電に関する研究開発が行われている。
【0003】
例えば、充給電に関する研究開発として、2つの装置間で非接触により電力を伝送する非接触電力伝送に関する研究開発が行われている。
【0004】
特許文献1には、送電装置から転送される電力を、電磁共鳴によって非接触で受電するための受電装置が記載されている。
【0005】
特許文献2には、外部に設けられた送電装置から非接触で受電可能な移動体が記載されている。
【0006】
特許文献3には、受信機コイル、補償回路網、電力変換器、および受信端コントローラを備える無線充電受信端が記載されている。
【0007】
特許文献4には、インバータと、1次コイルと、インバータと1次コイルとの間に設けられた給電側共振回路とを含む給電装置と、1次コイルと磁気的に結合され、1次コイルからエネルギーを取得する2次コイルとを含み、2次コイルにより取得されたエネルギーを電圧変換して出力電力を生成する受電装置とを備える非接触給電装置が記載されている。
【先行技術文献】
【特許文献】
【0008】
特開2013-005615号公報
特開2023-20323号公報
特表2023-500133号公報
国際公開第2015/104779号
【発明の概要】
【発明が解決しようとする課題】
【0009】
本開示の技術は、送電装置と受電装置との組み合わせや相互の位置関係等によらずに、最適な電力伝送制御を行うことを目的としている。
【課題を解決するための手段】
【0010】
本開示の一態様の送電装置は、受電装置に対して非接触電力伝送により送電する送電部と、前記送電部に供給する供給電力を第1電源部の電力を用いて生成し、当該供給電力を前記送電部に供給する電力変換部と、前記受電装置が受電した電力によって充電される第2電源部の端子電圧を取得可能、且つ前記電力変換部を制御可能に構成され、前記端子電圧が目標電圧となるように前記電力変換部を介して前記供給電力を制御する給電制御を実行可能な制御部と、を備え、前記制御部は、前記給電制御の実行前に前記送電装置から前記受電装置へ所定電力を送電させ、当該所定電力を送電させた場合の前記端子電圧の時系列推移に基づき導出された前記第2電源部を充電する系の特性情報を取得し、取得した前記特性情報に基づいて、前記給電制御時の前記供給電力を制御する、ものである。
(【0011】以降は省略されています)
この特許をJ-PlatPat(特許庁公式サイト)で参照する
関連特許
個人
バッテリ内蔵直流電源
14日前
株式会社FUJI
制御盤
4日前
オムロン株式会社
電源回路
8日前
オムロン株式会社
電源回路
8日前
オムロン株式会社
電源回路
8日前
トヨタ自動車株式会社
回転子
今日
東京応化工業株式会社
発電装置
8日前
ミサワホーム株式会社
居住設備
4日前
株式会社リコー
拡張アンテナ装置
7日前
ユタカ電業株式会社
ケーブルダクト
4日前
日産自動車株式会社
ステータ
1日前
トヨタ自動車株式会社
ロータ
2日前
ニチコン株式会社
AC入力検出回路
今日
株式会社大林組
可搬式充電設備
1日前
NTN株式会社
モータユニット
4日前
株式会社ミツバ
巻線装置
7日前
株式会社正興電機製作所
地絡確認装置
7日前
株式会社デンソー
電力変換装置
今日
株式会社豊田自動織機
車両用機器
4日前
株式会社アイシン
駆動装置
2日前
志幸技研工業株式会社
ケーブル布設工法
14日前
株式会社アイシン
回転電機
今日
富士電機株式会社
電力変換システム
4日前
株式会社明電舎
回転機
1日前
東京瓦斯株式会社
電動車両充電機器
1日前
Astemo株式会社
電動駆動装置
2日前
富士電機株式会社
チャンネルベース
今日
富士電機株式会社
チャンネルベース
今日
矢崎総業株式会社
プロテクタ
今日
株式会社明電舎
回転電機
14日前
株式会社デンソー
電子制御装置
4日前
東京瓦斯株式会社
充電量把握システム
1日前
株式会社TMEIC
電力変換装置
4日前
トヨタ自動車株式会社
モータの冷却制御装置
今日
株式会社アイシン
アクチュエータ装置
1日前
Astemo株式会社
電動モータ装置
1日前
続きを見る
他の特許を見る