TOP
|
特許
|
意匠
|
商標
特許ウォッチ
Twitter
他の特許を見る
公開番号
2025143932
公報種別
公開特許公報(A)
公開日
2025-10-02
出願番号
2024043456
出願日
2024-03-19
発明の名称
電動モータ装置
出願人
Astemo株式会社
代理人
個人
,
個人
主分類
H02K
5/22 20060101AFI20250925BHJP(電力の発電,変換,配電)
要約
【課題】部品点数及び組み立て工程を削減できる、電動モータ装置を提供する。
【解決手段】本発明によれば、その1つの態様において、制御基板は、コネクタブロックに固定され、コネクタブロックは、制御基板の外周においてモータハウジングの側壁に結合され、好ましくは、電動モータの端子は、電動モータの軸に平行な方向を圧入方向として、制御基板のスルーホールに圧入される。
【選択図】図2
特許請求の範囲
【請求項1】
電動モータと、
前記電動モータを駆動制御するための回路部品が実装された制御基板と、
前記制御基板と外部装置とを接続するためのコネクタを備えたコネクタブロックと、
前記電動モータを収容するモータハウジングと、
を有し、
前記制御基板は、前記コネクタブロックに固定され、
前記コネクタブロックは、前記制御基板の外周において前記モータハウジングの側壁に結合される、
電動モータ装置。
続きを表示(約 670 文字)
【請求項2】
請求項1に記載の電動モータ装置であって、
前記電動モータの端子は、前記電動モータの軸に平行な方向を圧入方向として、前記制御基板のスルーホールに圧入される、
電動モータ装置。
【請求項3】
請求項2に記載の電動モータ装置であって、
前記コネクタブロックに対する前記制御基板の固定力が、前記電動モータの端子の前記制御基板のスルーホールに対する圧入状態の保持力よりも大きく設定された、
電動モータ装置。
【請求項4】
請求項3に記載の電動モータ装置であって、
前記コネクタブロックと前記モータハウジングとが直接結合されて、前記制御基板及び前記電動モータを収容する閉塞された空間を形成する、
電動モータ装置。
【請求項5】
請求項4に記載の電動モータ装置であって、
前記モータハウジングは、前記電動モータを収容する筒状の第1ハウジングと、前記第1ハウジングの開口縁に結合される環状の第2ハウジングとで形成され、
前記コネクタブロックは、前記第2ハウジングに結合される、
電動モータ装置。
【請求項6】
請求項2に記載の電動モータ装置であって、
前記コネクタブロックは、前記モータハウジングに嵌合される嵌合部を備え、
前記電動モータの端子が前記制御基板のスルーホールに挿入される前に、前記嵌合部が前記モータハウジングに係合するようになっている、
電動モータ装置。
発明の詳細な説明
【技術分野】
【0001】
本発明は、電動モータ装置に関する。
続きを表示(約 1,200 文字)
【背景技術】
【0002】
特許文献1が開示する駆動装置は、モータと、モータと同軸に配置され、モータの駆動を制御する制御部と、制御部を外部コネクタに接続するためのコネクタ部と、コネクタ部とは別部材からなり、制御部を覆っているカバーとを備える。
【先行技術文献】
【特許文献】
【0003】
特開2019-187079号公報
【発明の概要】
【発明が解決しようとする課題】
【0004】
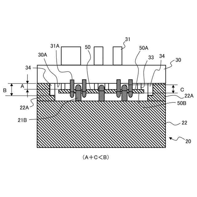
特許文献1が開示する駆動装置では、コネクタを備えたコネクタブロックの形状を、モータ端子と制御基板とのはんだ接合の作業のために、はんだ接合部が露出するような形状としていた。
そして、制御基板の収容空間を閉塞するために、コネクタブロックとは別のカバー部材で覆っており、部品点数及び組み立て工程が多いという問題があった。
【0005】
そこで、本発明の目的は、部品点数及び組み立て工程を削減できる、電動モータ装置を提供することにある。
【課題を解決するための手段】
【0006】
本発明に係る電動モータ装置は、その1つの態様において、制御基板は、コネクタブロックに固定され、コネクタブロックは、制御基板の外周においてモータハウジングの側壁に結合される。
【発明の効果】
【0007】
本発明によれば、電動モータ装置の部品点数及び組み立て工程を削減できる。
【図面の簡単な説明】
【0008】
電動モータ装置の外観斜視図である。
電動モータ装置の縦断面図である。
コネクタブロックの拡大断面図である。
コネクタブロックの拡大断面図である。
電動モータの端子の制御基板に対する接続構造を示す断面図である。
電動モータ装置の組み立て工程を示す図である。
電動モータ装置における寸法関係を示す図である。
コネクタブロックとモータ部との分離作業を示す図である。
【発明を実施するための形態】
【0009】
以下、本発明に係る電動モータ装置の実施形態を、図面に基づいて説明する。
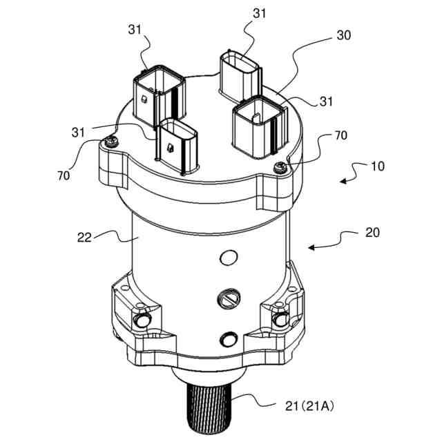
図1は、電動モータ装置10の一態様を示す外観斜視図である。
電動モータ装置10は、たとえば、車両の電動パワーステアリング装置において、ステアリング機構に操舵補助力を与える装置である。
【0010】
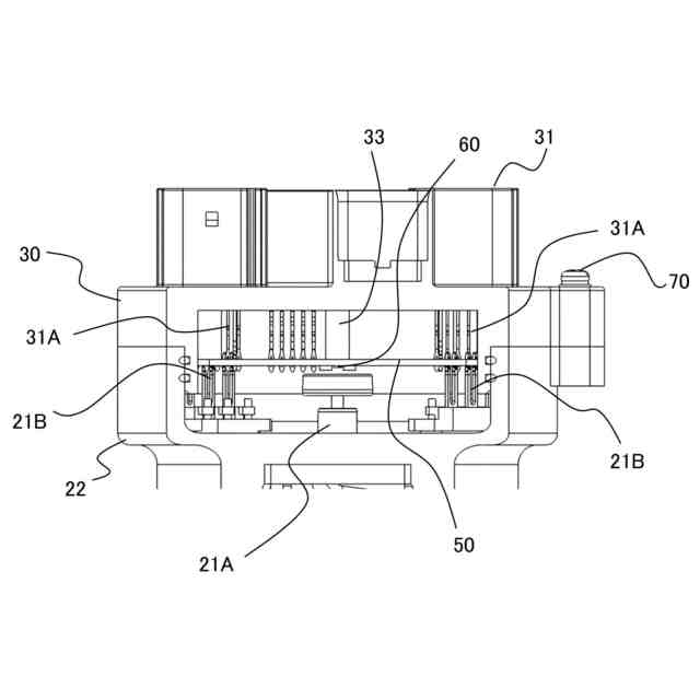
電動モータ装置10は、モータ部20と、コネクタブロック30とを有する。
モータ部20は、3相ブラシレスDCモータなどの電動モータ21を、円筒状のモータハウジング22の内部に収容したものである。
電動モータ21は、モータハウジング22の円柱状の収容室の中心軸と、出力軸21Aとが略一致するように、モータハウジング22内に収容される。
(【0011】以降は省略されています)
この特許をJ-PlatPat(特許庁公式サイト)で参照する
関連特許
Astemo株式会社
電池管理システム
今日
Astemo株式会社
回転電機のロータ構造
今日
Astemo株式会社
半導体装置
今日
個人
電源装置
15日前
個人
バッテリ内蔵直流電源
14日前
株式会社FUJI
制御盤
4日前
オムロン株式会社
電源回路
8日前
オムロン株式会社
電源回路
8日前
オムロン株式会社
電源回路
8日前
トヨタ自動車株式会社
回転子
15日前
トヨタ自動車株式会社
回転子
今日
日産自動車株式会社
電子機器
25日前
ニデック株式会社
モータの制御方法
22日前
トヨタ自動車株式会社
溶接装置
28日前
大豊工業株式会社
モータ
14日前
井関農機株式会社
充電システム
25日前
ミサワホーム株式会社
居住設備
4日前
東京応化工業株式会社
発電装置
8日前
株式会社リコー
拡張アンテナ装置
7日前
ニチコン株式会社
AC入力検出回路
今日
日産自動車株式会社
ステータ
1日前
富士電子工業株式会社
電力変換装置
16日前
トヨタ自動車株式会社
ロータ
2日前
ユタカ電業株式会社
ケーブルダクト
4日前
株式会社ダイヘン
電力管理装置
23日前
株式会社ミツバ
巻線装置
7日前
株式会社デンソー
電力変換装置
今日
NTN株式会社
モータユニット
4日前
株式会社大林組
可搬式充電設備
1日前
株式会社正興電機製作所
地絡確認装置
7日前
株式会社アイシン
直流回転電機
28日前
株式会社豊田自動織機
車両用機器
4日前
カヤバ株式会社
アクチュエータユニット
14日前
志幸技研工業株式会社
ケーブル布設工法
14日前
住友電装株式会社
ワイヤハーネス
24日前
株式会社アイシン
回転電機
今日
続きを見る
他の特許を見る