TOP
|
特許
|
意匠
|
商標
特許ウォッチ
Twitter
他の特許を見る
公開番号
2025144425
公報種別
公開特許公報(A)
公開日
2025-10-02
出願番号
2024044186
出願日
2024-03-19
発明の名称
充電量把握システム
出願人
東京瓦斯株式会社
代理人
個人
,
個人
主分類
H02J
7/00 20060101AFI20250925BHJP(電力の発電,変換,配電)
要約
【課題】一般の家庭にて計測されるEVの充電量を、家庭内の他の機器にて消費される電力と区別して把握する。
【解決手段】充電量把握システムは、家庭内の配線に接続され電動車両を充電する充電機器から、家庭内の他の機器にて消費される電力と区別される電動車両の充電に関する情報である充電量情報を取得する取得手段と、取得した充電量情報および/または充電量情報から得られた情報を、ネットワークを介して出力する出力手段と、を含む。
【選択図】図1
特許請求の範囲
【請求項1】
家庭内の配線に接続され電動車両を充電する充電機器から、前記家庭内の他の機器にて消費される電力と区別される当該電動車両の充電に関する情報である充電量情報を取得する取得手段と、
取得した前記充電量情報および/または当該充電量情報から得られた情報を、ネットワークを介して出力する出力手段と、
を含む充電量把握システム。
続きを表示(約 710 文字)
【請求項2】
前記充電量情報から得られた情報は、充電料金に関する情報であること、を特徴とする請求項1記載の充電量把握システム。
【請求項3】
前記充電量情報から得られた情報は、前記電動車両の充電に伴う電気によって排出されるCO2の情報であるCO2情報であること、を特徴とする請求項1記載の充電量把握システム。
【請求項4】
前記出力手段は、前記電動車両を利用する利用者を管理する顧客の端末に対して、前記充電量情報および/または当該充電量情報から得られた情報を出力すること、
を特徴とする請求項1記載の充電量把握システム。
【請求項5】
前記取得手段は、前記充電機器を他と区別する情報および/または前記利用者を他と区別する情報とともに前記充電量情報を取得し、
前記出力手段は、取得した前記充電機器を他と区別する情報および/または前記利用者を他と区別する情報をもとに、前記顧客の端末に対して前記充電量情報および/または当該充電量情報から得られた情報を出力すること、
を特徴とする請求項4記載の充電量把握システム。
【請求項6】
前記充電機器は、前記家庭内の配線から電気を取るためのコンセントに差し込むプラグと、前記電動車両を充電するための充電ケーブルに接続されたプラグを差し込むためのコンセントと、当該家庭内の電流値に関する情報をもとに当該電動車両の充電を制御する制御部と、を備え、
前記取得手段は、前記充電機器の前記制御部を介して前記充電量情報を取得すること、
を特徴とする請求項1記載の充電量把握システム。
発明の詳細な説明
【技術分野】
【0001】
本発明は、電動車両の充電量把握システムに関する。
続きを表示(約 3,100 文字)
【背景技術】
【0002】
特許文献1には、電動車両の充電終了に伴って自動的に決済することができる充電料金のクレジットカード決済システムを提供するために、充電端末機において充電料金を演算し、当該充電料金を、決済中継サーバを介して、クレジットカード番号と共に決済サーバに送信することが開示されている。
【先行技術文献】
【特許文献】
【0003】
特開2013-137634号公報
【発明の概要】
【発明が解決しようとする課題】
【0004】
例えば、従業員が会社に出社せず社用車を用いて自宅から直接目的地に向かい、業務が終わると会社へ戻らず社用車を用いてそのまま自宅に帰る勤務形態がある。この勤務形態では、従業員が、EVの社用車を従業員の家庭で充電することがありうる。そして、その充電にかかる費用は、本来、会社が負担すべきものではある。
しかしながら、一般の家庭ではEV用の充電機器でEVの充電量を把握できるEVスタンドを設置している場合が少なく、一般の家庭におけるEV充電の電気料金を正確に算出することができない。
本発明の目的は、一般の家庭にて計測されるEVの充電量を、家庭内の他の機器にて消費される電力と区別して把握することにある。
【課題を解決するための手段】
【0005】
請求項1に記載の発明は、家庭内の配線に接続され電動車両を充電する充電機器から、前記家庭内の他の機器にて消費される電力と区別される当該電動車両の充電に関する情報である充電量情報を取得する取得手段と、取得した前記充電量情報および/または当該充電量情報から得られた情報を、ネットワークを介して出力する出力手段と、を含む充電量把握システムである。
請求項2に記載の発明は、前記充電量情報から得られた情報は、充電料金に関する情報であること、を特徴とする請求項1記載の充電量把握システムである。
請求項3に記載の発明は、前記充電量情報から得られた情報は、前記電動車両の充電に伴う電気によって排出されるCO2の情報であるCO2情報であること、を特徴とする請求項1記載の充電量把握システムである。
請求項4に記載の発明は、前記出力手段は、前記電動車両を利用する利用者を管理する顧客の端末に対して、前記充電量情報および/または当該充電量情報から得られた情報を出力すること、を特徴とする請求項1記載の充電量把握システムである。
請求項5に記載の発明は、前記取得手段は、前記充電機器を他と区別する情報および/または前記利用者を他と区別する情報とともに前記充電量情報を取得し、前記出力手段は、取得した前記充電機器を他と区別する情報および/または前記利用者を他と区別する情報をもとに、前記顧客の端末に対して前記充電量情報および/または当該充電量情報から得られた情報を出力すること、を特徴とする請求項4記載の充電量把握システムである。
請求項6に記載の発明は、前記充電機器は、前記家庭内の配線から電気を取るためのコンセントに差し込むプラグと、前記電動車両を充電するための充電ケーブルに接続されたプラグを差し込むためのコンセントと、当該家庭内の電流値に関する情報をもとに当該電動車両の充電を制御する制御部と、を備え、前記取得手段は、前記充電機器の前記制御部を介して前記充電量情報を取得すること、を特徴とする請求項1記載の充電量把握システムである。
【発明の効果】
【0006】
本発明によれば、一般の家庭にて計測されるEVの充電量を、家庭内の他の機器にて消費される電力と区別して把握することが可能となる。
【図面の簡単な説明】
【0007】
本実施の形態における充電量把握システムの全体構成例を示す図である。
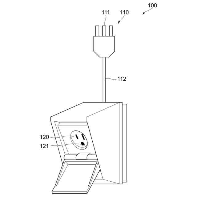
本実施の形態における充電機器の外部構造を説明する図である。
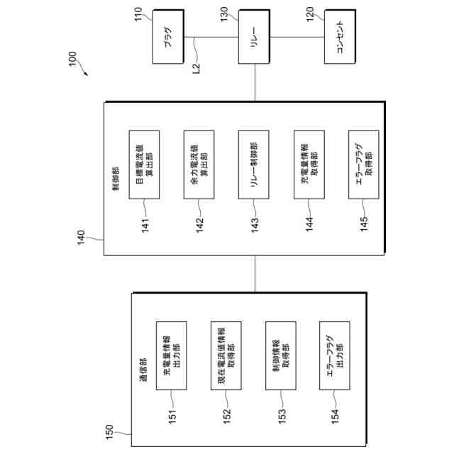
本実施の形態における充電機器の機能構成を説明する図である。
本実施の形態における制御部の制御処理の具体例を説明する図である。
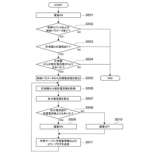
本実施の形態における制御部の制御処理のフローチャートである。
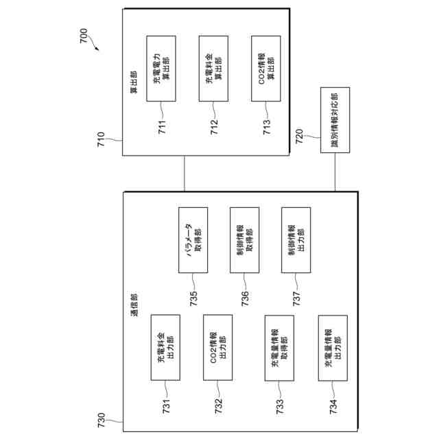
本実施の形態における外部サーバの機能構成を説明する図である。
本実施の形態における外部サーバの情報処理のフローチャートである。
充電量把握システムの変形例を説明する図である。
【発明を実施するための形態】
【0008】
以下、添付図面を参照して、本発明の実施の形態について詳細に説明する。
一般に、電動車両を社用車として使用している会社では、例えば、従業員に電動車両を貸与し、従業員が会社に出社せず自宅から直接、電動車両を用いて目的地に向かい、業務が終わると会社へ戻らずそのまま電動車両を用いて自宅に帰る勤務形態がありえる。このとき、従業員宅に電動車両の充電設備がない場合、従業員は勤務時間中に電動車両の充電ステーションに立ち寄り、充電(経路充電)を行う必要があり、業務効率・営業効率が低下する、という問題が生じている。
この問題を解決するために会社として従業員宅に電動車両用の充電設備を設置しようとすると、通常は電気設備工事が発生し、会社側に工事費が発生してしまう。さらに、転勤その他の事由により充電設備が不要となった際にも原状復旧(撤去)工事が発生し、会社側に工事費が発生してしまう。さらに電動車両の充電設備を導入した場合、通常は電動車両の充電電流分だけ電気の契約容量を増加させる必要があり、従業員が電力会社へ支払う電気基本料金が増加してしまう。また、例えば社用車を従業員宅で充電する場合には、従業員宅で用いる他の機器にて消費される電力と社用車の電動車両の充電にて消費される電力とを区別することが要請されるが、そのままでは社用車の電動車両の充電にかかる電気料金だけを計測することはできず、経費立替精算を正確に行うことができない。
これらの課題に対し、本実施の形態では、特別な工事を必要とせずに、電気契約容量の増加も不要で、正確な電動車両の充電料金の精算を可能としている。
【0009】
<充電量把握システムの説明>
図1は、本実施の形態における充電量把握システム1の全体構成例を示す図である。充電量把握システム1は、家庭Aにて用いられ、プラグとコンセントを有し電動車両500を充電するための充電機器100を有する。また、充電量把握システム1は、電動車両充電機器の一例である充電機器100に接続される屋外コンセント200と、分電盤300と、計測器400と、電動車両500と充電機器100とを接続する充電ケーブル600とを有する。さらに、充電量把握システム1は、インターネット等のネットワーク900を介して充電機器100から情報を取得する例えば電力会社の外部サーバ700と、ネットワーク900を介して外部サーバ700と接続される顧客側端末800とを有する。
【0010】
この充電機器100は、例えば、家庭Aに対して電力を提供する電力会社から提供される充電装置である。充電機器100は家庭A内の配線から電気を取るための屋外コンセント200に差し込むプラグ(後述)と、電動車両500を充電するための充電ケーブル600に接続された充電ケーブル側のプラグ(後述)を差し込むコンセント(後述)と、を有する。
(【0011】以降は省略されています)
この特許をJ-PlatPat(特許庁公式サイト)で参照する
関連特許
東京瓦斯株式会社
バーナ
13日前
東京瓦斯株式会社
通信装置
29日前
東京瓦斯株式会社
給電システム
29日前
東京瓦斯株式会社
電力システム
1か月前
東京瓦斯株式会社
データ管理装置
1か月前
東京瓦斯株式会社
水電解システム
1か月前
東京瓦斯株式会社
電力供給システム
27日前
東京瓦斯株式会社
電動車両充電機器
1か月前
東京瓦斯株式会社
充電量把握システム
1か月前
東京瓦斯株式会社
電気自動車用充電コネクタ
2か月前
三浦工業株式会社
燃焼装置
29日前
東京瓦斯株式会社
情報処理装置、及びプログラム
1か月前
東洋ガスメーター株式会社
ガスメーター
2か月前
株式会社LIXIL
可燃性ガス回収装置
1か月前
東京瓦斯株式会社
商品提示システム、及び商品提示プログラム
1か月前
東京瓦斯株式会社
アンモニア燃焼装置、及び、アンモニア燃焼方法
2か月前
大成建設株式会社
足場装置および足場構築方法
15日前
東京瓦斯株式会社
風況観測システム、風況観測方法、およびプログラム
23日前
東京瓦斯株式会社
炭素削減手段提案システムおよび炭素削減手段提案方法
1か月前
東京瓦斯株式会社
水電解セルスタック診断方法、水電解セルスタック診断システム
1日前
東京瓦斯株式会社
電気ヒータのスケール検知方法、電気ヒータのスケール検知装置、及び、電気ボイラ
2か月前
東京瓦斯株式会社
電力需給管理システム、蓄電池システムの制御方法、蓄電池システム、および外部システム
1か月前
東京瓦斯株式会社
二酸化炭素還元電極用カソードガス拡散層、二酸化炭素還元電極、及び、二酸化炭素電解セル
1か月前
東京瓦斯株式会社
アニオン交換膜形水電解用アノード触媒、アニオン交換膜形水電解用アノード触媒層、アニオン交換膜形水電解セル、及び水電解セルスタック
13日前
個人
単極モータ
23日前
個人
電気を重力で発電装置
今日
キヤノン電子株式会社
モータ
7日前
株式会社アイシン
ロータ
23日前
株式会社アイシン
ロータ
27日前
日本精機株式会社
サージ保護回路
1か月前
日星電気株式会社
ケーブル組立体
15日前
コーセル株式会社
電源装置
8日前
トヨタ自動車株式会社
固定子
28日前
株式会社デンソー
回転機
21日前
個人
連続ガウス加速器形磁力増幅装置
1か月前
トヨタ自動車株式会社
製造装置
28日前
続きを見る
他の特許を見る