TOP
|
特許
|
意匠
|
商標
特許ウォッチ
Twitter
他の特許を見る
10個以上の画像は省略されています。
公開番号
2025141604
公報種別
公開特許公報(A)
公開日
2025-09-29
出願番号
2024041616
出願日
2024-03-15
発明の名称
プリント基板、および電子制御装置
出願人
株式会社デンソー
代理人
個人
,
個人
主分類
H05K
1/02 20060101AFI20250919BHJP(他に分類されない電気技術)
要約
【課題】はんだの接続信頼性が向上されたプリント基板を提供すること。
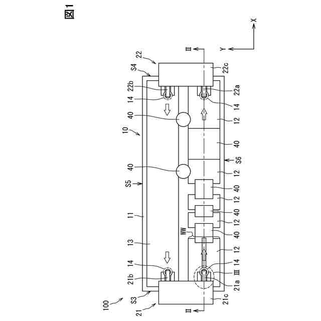
【解決手段】プリント基板は、絶縁基板と、導電性の配線部の一部であり、絶縁基板の少なくとも一面S1に設けられた電源パターン12とを備えている。また、プリント基板は、一面において電源パターンが形成されてない絶縁部18と、はんだが接続される部位であり、一部が電源パターンと連なり、他の一部が絶縁部と隣り合って設けられた端子ランド14とを備えている。さらに、プリント基板は、絶縁部に囲まれ、端子ランドから延設された導電性の延設パターン17aを備えている。
【選択図】図1
特許請求の範囲
【請求項1】
絶縁基板(11)と、
導電性の配線部の一部であり、前記絶縁基板の少なくとも一面に設けられたベタパターン(12,13)と、
前記一面において前記ベタパターンが形成されてない非形成部(18)と、
はんだ(50)が接続される部位であり、一部が前記ベタパターンと連なり、他の一部が前記非形成部と隣り合って設けられた電極接続部(14)と、
前記非形成部に囲まれ、前記電極接続部から延設された導電性の延設パターン(17a~17e)と、を備えているプリント基板。
続きを表示(約 710 文字)
【請求項2】
前記ベタパターンの幅(WW)は、前記電極接続部における前記ベタパターンと連なる部分の幅(LW)よりも広い請求項1に記載のプリント基板。
【請求項3】
前記電極接続部に対して、複数の前記延設パターンが延設された請求項1または2に記載のプリント基板。
【請求項4】
複数の前記延設パターンは、放射状に設けられている請求項3に記載のプリント基板。
【請求項5】
前記ベタパターンは、電子部品が電気的に接続されるものであり、前記電極接続部よりも前記電子部品側に設けられており、
前記非形成部は、前記電極接続部を基準として前記電子部品とは反対側に設けられている請求項1または2に記載のプリント基板。
【請求項6】
前記電子部品は、電源回路である請求項5に記載のプリント基板。
【請求項7】
前記電子部品は、駆動回路である請求項5に記載のプリント基板。
【請求項8】
前記絶縁基板は、前記一面から前記一面の反対面にわたって貫通孔(16)が形成されており、
前記電極接続部は、前記一面において前記貫通孔の周囲に設けられ、挿入実装部品の端子と接続される請求項1または2に記載のプリント基板。
【請求項9】
前記電極接続部は、前記一面に設けられ、表面実装部品の端子と接続される請求項1または2に記載のプリント基板。
【請求項10】
前記延設パターンは、前記絶縁基板を介して複数層に積層されている請求項1または2に記載のプリント基板。
(【請求項11】以降は省略されています)
発明の詳細な説明
【技術分野】
【0001】
本開示は、プリント基板、および電子制御装置に関する。
続きを表示(約 1,700 文字)
【背景技術】
【0002】
プリント基板の一例として、特許文献1に開示された技術がある。プリント基板は、少なくともスルーホールの全周の半分以上がベタパターンで覆われているサーマルランドを備えている。サーマルランドは、ベタパターンと、ベタパターンとスルーホールとを連結する複数のブリッジ回路部と、サーマルギャップ部とからなる。
【先行技術文献】
【特許文献】
【0003】
特開2010-109020号公報
【発明の概要】
【発明が解決しようとする課題】
【0004】
しかしながら、サーマルランドは、ブリッジがベタパターンと直接つながっている。そのため、プリント基板は、はんだ付け時の熱がベタパターンに逃げる。よって、プリント基板は、はんだ付け性が低下して、はんだの接続信頼性を低下させる虞がある。また、上記観点において、または言及されていない他の観点において、プリント基板および電子制御装置にはさらなる改良が求められている。
【0005】
開示される一つの目的は、はんだの接続信頼性が向上されたプリント基板を提供することである。開示される他の一つの目的は、はんだの接続信頼性が向上された電子制御装置を提供することである。
【課題を解決するための手段】
【0006】
ここに開示されたプリント基板は、
絶縁基板(11)と、
導電性の配線部の一部であり、絶縁基板の少なくとも一面に設けられたベタパターン(12,13)と、
一面においてベタパターンが形成されてない非形成部(18)と、
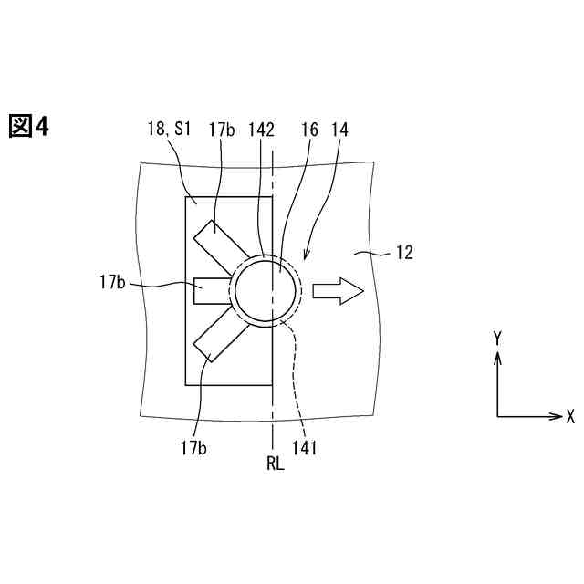
はんだ(50)が接続される部位であり、一部がベタパターンと連なり、他の一部が非形成部と隣り合って設けられた電極接続部(14)と、
非形成部に囲まれ、電極接続部から延設された導電性の延設パターン(17a~17e)と、を備えている。
【0007】
ここに開示されたプリント基板によると、一部がベタパターンと連なり、他の一部が非形成部と隣り合って設けられた電極接続部を備えている。その電極接続部から延設された延設パターンは、非形成部に囲まれている。そのため、延設パターンは、電極接続部にはんだ付けする際に加熱され、かつ、ベタパターンに熱が逃げにくい。よって、プリント基板は、はんだ付け性の低下を抑制でき、はんだの接続信頼性を向上できる。
【0008】
ここに開示された電子制御装置は、
プリント基板(10)と、プリント基板に実装された電子部品(40)を備えた電子制御装置であって、
プリント基板は、
絶縁基板(11)と、
導電性の配線部の一部であり、絶縁基板の少なくとも一面に設けられたベタパターン(12,13)と、
一面においてベタパターンが形成されてない非形成部(18)と、
はんだ(50)が接続される部位であり、一部がベタパターンと連なり、他の一部が非形成部と隣り合って設けられた電極接続部(14)と、
非形成部に囲まれ、電極接続部から延設された導電性の延設パターン(17a~17e)と、を備えており、
電子部品は、配線部と電気的に接続されている。
【0009】
このように、電子制御装置は、上記のプリント基板を備えている。よって、電子制御装置は、はんだの接続信頼性が向上されている。
【0010】
この明細書において開示された複数の態様は、それぞれの目的を達成するために、互いに異なる技術的手段を採用する。請求の範囲およびこの項に記載した括弧内の符号は、後述する実施形態の部分との対応関係を例示的に示すものであって、技術的範囲を限定することを意図するものではない。この明細書に開示される目的、特徴、および効果は、後続の詳細な説明、および添付の図面を参照することによってより明確になる。
【図面の簡単な説明】
(【0011】以降は省略されています)
この特許をJ-PlatPat(特許庁公式サイト)で参照する
関連特許
株式会社デンソー
車載器
8日前
株式会社デンソー
接合体
22日前
株式会社デンソー
反力装置
2日前
株式会社デンソー
電子装置
2日前
株式会社デンソー
電子装置
12日前
株式会社デンソー
ねじ部材
8日前
株式会社デンソー
電子装置
3日前
株式会社デンソーエレクトロニクス
発音装置
12日前
株式会社デンソー
ステータ
8日前
株式会社デンソー
ステータ
8日前
株式会社デンソー
レーダ装置
1日前
株式会社デンソー
農業用装置
4日前
株式会社デンソーテン
インバータ
2日前
株式会社デンソー
半導体装置
8日前
株式会社デンソー
レーダ装置
12日前
株式会社デンソー
車載システム
2日前
株式会社デンソー
電波吸収装置
12日前
株式会社デンソー
電力変換装置
16日前
株式会社デンソー
電気化学セル
12日前
株式会社デンソー
運転支援装置
3日前
株式会社デンソー
電力変換装置
8日前
株式会社デンソー
フィルタ回路
16日前
株式会社デンソー
衝突予測装置
3日前
株式会社デンソーテン
車載映像装置
8日前
株式会社デンソー
電子制御装置
12日前
株式会社デンソー
車載システム
2日前
株式会社デンソー
光位相変調器
22日前
株式会社デンソー
制御システム
15日前
株式会社デンソー
電子制御装置
8日前
株式会社デンソーエアクール
換気空調装置
9日前
株式会社デンソー
運航管理装置
1日前
株式会社デンソー
ステータコア
15日前
株式会社デンソー
通信システム
12日前
株式会社デンソー
電圧検出回路
4日前
株式会社デンソー
電力変換装置
4日前
株式会社デンソー
電子制御装置
23日前
続きを見る
他の特許を見る