TOP
|
特許
|
意匠
|
商標
特許ウォッチ
Twitter
他の特許を見る
公開番号
2025141342
公報種別
公開特許公報(A)
公開日
2025-09-29
出願番号
2024041233
出願日
2024-03-15
発明の名称
フィルタ装置および空気処理装置
出願人
東芝ライテック株式会社
代理人
個人
,
個人
主分類
B01D
46/12 20220101AFI20250919BHJP(物理的または化学的方法または装置一般)
要約
【課題】毛を捕捉でき、掃除が容易なフィルタ装置および空気処理装置を提供する。
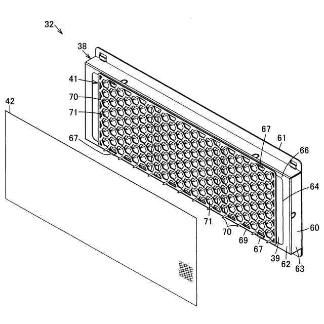
【解決手段】フィルタ装置32は、本体部材38と、ネット保持部材41と、ネット部材42と、を備える。本体部材38は空気が流通する。ネット保持部材41は、複数の通気孔71を有するベース部69と、ベース部69から突出する複数の突起部70と、を備え、ベース部69が本体部材38に配置され、突起部70が本体部材38から突出される。ネット部材42は、ネット保持部材41に被着され、複数の突起部70が貫通する。
【選択図】図5
特許請求の範囲
【請求項1】
空気が流通する本体部材と;
複数の通気孔を有するベース部と、前記ベース部から突出する複数の突起部と、を備え、前記ベース部が前記本体部材に配置され、前記突起部が前記本体部材から突出されるネット保持部材と;
前記ネット保持部材に被着され、複数の前記突起部が貫通するネット部材と;
を備えることを特徴とするフィルタ装置。
続きを表示(約 390 文字)
【請求項2】
前記本体部材は、前記ネット保持部材の前記ベース部を取り付ける取付部を有する
ことを特徴とする請求項1に記載のフィルタ装置。
【請求項3】
前記本体部材に対して前記ネット保持部材側とは反対側に配置されるフィルタ部材を備える
ことを特徴とする請求項1に記載のフィルタ装置。
【請求項4】
空気を処理する処理部を有する筐体と;
送風により前記筐体の外部の空気を前記処理部に吸い込み、前記処理部に吸い込んだ空気を前記筐体の外部に排気するファンと;
前記筐体内で前記処理部よりも前記ファンによる空気の送風方向の上流側に着脱可能に取り付けられ、前記送風方向の上流側に向けて前記ネット部材が配置される請求項1ないし3いずれか一項に記載のフィルタ装置と;
を備えることを特徴とする空気処理装置。
発明の詳細な説明
【技術分野】
【0001】
本発明の実施形態は、フィルタ装置および空気処理装置に関する。
続きを表示(約 1,300 文字)
【背景技術】
【0002】
従来、部屋内の空気を筐体内に吸い込み、筐体内を流通する空気に紫外線を照射したり、光触媒により脱臭し、処理した空気を外部に排気する空気処理装置がある。
【0003】
このような空気処理装置を動物の毛や人間の毛が散乱する環境で使用すると、毛を筐体内に吸い込んで掃除に手間がかかる。
【先行技術文献】
【特許文献】
【0004】
特開2023-163889号公報
【発明の概要】
【発明が解決しようとする課題】
【0005】
本発明が解決しようとする課題は、毛を捕捉でき、掃除が容易なフィルタ装置および空気処理装置を提供することにある。
【課題を解決するための手段】
【0006】
実施形態のフィルタ装置は、本体部材と、ネット保持部材と、ネット部材と、を備える。本体部材は空気が流通する。ネット保持部材は、複数の通気孔を有するベース部と、ベース部から突出する複数の突起部と、を備え、ベース部が本体部材に配置され、突起部が本体部材から突出される。ネット部材は、ネット保持部材に被着され、複数の突起部が貫通する。
【発明の効果】
【0007】
実施形態によれば、毛を捕捉でき、掃除が容易なフィルタ装置および空気処理装置を提供ことが期待できる。
【図面の簡単な説明】
【0008】
一実施形態を示す空気処理装置の斜視図である。
同上空気処理装置の内部構造を示す正面図である。
同上空気処理装置に用いられるフィルタ装置の斜視図である。
同上フィルタ装置のネット部材を外した斜視図である。
同上フィルタ装置の分解斜視図である。
同上フィルタ装置の一部の拡大斜視図である。
【発明を実施するための形態】
【0009】
以下、一実施形態を、図面を参照して説明する。
【0010】
なお、以下の実施形態における空気処理装置は、空気処理装置の内部に流通する空気または外部の空気に対して、所定の手法により、殺菌、除菌、滅菌、減菌、脱臭、消臭のいずれかの空気処理を行う装置である。そして、空気処理装置の空気処理は、殺菌処理、除菌処理、滅菌処理、減菌処理、脱臭処理、消臭処理のいずれかに置き換えて解釈可能である。また、ここでの所定の手法とは、光照射、光触媒、オゾンなどである。光照射は、UV-C領域、UV-B領域、UV-A領域、可視光領域、赤外領域などの波長の光を照射することをいう。光触媒は、空気処理装置の内部に配設された、酸化チタンなどの光触媒に光(紫外光や可視光)を照射することで生成される活性酵素やOHラジカルによって、空気中に浮遊する菌、ウイルス、においの元などの活動を抑制したり、水と二酸化炭素に分解したりすることをいう。オゾンは、空気中のにおい成分および物体の表面に付着する付着臭の成分を酸化し、脱臭することをいう。
(【0011】以降は省略されています)
この特許をJ-PlatPat(特許庁公式サイト)で参照する
関連特許
東レ株式会社
複合半透膜
1か月前
ユニチカ株式会社
複合中空糸膜
7日前
三洋化成工業株式会社
水処理薬剤
1か月前
東レ株式会社
中空糸膜モジュール
6日前
日本ソリッド株式会社
屋外沈殿池
1か月前
株式会社ニクニ
液体処理装置
20日前
日本化薬株式会社
メタノール改質触媒
21日前
株式会社大善
濃縮脱水機
1か月前
株式会社フクハラ
圧縮空気圧回路
1か月前
三機工業株式会社
ろ過装置
1か月前
テルモ株式会社
ろ過デバイス
1か月前
株式会社MRT
微細バブル発生装置
10日前
株式会社カネカ
製造システム
1か月前
株式会社カネカ
濃縮システム
1か月前
株式会社Tornada
気泡発生装置
1か月前
東京理化器械株式会社
クリップ
14日前
株式会社切川物産
撹拌混合装置
1か月前
個人
攪拌装置
10日前
日本ソリッド株式会社
水中懸濁物質付着素材
29日前
株式会社笹山工業所
濁水処理システム
10日前
大和ハウス工業株式会社
反応装置
今日
ヤマシンフィルタ株式会社
フィルタ装置
28日前
ノリタケ株式会社
ガス吸収シート
21日前
ヤマシンフィルタ株式会社
フィルタ装置
8日前
本田技研工業株式会社
ガス回収装置
2日前
ダイハツ工業株式会社
二酸化炭素分解装置
29日前
大陽日酸株式会社
CO2の回収方法
2日前
株式会社キャタラー
カーボン担体材料
1か月前
株式会社福島県南環境衛生センター
処理装置
1か月前
杉山重工株式会社
回転円筒型反応装置
10日前
浙江漢信科技有限公司
攪拌装置
1か月前
東レ株式会社
多孔中実繊維、繊維束および浄化カラム
29日前
中外炉工業株式会社
ガス発生装置及び窒化装置
1か月前
本田技研工業株式会社
二酸化炭素回収装置
2日前
靜甲株式会社
高圧損発生ユニット並びに充填装置
28日前
本田技研工業株式会社
二酸化炭素回収装置
8日前
続きを見る
他の特許を見る