TOP
|
特許
|
意匠
|
商標
特許ウォッチ
Twitter
他の特許を見る
公開番号
2025140843
公報種別
公開特許公報(A)
公開日
2025-09-29
出願番号
2024040444
出願日
2024-03-14
発明の名称
ガスケット
出願人
NOK株式会社
代理人
弁理士法人NYTパートナーズ
主分類
F16J
15/10 20060101AFI20250919BHJP(機械要素または単位;機械または装置の効果的機能を生じ維持するための一般的手段)
要約
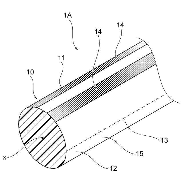
【課題】より簡単な構成でねじれを確認することができるガスケットを提供する。
【解決手段】ガスケット1は、弾性体から形成されて、長手方向軸線xに沿って延びるガスケット本体10を備える。前記ガスケット本体10は、前記長手方向軸線xに対して一方の側に規定される第1表面11と、前記長手方向軸線xに対して一方の側と反対の他方の側に規定される第2表面12と、を有している。前記第1表面11は、前記第2表面12の凹凸と異なる凹凸を有する加工領域14を有する。
【選択図】図3
特許請求の範囲
【請求項1】
弾性体から形成されて、長手方向軸線に沿って延びるガスケット本体を備え、
前記ガスケット本体は、前記長手方向軸線に対して一方の側に規定される第1表面と、前記長手方向軸線に対して一方の側と反対の他方の側に規定される第2表面と、を有し、
前記第1表面は、前記第2表面の凹凸と異なる凹凸を有する加工領域を有する、ガスケット。
続きを表示(約 500 文字)
【請求項2】
前記加工領域は、前記第2表面の表面粗さと異なる表面粗さを有する、請求項1に記載のガスケット。
【請求項3】
前記加工領域は前記第1表面に全面に形成される、請求項1に記載のガスケット。
【請求項4】
前記加工領域は、前記長手方向軸線に沿って少なくとも部分的に線状に延びる、請求項1に記載のガスケット。
【請求項5】
前記第1表面は、前記長手方向軸線を含む仮想平面よりも前記一方の側の前記ガスケット本体の表面であり、
前記第2表面は、前記仮想平面よりも前記他方の側の前記ガスケットの表面である、請求項1~4のいずれか1項に記載のガスケット。
【請求項6】
前記加工領域は、金型の内面に形成された凹凸が転写されることによって形成される、請求項1に記載のガスケット。
【請求項7】
前記第1表面と前記第2表面との間の境界線は前記金型のパーティングラインに一致する、請求項6に記載のガスケット。
【請求項8】
水電解装置又は燃料電池に組み込まれる、請求項1に記載のガスケット。
発明の詳細な説明
【技術分野】
【0001】
本発明は、ガスケットに関する。
続きを表示(約 1,000 文字)
【背景技術】
【0002】
例えば特許文献1には、Oリングのねじれを確認する技術が開示されている。このOリングには、その全周にわたってリング状の磁石が埋め込まれている。組付対象に対してOリングを組み付けた後、Oリング内の磁石の磁極の向きを周方向において検出することによって、Oリングのねじれが確認される。
【先行技術文献】
【特許文献】
【0003】
特開2008-215582号公報
【発明の概要】
【発明が解決しようとする課題】
【0004】
この従来のOリングには、その全周にわたってリング状の磁石を埋め込むので、Oリングの製造にあたって手間やコストがかかる。しかも、Oリングのねじれの確認にあたって、方位磁石や磁石、電線等の追加の器具が必要とされる。ねじれの確認にも手間やコストがかかる。
【0005】
本発明は、上述した課題に鑑みてなされたものであり、より簡単な構成でねじれを確認することができるガスケットを提供することを目的とする。
【課題を解決するための手段】
【0006】
本発明の一態様に係るガスケットは、弾性体から形成されて、長手方向軸線に沿って延びるガスケット本体を備え、前記ガスケット本体は、前記長手方向軸線に対して一方の側に規定される第1表面と、前記長手方向軸線に対して一方の側と反対の他方の側に規定される第2表面と、を有し、前記第1表面は、前記第2表面の凹凸と異なる凹凸を有する加工領域を有する。
【0007】
本発明の一態様に係るガスケットでは、前記加工領域は、前記第2表面の表面粗さと異なる表面粗さを有する。
【0008】
本発明の一態様に係るガスケットでは、前記加工領域は前記第1表面に全面に形成される。
【0009】
本発明の一態様に係るガスケットでは、前記加工領域は、前記長手方向軸線に沿って少なくとも部分的に線状に延びる。
【0010】
本発明の一態様に係るガスケットでは、前記第1表面は、前記長手方向軸線を含む仮想平面よりも前記一方の側の前記ガスケット本体の表面であり、前記第2表面は、前記仮想平面よりも前記他方の側の前記ガスケットの表面である。
(【0011】以降は省略されています)
この特許をJ-PlatPat(特許庁公式サイト)で参照する
関連特許
NOK株式会社
密封構造
1か月前
NOK株式会社
吸音構造体
16日前
NOK株式会社
遊星歯車機構
1か月前
NOK株式会社
トーショナルダンパー
1日前
NOK株式会社
密封装置および密封構造
1か月前
国立大学法人福島大学
ニトリルゴム分解菌
1日前
NOK株式会社
成形型、ガスケットの製造方法およびガスケット
1か月前
NOK株式会社
熱劣化判定方法、熱履歴推定方法、熱劣化判定装置、熱履歴推定装置
1か月前
NOK株式会社
密封装置、密封構造、密封構造の組み付け方法
1か月前
NOK株式会社
バッテリー用緩衝材、バッテリー、およびバッテリー用緩衝材の弾性部材が発生させるガスを管理する方法
1か月前
東ソー株式会社
バイオマス由来の塩素化ポリエチレン
1か月前
個人
留め具
1か月前
個人
鍋虫ねじ
2か月前
個人
回転伝達機構
3か月前
個人
紛体用仕切弁
2か月前
個人
差動歯車用歯形
4か月前
個人
ジョイント
2か月前
個人
給排気装置
1か月前
株式会社不二工機
電磁弁
4か月前
個人
地震の揺れ回避装置
4か月前
個人
ナット
16日前
個人
ナット
2か月前
個人
吐出量監視装置
2か月前
個人
ゲート弁バルブ
1日前
カヤバ株式会社
ダンパ
5か月前
カヤバ株式会社
緩衝器
4か月前
カヤバ株式会社
緩衝器
1か月前
カヤバ株式会社
緩衝器
4か月前
兼工業株式会社
バルブ
17日前
柿沼金属精機株式会社
分岐管
3か月前
カヤバ株式会社
ダンパ
5か月前
株式会社奥村組
制振機構
1か月前
アズビル株式会社
回転弁
1か月前
株式会社ニフコ
クリップ
1日前
株式会社不二工機
電磁弁
2か月前
株式会社奥村組
制振機構
1か月前
続きを見る
他の特許を見る