TOP
|
特許
|
意匠
|
商標
特許ウォッチ
Twitter
他の特許を見る
10個以上の画像は省略されています。
公開番号
2025140301
公報種別
公開特許公報(A)
公開日
2025-09-29
出願番号
2024039616
出願日
2024-03-14
発明の名称
電力制御装置
出願人
トヨタ自動車株式会社
,
株式会社デンソー
代理人
弁理士法人酒井国際特許事務所
主分類
B60L
1/00 20060101AFI20250919BHJP(車両一般)
要約
【課題】車両が始動できなくなることを防止することができる電力制御装置を提供すること。
【解決手段】電力制御装置は、複数のバッテリモジュールと車両の走行用モータ及び補機との接続を切り替える切替部と、前記バッテリモジュールの状態を検出する検出部と、前記バッテリモジュールの状態に応じて前記補機に電力を供給する前記バッテリモジュールを選択し、選択した前記バッテリモジュールが前記補機に接続されるよう前記切替部の接続を切り替えるように構成されるプロセッサと、を備える。
【選択図】図1
特許請求の範囲
【請求項1】
複数のバッテリモジュールと車両の走行用モータ及び補機との接続を切り替える切替部と、
前記バッテリモジュールの状態を検出する検出部と、
前記バッテリモジュールの状態に応じて前記補機に電力を供給する前記バッテリモジュールを選択し、選択した前記バッテリモジュールが前記補機に接続されるよう前記切替部の接続を切り替えるように構成されるプロセッサと、
を備える電力制御装置。
続きを表示(約 1,000 文字)
【請求項2】
前記プロセッサは、前記バッテリモジュールの電池状態が前記補機の電力要求以上である前記バッテリモジュールを前記補機に電力を供給する前記バッテリモジュールに選択する請求項1に記載の電力制御装置。
【請求項3】
前記プロセッサは、前記バッテリモジュールの電圧が前記補機に含まれる補機系システムの作動電圧範囲内である前記バッテリモジュールを前記補機に電力を供給する前記バッテリモジュールに選択する請求項1に記載の電力制御装置。
【請求項4】
前記プロセッサは、
前記補機に電力を供給する前記バッテリモジュールの電圧又はSOCである第1電圧又は第1SOCと、前記補機に電力を供給する前記バッテリモジュール以外のいずれか1つの前記バッテリモジュールの電圧又はSOCである第2電圧又は第2SOCと、を監視し、
前記第1電圧と前記第2電圧との差又は前記第1SOCと前記第2SOCとの差が閾値以上になった場合、又は前記第1電圧又は前記第1SOCが閾値以下になった場合、前記切替部の接続を切り替える請求項2又は3に記載の電力制御装置。
【請求項5】
前記補機の電力要求は、前記車両の始動電力である請求項2に記載の電力制御装置。
【請求項6】
前記プロセッサは、前記バッテリモジュールの健全度が高い前記バッテリモジュールを前記補機に電力を供給する前記バッテリモジュールに選択する請求項1に記載の電力制御装置。
【請求項7】
前記バッテリモジュールからの電力を降圧するDCDCコンバータを備え、
前記プロセッサは、
前記補機に電力を供給する前記バッテリモジュールの電圧又はSOCである第1電圧又は第1SOCと、前記補機に電力を供給する前記バッテリモジュール以外のいずれか1つの前記バッテリモジュールの電圧又はSOCである第2電圧又は第2SOCと、を監視し、
前記第1電圧と前記第2電圧との差又は前記第1SOCと前記第2SOCとの差が閾値以上になった場合、又は前記第1電圧又は前記第1SOCが閾値以下になった場合、前記補機に電力を供給する前記バッテリモジュール以外の前記バッテリモジュールからの電力を前記DCDCコンバータにより降圧して前記補機に電力を供給する前記バッテリモジュールに供給する請求項1に記載の電力制御装置。
発明の詳細な説明
【技術分野】
【0001】
本開示は、電力制御装置に関する。
続きを表示(約 1,500 文字)
【背景技術】
【0002】
特許文献1には、走行用モータに対して給電する複数の電池モジュールを備え、健全度の算出結果に基づいて複数の電池モジュールのうちから低圧電装品(補機)に給電する電池モジュールを選択する車両が記載されている。
【先行技術文献】
【特許文献】
【0003】
特開2022-155131号公報
【発明の概要】
【発明が解決しようとする課題】
【0004】
車両を始動するための電力は、補機に接続されたバッテリモジュールから供給される。また、車両が駐車中には、バッテリモジュールから補機に暗電流が流れる。その結果、暗電流により補機に接続されたバッテリモジュールの電力が低下すると、車両を始動できなくなる場合がある。
【0005】
本開示は、上記に鑑みてなされたものであって、車両が始動できなくなることを防止することができる電力制御装置を提供することを目的とする。
【課題を解決するための手段】
【0006】
本開示に係る電力制御装置は、複数のバッテリモジュールと車両の走行用モータ及び補機との接続を切り替える切替部と、前記バッテリモジュールの状態を検出する検出部と、前記バッテリモジュールの状態に応じて前記補機に電力を供給する前記バッテリモジュールを選択し、選択した前記バッテリモジュールが前記補機に接続されるよう前記切替部の接続を切り替えるように構成されるプロセッサと、を備える。
【発明の効果】
【0007】
本開示によれば、車両が始動できなくなることを防止することができる電力制御装置を実現することができる。
【図面の簡単な説明】
【0008】
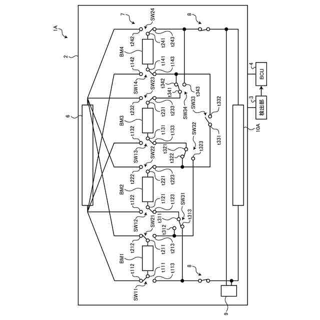
図1は、実施形態1に係る電力制御装置を含む車両の概略的な構成を表す図である。
図2は、バッテリモジュールの電圧の時間変化を表す図である。
図3は、バッテリモジュールBM2が補機に接続されている様子を表す図である。
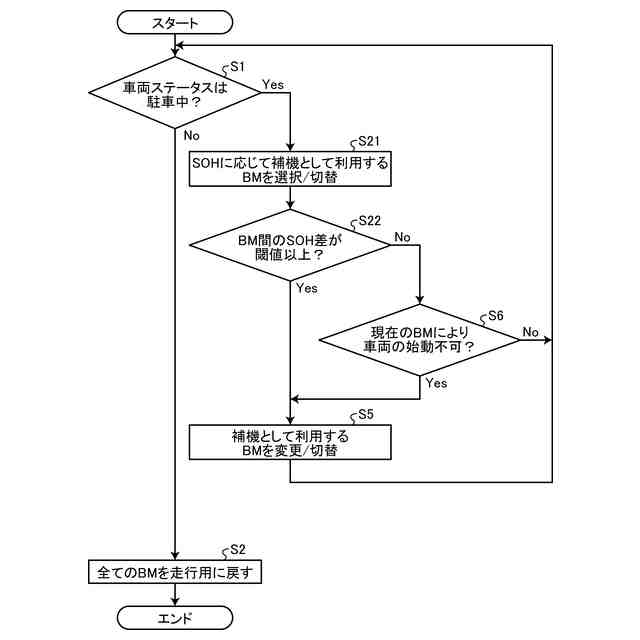
図4は、電力制御装置における処理を表すフローチャートである。
図5は、バッテリモジュールの電圧の時間変化を表す図である。
図6は、電力制御装置における処理を表すフローチャートである。
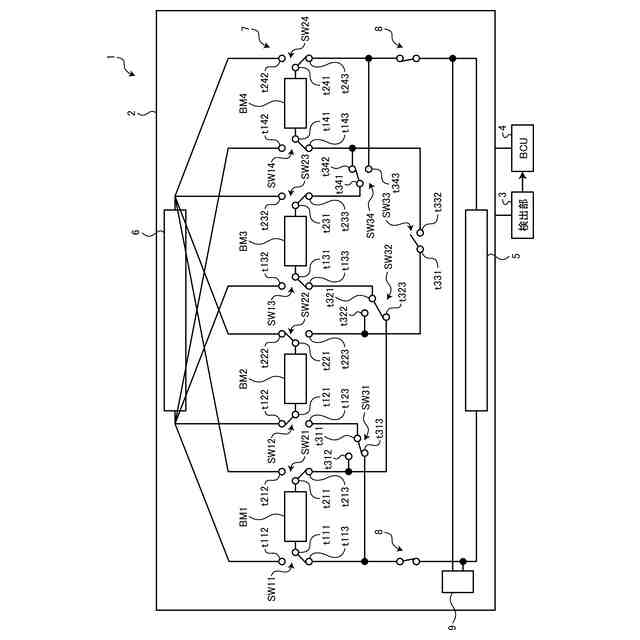
図7は、実施形態4に係る電力制御装置を含む車両の概略的な構成を表す図である。
図8は、バッテリモジュールの電圧の時間変化を表す図である。
図9は、電力制御装置における処理を表すフローチャートである。
図10は、バッテリモジュールのSOHの時間変化を表す図である。
図11は、実施形態6に係る電力制御装置を含む車両の概略的な構成を表す図である。
【発明を実施するための形態】
【0009】
本開示の実施形態に係る電力制御装置について、図面を参照しながら説明する。なお、下記実施形態における構成要素には、当業者が置換可能かつ容易なもの、あるいは実質的に同一のものが含まれる。
【0010】
(実施形態1)
〔車両の構成〕
図1は、実施形態1に係る電力制御装置を含む車両の概略的な構成を表す図である。車両1は、電気回路2と、検出部3と、BCU(Battery Control Unit)4と、走行用モータ5と、補機6と、バッテリモジュールBM1~BM4と、を備える。電気回路2は、切替部7と、リレー8と、DCDCコンバータ9と、を備える。
(【0011】以降は省略されています)
この特許をJ-PlatPat(特許庁公式サイト)で参照する
関連特許
トヨタ自動車株式会社
車両
今日
トヨタ自動車株式会社
車両
4日前
トヨタ自動車株式会社
車両
今日
トヨタ自動車株式会社
ロータ
2日前
トヨタ自動車株式会社
電解液
今日
トヨタ自動車株式会社
回転子
今日
トヨタ自動車株式会社
電動車
今日
トヨタ自動車株式会社
電動車
今日
トヨタ自動車株式会社
電動車
今日
トヨタ自動車株式会社
電動車
2日前
トヨタ自動車株式会社
電動車両
今日
トヨタ自動車株式会社
電源装置
今日
トヨタ自動車株式会社
検査装置
4日前
トヨタ自動車株式会社
蓄電装置
今日
トヨタ自動車株式会社
駆動装置
今日
トヨタ自動車株式会社
制御装置
今日
トヨタ自動車株式会社
塗布装置
2日前
トヨタ自動車株式会社
蓄電セル
2日前
トヨタ自動車株式会社
制御装置
4日前
トヨタ自動車株式会社
蓄電装置
2日前
トヨタ自動車株式会社
蓄電セル
2日前
トヨタ自動車株式会社
蓄電装置
1日前
トヨタ自動車株式会社
蓄電装置
1日前
トヨタ自動車株式会社
育苗装置
1日前
トヨタ自動車株式会社
蓄電装置
4日前
トヨタ自動車株式会社
制御装置
4日前
トヨタ自動車株式会社
切断装置
今日
トヨタ自動車株式会社
蓄電装置
4日前
トヨタ自動車株式会社
蓄電セル
今日
トヨタ自動車株式会社
蓄電装置
4日前
トヨタ自動車株式会社
電気自動車
今日
トヨタ自動車株式会社
電池パック
4日前
トヨタ自動車株式会社
積層構造体
今日
トヨタ自動車株式会社
電極積層体
1日前
トヨタ自動車株式会社
電池パック
今日
トヨタ自動車株式会社
シフト機構
今日
続きを見る
他の特許を見る