TOP
|
特許
|
意匠
|
商標
特許ウォッチ
Twitter
他の特許を見る
公開番号
2025140193
公報種別
公開特許公報(A)
公開日
2025-09-29
出願番号
2024039404
出願日
2024-03-13
発明の名称
水素製造システム及び水素製造方法
出願人
旭化成株式会社
代理人
個人
,
個人
,
個人
,
個人
主分類
C25B
9/00 20210101AFI20250919BHJP(電気分解または電気泳動方法;そのための装置)
要約
【課題】再生可能エネルギーによる発電電力が急激に低下しても水電解装置が故障することを防ぐ。
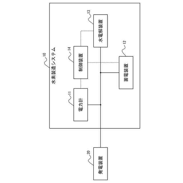
【解決手段】本開示に係る水素製造システム10は、再生可能エネルギーによって発電された発電電力を用いて水素を製造する。水素製造システム10は、水を電気分解して水素を製造する水電解装置13と、発電電力によって充電可能であり、充電した電力を水電解装置13に供給可能な蓄電装置12と、蓄電装置12を制御する制御装置14と、を備える。制御装置14は、水電解装置13に供給される発電電力が、水電解装置13の動作電力の最大変動速度を超える速度で低下すると、不足分の電力を蓄電装置12から水電解装置13に供給させる。
【選択図】図1
特許請求の範囲
【請求項1】
再生可能エネルギーによって発電された発電電力を用いて水素を製造する水素製造システムであって、
水を電気分解して水素を製造する水電解装置と、
前記発電電力によって充電可能であり、充電した電力を前記水電解装置に供給可能な蓄電装置と、
前記蓄電装置を制御する制御装置と、
を備え、
前記制御装置は、前記水電解装置に供給される前記発電電力が、前記水電解装置の動作電力の最大変動速度を超える速度で低下すると、不足分の電力を前記蓄電装置から前記水電解装置に供給させる、水素製造システム。
続きを表示(約 1,200 文字)
【請求項2】
請求項1に記載の水素製造システムにおいて、
前記制御装置は、前記水電解装置に供給される前記発電電力が、前記水電解装置の動作電力の前記最大変動速度を超える速度で上昇すると、過剰分の電力を前記蓄電装置に貯蔵させる、水素製造システム。
【請求項3】
請求項1に記載の水素製造システムにおいて、
前記蓄電装置の容量は、
0.5×基準電力量以上、且つ、5×基準電力量以下であり、
前記基準電力量は、下記の式(1)によって算出される電力量である、水素製造システム。
JPEG
2025140193000005.jpg
21
170
【請求項4】
請求項1に記載の水素製造システムにおいて、
前記制御装置は、
前記発電電力の変動を予測し、
前記発電電力が前記最大変動速度を超える速度で低下すると予測すると、前記水電解装置の動作電力を予め低下させ、
前記発電電力が前記最大変動速度を超える速度で上昇すると予測すると、前期水電解装置の動作電力を予め上昇させる、水素製造システム。
【請求項5】
請求項4に記載の水素製造システムにおいて、
前記制御装置は、気象データに基づいて前記発電電力の変動を予測する、水素製造システム。
【請求項6】
請求項1に記載の水素製造システムにおいて、
前記制御装置は、前記蓄電装置の充電量が所定の電力量以下の場合、前記水電解装置の動作よりも前記蓄電装置の充電を優先させる、水素製造システム。
【請求項7】
請求項1に記載の水素製造システムにおいて、
前記蓄電装置は、リチウムイオンバッテリ及びキャパシタの少なくともいずれかを備える、水素製造システム。
【請求項8】
請求項1に記載の水素製造システムにおいて、
前記水電解装置は、アルカリ水電解装置である、水素製造システム。
【請求項9】
再生可能エネルギーによって発電された発電電力を用いて水素を製造する水素製造方法であって、
水電解装置によって、水を電気分解して水素を製造するステップと、
前記水電解装置に供給される前記発電電力が、前記水電解装置の動作電力の最大変動速度を超える速度で低下すると、不足分の電力を蓄電装置から前記水電解装置に供給するステップと、
を含む、水素製造方法。
【請求項10】
請求項9に記載の水素製造方法において、
前記水電解装置に供給される前記発電電力が、前記水電解装置の動作電力の前記最大変動速度を超える速度で上昇すると、過剰分の電力を前記蓄電装置に貯蔵するステップをさらに含む、水素製造方法。
発明の詳細な説明
【技術分野】
【0001】
本開示は、水素製造システム及び水素製造方法に関する。
続きを表示(約 2,700 文字)
【背景技術】
【0002】
従来、再生可能エネルギーによって発電された発電電力を用いて水素を製造する水素製造システムが知られている。
【0003】
例えば特許文献1は、太陽電池の発電電力を用いて水素を製造する水素製造システムを開示している。特許文献1が開示する水素製造システムは、昼間は余剰電力で蓄電池を充電し、夜間は蓄電池の電力を水素製造装置に供給する。一般的に、このように蓄電池で再生エネルギーの出力低下時の電力を補おうとすると、大容量の蓄電池が必要になってしまう。また、特許文献1は、再生可能エネルギーによる発電電力の変動速度が水電解装置の動作電力の最大変動速度を超える場合の懸念点について言及していない。
【先行技術文献】
【特許文献】
【0004】
特開2005-48207号公報
【発明の概要】
【発明が解決しようとする課題】
【0005】
水を電気分解して水素を製造する水電解装置は、供給される電力に追従して動作電力を変動させることができる。再生可能エネルギーによって発電された発電電力を供給して水電解装置を動作させている場合、再生可能エネルギーによる発電電力が低下すると、それに追従して水電解装置の動作電力は低下する。
【0006】
この場合、再生可能エネルギーによる発電電力が、水電解装置の動作電力の最大変動速度を超える速度で低下すると、水電解装置のインターロック設定による緊急停止が発動し、水素製造機会を意図せず損なう場合がある。また、頻繁な緊急停止の繰り返し及び過度な変動速度が周辺機器の機械故障及び水電解装置の部材破損の原因となり、水電解装置が故障するおそれがあった。
【0007】
かかる事情に鑑みてなされた本開示の目的は、再生可能エネルギーによる発電電力が急激に低下しても水電解装置が故障することを防ぐことができる水素製造システム及び水素製造方法を提供することにある。
【課題を解決するための手段】
【0008】
すなわち、本発明は以下の通りである。
[1]
再生可能エネルギーによって発電された発電電力を用いて水素を製造する水素製造システムであって、
水を電気分解して水素を製造する水電解装置と、
前記発電電力によって充電可能であり、充電した電力を前記水電解装置に供給可能な蓄電装置と、
前記蓄電装置を制御する制御装置と、
を備え、
前記制御装置は、前記水電解装置に供給される前記発電電力が、前記水電解装置の動作電力の最大変動速度を超える速度で低下すると、不足分の電力を前記蓄電装置から前記水電解装置に供給させる、水素製造システム。
[2]
[1]に記載の水素製造システムにおいて、
前記制御装置は、前記水電解装置に供給される前記発電電力が、前記水電解装置の動作電力の前記最大変動速度を超える速度で上昇すると、過剰分の電力を前記蓄電装置に貯蔵させる、水素製造システム。
[3]
[1]又は[2]に記載の水素製造システムにおいて、
前記蓄電装置の容量は、
0.5×基準電力量以上、且つ、5×基準電力量以下であり、
前記基準電力量は、下記の式(1)によって算出される電力量である、水素製造システム。
JPEG
2025140193000002.jpg
21
170
[4]
[1]から[3]のいずれかに記載の水素製造システムにおいて、
前記制御装置は、
前記発電電力の変動を予測し、
前記発電電力が前記最大変動速度を超える速度で低下すると予測すると、前記水電解装置の動作電力を予め低下させ、
前記発電電力が前記最大変動速度を超える速度で上昇すると予測すると、前期水電解装置の動作電力を予め上昇させる、水素製造システム。
[5]
[1]から[4]のいずれかに記載の水素製造システムにおいて、
前記制御装置は、気象データに基づいて前記発電電力の変動を予測する、水素製造システム。
[6]
[1]から[5]のいずれかに記載の水素製造システムにおいて、
前記制御装置は、前記蓄電装置の充電量が所定の電力量以下の場合、前記水電解装置の動作よりも前記蓄電装置の充電を優先させる、水素製造システム。
[7]
[1]から[6]のいずれかに記載の水素製造システムにおいて、
前記蓄電装置は、リチウムイオンバッテリ及びキャパシタの少なくともいずれかを備える、水素製造システム。
[8]
[1]から[7]のいずれかに記載の水素製造システムにおいて、
前記水電解装置は、アルカリ水電解装置である、水素製造システム。
[9]
再生可能エネルギーによって発電された発電電力を用いて水素を製造する水素製造方法であって、
水電解装置によって、水を電気分解して水素を製造するステップと、
前記水電解装置に供給される前記発電電力が、前記水電解装置の動作電力の最大変動速度を超える速度で低下すると、不足分の電力を蓄電装置から前記水電解装置に供給するステップと、
を含む、水素製造方法。
[10]
[9]に記載の水素製造方法において、
前記水電解装置に供給される前記発電電力が、前記水電解装置の動作電力の前記最大変動速度を超える速度で上昇すると、過剰分の電力を前記蓄電装置に貯蔵するステップをさらに含む、水素製造方法。
【発明の効果】
【0009】
本開示に係る水素製造システム及び水素製造方法によれば、再生可能エネルギーによる発電電力が急激に低下しても水電解装置が故障することを防ぐことができる。
【図面の簡単な説明】
【0010】
一実施形態に係る水素製造システムの概略構成図である。
再生可能エネルギーによる発電電力及び水電解装置の動作電力の一例を示す図である。
基準電力量を説明するための図である。
再生可能エネルギーによる発電電力及び水電解装置の動作電力の他の例を示す図である。
【発明を実施するための形態】
(【0011】以降は省略されています)
この特許をJ-PlatPat(特許庁公式サイト)で参照する
関連特許
旭化成株式会社
フィルム
17日前
旭化成株式会社
発光素子
6日前
旭化成株式会社
フィルム
17日前
旭化成株式会社
ポリアミド組成物
5日前
旭化成株式会社
ポリアミド組成物
5日前
旭化成株式会社
表面保護フィルム
20日前
旭化成株式会社
燃料電池用成形品
24日前
旭化成株式会社
電解装置の運転方法
13日前
旭化成株式会社
分析方法及び分析装置
20日前
旭化成株式会社
分析方法及び分析装置
20日前
旭化成株式会社
酸性植物ミルク含有飲料
25日前
旭化成株式会社
組成物及びカプセル製剤
24日前
旭化成株式会社
プラスチックレンズの製造方法
19日前
旭化成株式会社
プラスチックレンズの製造方法
19日前
旭化成株式会社
ポリカーボネートポリオール組成物
20日前
旭化成株式会社
感光性樹脂積層体、及びその製造方法
20日前
旭化成株式会社
感光性樹脂積層体、及びその製造方法
20日前
旭化成株式会社
電解システムの制御方法及び電解システム
20日前
旭化成株式会社
炭素数6~8の炭化水素含有留分の製造方法
4日前
旭化成株式会社
接着剤組成物、セパレータ及び非水系二次電池
24日前
旭化成株式会社
情報処理装置、情報処理方法および情報処理プログラム
20日前
旭化成株式会社
窒化物半導体積層体の製造方法及び窒化物半導体積層体
25日前
旭化成株式会社
窒化物半導体積層体の製造方法及び窒化物半導体積層体
25日前
旭化成株式会社
樹脂組成物、樹脂フィルム、プリプレグ及び金属張積層板
10日前
旭化成株式会社
タスク処理支援装置、タスク処理システムおよびプログラム
25日前
旭化成株式会社
耐熱性縫製糸、ガラスクロス、及びガラスクロスの製造方法
7日前
旭化成株式会社
可能性情報生成システム、プログラム及び可能性情報生成方法
24日前
旭化成株式会社
ガラスクロス、プリプレグ、プリント配線板、及び表面処理液
5日前
旭化成株式会社
カーボンナノチューブとセルロースを含む繊維及びその製造方法
24日前
旭化成株式会社
水性コーティング組成物、接着層付き基材、及びハードコート積層体
20日前
旭化成株式会社
環状オレフィンコポリマー樹脂組成物、レンズ、導波路及びプリズム
17日前
旭化成株式会社
ポリアセタール樹脂の製造方法及びポリアセタール樹脂の安定化方法
17日前
旭化成株式会社
治療支援装置、治療支援方法、治療支援システムおよび容器回収デバイス
24日前
旭化成株式会社
感光性樹脂組成物、感光性樹脂積層体、及びレジストパターンの形成方法
4日前
旭化成株式会社
セルロース粉末及び成形体
19日前
旭化成株式会社
治療支援装置、治療支援システム、治療支援方法および治療支援プログラム
25日前
続きを見る
他の特許を見る