TOP
|
特許
|
意匠
|
商標
特許ウォッチ
Twitter
他の特許を見る
公開番号
2025148040
公報種別
公開特許公報(A)
公開日
2025-10-07
出願番号
2024048610
出願日
2024-03-25
発明の名称
ポリオレフィン系多層フィルム
出願人
旭化成株式会社
代理人
個人
,
個人
,
個人
主分類
B32B
27/32 20060101AFI20250930BHJP(積層体)
要約
【課題】
従来と同様の透明性やガスバリア性等の性能を有しつつ、高速包装機を用いた包装であっても、直進走行性及び密閉包装性に優れた、ポリオレフィン系多層フィルムを提供することを目的とする。
【解決手段】
前記課題を解決するべく、本発明は、2層以上のポリオレフィン系樹脂層を備えた、ポリオレフィン系多層フィルムであって、
前記ポリオレフィン系樹脂層として、ポリエチレン系樹脂を含む第1の表面層(S1)と、ポリオレフィン系樹脂を含む第2の表面層(S2)と、を備え、
前記第1の表面層(S1)は、表面観察した際、高さが30nm以上の突起状構造体を、0.2~5.8個/100μm
2
の範囲で有することを特徴とする。
【選択図】図3
特許請求の範囲
【請求項1】
2層以上のポリオレフィン系樹脂層を備えた、ポリオレフィン系多層フィルムであって、
前記ポリオレフィン系樹脂層として、ポリエチレン系樹脂を含む第1の表面層(S1)と、ポリオレフィン系樹脂を含む第2の表面層(S2)と、を備え、
前記第1の表面層(S1)は、表面観察した際、高さが30nm以上の突起状構造体を、0.2~5.8個/100μm
2
の範囲で有することを特徴とする、ポリオレフィン系多層フィルム。
続きを表示(約 590 文字)
【請求項2】
前記ポリオレフィン系多層フィルムの引張弾性率が、MD(長さ方向)とTD(幅方向)との積で、170000以上であることを特徴とする、請求項1に記載のポリオレフィン系多層フィルム。
【請求項3】
前記突起状構造体は、融点が125℃以上の熱可塑性樹脂からなる球晶由来の突起状構造体であることを特徴とする、請求項1又は2に記載のポリオレフィン系多層フィルム。
【請求項4】
前記突起状構造体を構成する熱可塑性樹脂は、前記第1の表面層(S1)のベース樹脂となるポリエチレン系樹脂との、測定温度190℃、荷重2.16kgで測定されるメチルフローレート(MFR)の差(S1のMFR-突起状構造体のMFR)が、7以下であることを特徴とする、請求項1又は2に記載のポリオレフィン系多層フィルム。
【請求項5】
前記第1の表面層(S1)と前記第2の表面層(S2)との間に、基材層をさらに備えることを特徴とする、請求項1又は2に記載のポリオレフィン系多層フィルム。
【請求項6】
前記第1の表面層(S1)と前記基材層との間に設けられた第1の内部層(I1)、及び、前記第2の表面層(S2)と前記基材層との間に設けられた第2の内部層(I2)をさらに備えることを特徴とする、請求項5に記載のポリオレフィン系多層フィルム。
発明の詳細な説明
【技術分野】
【0001】
本発明は、2層以上のポリオレフィン系樹脂層を備えた、ポリオレフィン系多層フィルムに関する。
続きを表示(約 2,900 文字)
【背景技術】
【0002】
従来、包装材料として、樹脂フィルムが使用されている。例えば、ポリオレフィンから構成される樹脂フィルムは、柔軟性及び透明性を有すると共に、ヒートシール性に優れるため、シーラントフィルムとして広く使用されている。ポリオレフィンから構成される樹脂フィルムは、通常、強度及び耐熱性の観点から基材としては使用できず、ポリエステルフィルム又はナイロンフィルムと貼り合わせて使用されている。そのため、通常の包装容器は、基材とシーラントフィルムとが異種の樹脂材料からなる積層フィルムから構成されている(例えば、特許文献1を参照。)。
【0003】
上述したような樹脂フィルムを用いた包装については、従来、フィルムの端を引き伸ばしながらトレーを包被し、トレーの裏面に折り返されたフィルム端部を自己密着、又は、さらに加熱プレートに押し当ててフィルム同士を熱密着させる包装方法、即ち、ストレッチ包装が行われてきた。また、熱収縮性を有するフィルムを用いてストレッチ包装を行った後、熱収縮させるストレッチシュリンク包装も行われており、これらに適したフィルムについても開発されている(例えば、特許文献2及び3を参照。)
【0004】
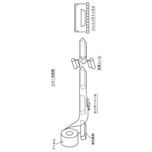
さらに、近年では、高速包装機、例えば図1に示すようなピロー用包装機を用いた包装も行われている。このようなピロー用包装機では、シート状のポリオレフィン系多層フィルムを繰り出し、フィルムが被包装物(内容物の載ったトレー)を上面から覆うように筒状に包み(製袋)、フィルムの両端を合掌させて、コンベアの下部にある回転式のロール状ヒートシーラーを回転させながら、フィルムの表面層同士をヒートシール(下部センターシール)し、次いで前後ヒートシーラーで包装体前側のシール直後に、前後ヒートシーラーに内包されている鋸歯状の刃によって前方の包装体単位を切り離し、次いで、後方の包装体単位も同様に前後ヒートシーラーで後側をシールすることにより密封が行われる。
【先行技術文献】
【特許文献】
【0005】
特開2009-202519号公報
特開平8-156975号公報
特開平6-179466号公報
【発明の概要】
【発明が解決しようとする課題】
【0006】
しかしながら、上述したピロー用包装機等の高速包装機により、従来のポリオレフィン系多層フィルムを用いた包装を実施した場合、繰り出したポリオレフィン系多層フィルムに一旦ズレが生じると、短時間でズレを戻すことが難しく、フィルムの直進走行性が悪化し、 密封包装が十分に行えない、という問題があった。特許文献2及び3に開示されたストレッチ包装やストレッチシュリンク包装に用いられるフィルムについても、高速包装に充分には対応できておらず、さらなるフィルムの改善が望まれていた。
【0007】
そのため、本発明は、従来と同様の透明性やガスバリア性等の性能を有しつつ、高速包装機を用いた包装であっても、直進走行性及び密閉包装性に優れた、ポリオレフィン系多層フィルムを提供することを目的とする。
【課題を解決するための手段】
【0008】
本発明者は、2層以上のポリオレフィン系樹脂層を備えたポリオレフィン系多層フィルムについて、上述した課題を解決するべく検討を行ったところ、送り出したポリオレフィン系多層フィルムに一旦ズレが生じた場合、従来のフィルムでは密着性が高すぎるために、フィルムがセンタリングされないまま走行し、センターシールが行われるまでにズレを戻すことができないことに着目した。
そして、さらに鋭意検討を重ねた結果、ポリオレフィン系樹脂層について、ポリエチレン系樹脂を含む第1の表面層(S1)と、ポリオレフィン系樹脂を含む第2の表面層(S2)と、を設けるとともに、第1の表面層(S1)について、特定の突起状構造体を形成することによって、ポリオレフィン系多層フィルムのローラーと接する表面にある程度の滑り性を付与し、フィルムの送り出時のセンタリングが可能となることから、センターシールが行われるまでにズレを修正することができ、高速包装機を用いた包装であっても、優れた直進走行性及びセンターシールを実現できることを見出した。加えて、ポリオレフィン系多層フィルムを構成する第2の表面層(S2)については、従来と同様の滑り性や強度等が付与されているため、包装機との滑り性が悪化することなく、良好な密閉包装性を維持できることも見出し、本発明を完成するに至った。
【0009】
本発明は、以上の知見に基づきなされたものであり、その要旨は以下の通りである。
(1)2層以上のポリオレフィン系樹脂層を備えた、ポリオレフィン系多層フィルムであって、
前記ポリオレフィン系樹脂層として、ポリエチレン系樹脂を含む第1の表面層(S1)と、ポリオレフィン系樹脂を含む第2の表面層(S2)と、を備え、
前記第1の表面層(S1)は、表面観察した際、高さが30nm以上の突起状構造体を、0.2~5.8個/100μm
2
の範囲で有することを特徴とする、ポリオレフィン系多層フィルム。
(2)前記ポリオレフィン系多層フィルムの引張弾性率が、MD(長さ方向)とTD(幅方向)との積で、170000以上であることを特徴とする、(1)に記載のポリオレフィン系多層フィルム。
(3)前記突起状構造体は、融点が125℃以上の熱可塑性樹脂からなる球晶由来の突起状構造体であることを特徴とする、(1)又は(2)に記載の包装体。
(4)前記突起状構造体を構成する熱可塑性樹脂は、前記第1の表面層(S1)のベース樹脂となるポリエチレン系樹脂との、測定温度190℃、荷重2.16kgで測定されるメチルフローレート(MFR)の差(S1のMFR-突起状構造体のMFR)が、7以下であることを特徴とする、(1)~(3)のいずれかに記載のポリオレフィン系多層フィルム。
(5)前記第1の表面層(S1)と前記第2の表面層(S2)との間に、基材層をさらに備えることを特徴とする、(1)~(4)のいずれかに記載のポリオレフィン系多層フィルム。
(6)前記第1の表面層(S1)と前記基材層との間に設けられた第1の内部層(I1)、及び、前記第2の表面層(S2)と前記基材層との間に設けられた第2の内部層(I2)をさらに備えることを特徴とする、(5)に記載のポリオレフィン系多層フィルム。
【発明の効果】
【0010】
本発明によれば、従来と同様の透明性やガスバリア性等の性能を有しつつ、高速包装機を用いた包装であっても、直進走行性及び密閉包装性に優れた、ポリオレフィン系多層フィルムを提供することができる。
【図面の簡単な説明】
(【0011】以降は省略されています)
この特許をJ-PlatPat(特許庁公式サイト)で参照する
関連特許
旭化成株式会社
成形体
9日前
旭化成株式会社
成形体
9日前
旭化成株式会社
検査装置
10日前
旭化成株式会社
研磨パッド
1か月前
旭化成株式会社
ゴム組成物
1か月前
旭化成株式会社
顆粒及び錠剤
5日前
旭化成株式会社
紫外線照射装置
17日前
旭化成株式会社
燃料電池用成形品
2日前
旭化成株式会社
積層体及び光学部材
13日前
旭化成株式会社
酸性植物ミルク含有飲料
3日前
旭化成株式会社
組成物及びカプセル製剤
2日前
旭化成株式会社
光照射成形体の製造方法
9日前
旭化成株式会社
水添共役ジエン系重合体
3日前
旭化成株式会社
ポリアセタール樹脂組成物
1か月前
旭化成株式会社
粉末ポリアミドの製造方法
3日前
旭化成株式会社
検査装置および検査システム
23日前
旭化成株式会社
樹脂製偏光ビームスプリッタ
1か月前
旭化成株式会社
硬化性組成物、及びその硬化物
1か月前
旭化成株式会社
ポリオレフィン系多層フィルム
5日前
旭化成株式会社
生体電極用導電布及びその用途
3日前
旭化成株式会社
ポリエチレン樹脂及びフィルム
9日前
旭化成株式会社
イソシアネート化合物の製造方法
10日前
旭化成株式会社
イソシアネート化合物の製造方法
10日前
旭化成株式会社
ホルムアルデヒドガスの製造方法
1か月前
旭化成株式会社
水素製造システム及び水素製造方法
13日前
旭化成株式会社
セルロース複合体及びその製造方法
5日前
旭化成株式会社
偽造防止ラベル及び管理状態判定方法
5日前
旭化成株式会社
生体電極体及び生体情報計測デバイス
9日前
旭化成株式会社
解析装置、システムおよびプログラム
16日前
旭化成株式会社
CNSLを用いたフェノールの製造方法
1か月前
旭化成株式会社
設計支援プログラムおよび設計支援装置
1か月前
旭化成株式会社
予測システム、プログラム、及び予測方法
1か月前
旭化成株式会社
ポリアセタール樹脂組成物及びその成形品
13日前
旭化成株式会社
マルチカメラシステム用カメラモジュール
5日前
旭化成株式会社
ポリアセタール樹脂組成物及び医療器具部品
13日前
旭化成株式会社
樹脂、マルチマテリアル部品および複合材料
3日前
続きを見る
他の特許を見る