TOP
|
特許
|
意匠
|
商標
特許ウォッチ
Twitter
他の特許を見る
10個以上の画像は省略されています。
公開番号
2025138110
公報種別
公開特許公報(A)
公開日
2025-09-25
出願番号
2024036948
出願日
2024-03-11
発明の名称
紫外線照射装置
出願人
旭化成株式会社
代理人
弁理士法人RYUKA国際特許事務所
主分類
A61L
2/10 20060101AFI20250917BHJP(医学または獣医学;衛生学)
要約
【課題】筐体内の載置面に載置された物体の一部に対して、略均一な強度で紫外線を照射することができる紫外線照射装置を提供する。
【解決手段】対象物を載せる載置面25を有する台10と、前記載置面に接続され、且つ前記対象物の一部を外部に露出させる開口20を含む第1側壁13を有し、前記載置面を覆うように前記台少なくとも一部が接合される筐体と、紫外線を前記載置面に向けて出力する発光面を有し、前記載置面に対向する前記筐体の内面に、前記発光面と前記載置面との成す前記開口側の角度が鋭角になるように前記発光面が前記載置面に対して傾斜した状態で、前記第1側壁側から前記第1側壁に対向する前記筐体の第2側壁側に向かって配列される複数の発光ダイオード32と、を備える。
【選択図】図1B
特許請求の範囲
【請求項1】
対象物を載せる載置面を有する台と、
前記載置面に接続され、且つ前記対象物の一部を外部に露出させる開口を含む第1側壁を有し、前記載置面を覆うように前記台に少なくとも一部が接合される筐体と、
紫外線を前記載置面に向けて出力する発光面を有し、前記載置面に対向する前記筐体の内面に、前記発光面と前記載置面との成す前記開口側の角度が鋭角になるように前記発光面が前記載置面に対して傾斜した状態で、前記第1側壁側から前記第1側壁に対向する前記筐体の第2側壁側に向かって配列される複数の発光ダイオードと
を備える紫外線照射装置。
続きを表示(約 990 文字)
【請求項2】
前記複数の発光ダイオードは、格子状に配列される、請求項1に記載の紫外線照射装置。
【請求項3】
前記筐体は、前記対象物の一部が前記開口を介して前記筐体の外側に露出した状態で前記載置面を覆う閉状態と、前記台と前記筐体との間の前記開口以外の空間を介して前記対象物が前記筐体の外部から前記載置面にアクセス可能な開状態とを切り替える機械的構造を有する、請求項1に記載の紫外線照射装置。
【請求項4】
前記機械的構造は、前記筐体を前記台に対して着脱可能にする構造である、請求項3に記載の紫外線照射装置。
【請求項5】
前記機械的構造は、前記第1側壁が前記筐体の本体に対して、開閉するヒンジ構造又はスライドするスライド構造である、請求項3に記載の紫外線照射装置。
【請求項6】
前記機械的構造は、前記筐体の前記第1側壁以外の側壁と前記台とを連結し、前記筐体が前記台に対して開閉するヒンジ構造である、請求項3に記載の紫外線照射装置。
【請求項7】
前記第1側壁の厚さをT、前記開口の径をD、前記開口と前記複数の発光ダイオードのうち、前記開口から最も遠位に設けられる発光ダイオードとを結ぶ直線と、前記載置面とのなす角をφとした場合、
D<T×tanφを満たす、
請求項1に記載の紫外線照射装置。
【請求項8】
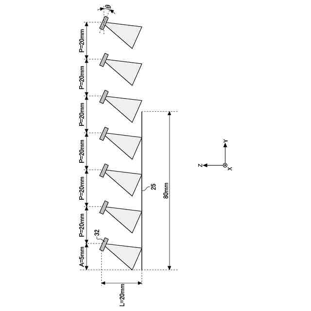
前記第1側壁から、前記複数の発光ダイオードのうち前記第1側壁に最も近い第1発光ダイオードまでの距離をA、前記複数の発光ダイオード同士の距離をP、前記第1発光ダイオードから前記載置面までの距離をLとした場合、
前記角度は、θ≦40度、且つ
arctan((A+P/3)/L)-10度≦θ≦arctan((A+P/3)/L)+10度
を満たす角度θである、請求項1に記載の紫外線照射装置。
【請求項9】
前記距離A、P、Lは、
arctan((A+P/3)/L)≦30度を満たす、
請求項8に記載の紫外線照射装置。
【請求項10】
前記複数の発光ダイオードは、200nmから280nmまでの波長を有する紫外線を照射する、請求項1に記載の紫外線照射装置。
(【請求項11】以降は省略されています)
発明の詳細な説明
【技術分野】
【0001】
本発明は、紫外線照射装置に関する。
続きを表示(約 1,200 文字)
【背景技術】
【0002】
特許文献1には、「殺菌のために、手に装着された状態の手袋に対して紫外線を照射する紫外線照射装置」が記載されている。特許文献2には、「立体物の処理面に紫外線を照射する紫外線照射装置」が記載されている。
[先行技術文献]
[特許文献]
[特許文献1] 特許5019628号
[特許文献2] 特開2017-24362号公報
【発明の概要】
【発明が解決しようとする課題】
【0003】
筐体内の載置面に載置された物体の一部に対して、略均一な強度で紫外線を照射することが望まれている。
【課題を解決するための手段】
【0004】
本発明の第1の態様においては、対象物を載せる載置面を有する台と、前記載置面に接続され、且つ前記対象物の一部を外部に露出させる開口を含む第1側壁を有し、前記載置面を覆うように前記台に少なくとも一部が接合される筐体と、紫外線を前記載置面に向けて出力する発光面を有し、前記載置面に対向する前記筐体の内面に、前記発光面と前記載置面との成す前記開口側の角度が鋭角になるように前記発光面が前記載置面に対して傾斜した状態で、前記第1側壁側から前記第1側壁に対向する前記筐体の第2側壁側に向かって配列される複数の発光ダイオードと、を備える紫外線照射装置を提供する。
【0005】
前記複数の発光ダイオードは、格子状に配列されてよい。
【0006】
何れかの前記紫外線照射装置において、前記筐体は、前記対象物の一部が前記開口を介して前記筐体の外側に露出した状態で前記載置面を覆う閉状態と、前記台と前記筐体との間の前記開口以外の空間を介して前記対象物が前記筐体の外部から前記載置面にアクセス可能な開状態とを切り替える機械的構造を有してよい。
【0007】
何れかの前記紫外線照射装置において、前記機械的構造は、前記筐体を前記台に対して着脱可能にする構造であってよい。
【0008】
何れかの前記紫外線照射装置において、前記機械的構造は、前記第1側壁が前記筐体の本体に対して、開閉するヒンジ構造又はスライドするスライド構造であってよい。
【0009】
何れかの前記紫外線照射装置において、前記機械的構造は、前記筐体の前記第1側壁以外の側壁と前記台とを連結し、前記筐体が前記台に対して開閉するヒンジ構造であってよい。
【0010】
何れかの前記紫外線照射装置において、前記第1側壁の厚さをT、前記開口の径をD、前記開口と前記複数の発光ダイオードのうち、前記開口から最も遠位に設けられる発光ダイオードとを結ぶ直線と、前記載置面とのなす角をφとした場合、
D<T×tanφを満たしてよい。
(【0011】以降は省略されています)
この特許をJ-PlatPat(特許庁公式サイト)で参照する
関連特許
旭化成株式会社
成形体
23日前
旭化成株式会社
成形体
23日前
旭化成株式会社
検査装置
24日前
旭化成株式会社
フィルム
9日前
旭化成株式会社
フィルム
9日前
旭化成株式会社
ゴム組成物
1か月前
旭化成株式会社
顆粒及び錠剤
19日前
旭化成株式会社
紫外線照射装置
1か月前
旭化成株式会社
燃料電池用成形品
16日前
旭化成株式会社
表面保護フィルム
12日前
旭化成株式会社
積層体及び光学部材
27日前
旭化成株式会社
電解装置の運転方法
5日前
旭化成株式会社
分析方法及び分析装置
12日前
旭化成株式会社
分析方法及び分析装置
12日前
旭化成株式会社
水添共役ジエン系重合体
17日前
旭化成株式会社
酸性植物ミルク含有飲料
17日前
旭化成株式会社
光照射成形体の製造方法
23日前
旭化成株式会社
組成物及びカプセル製剤
16日前
旭化成株式会社
粉末ポリアミドの製造方法
17日前
旭化成株式会社
検査装置および検査システム
1か月前
旭化成株式会社
硬化性組成物、及びその硬化物
1か月前
旭化成株式会社
生体電極用導電布及びその用途
17日前
旭化成株式会社
プラスチックレンズの製造方法
11日前
旭化成株式会社
プラスチックレンズの製造方法
11日前
旭化成株式会社
ポリオレフィン系多層フィルム
19日前
旭化成株式会社
ポリエチレン樹脂及びフィルム
23日前
旭化成株式会社
イソシアネート化合物の製造方法
24日前
旭化成株式会社
イソシアネート化合物の製造方法
24日前
旭化成株式会社
水素製造システム及び水素製造方法
27日前
旭化成株式会社
ポリカーボネートポリオール組成物
12日前
旭化成株式会社
セルロース複合体及びその製造方法
19日前
旭化成株式会社
偽造防止ラベル及び管理状態判定方法
19日前
旭化成株式会社
感光性樹脂積層体、及びその製造方法
12日前
旭化成株式会社
生体電極体及び生体情報計測デバイス
23日前
旭化成株式会社
解析装置、システムおよびプログラム
1か月前
旭化成株式会社
感光性樹脂積層体、及びその製造方法
12日前
続きを見る
他の特許を見る