TOP
|
特許
|
意匠
|
商標
特許ウォッチ
Twitter
他の特許を見る
10個以上の画像は省略されています。
公開番号
2025147600
公報種別
公開特許公報(A)
公開日
2025-10-07
出願番号
2024047929
出願日
2024-03-25
発明の名称
偽造防止ラベル及び管理状態判定方法
出願人
旭化成株式会社
代理人
個人
,
個人
,
個人
,
個人
主分類
G09F
3/00 20060101AFI20250930BHJP(教育;暗号方法;表示;広告;シール)
要約
【課題】偽造防止機能を有することに加え、温度管理が適切になされているかを判断することのできる、偽造防止ラベル及び管理状態判定方法を提供する。
【解決手段】
第1基材と保護層と、が積層され、前記第1基材の少なくとも一方の面上に形成された細線パターンを有し、前記第1基材の寸法変化率ΔL
1
と、前記保護層の寸法変化率ΔL
2
との関係が、式(1)の関係を満たす、偽造防止ラベル。
50ppm≦|ΔL
1
-ΔL
2
|≦2000ppm (1)
【選択図】図1
特許請求の範囲
【請求項1】
第1基材と
保護層と、が積層され、
前記第1基材の少なくとも一方の面上に形成された細線パターンを有し、
前記第1基材の寸法変化率ΔL
1
と、前記保護層の寸法変化率ΔL
2
との関係が、式(1)の関係を満たす、偽造防止ラベル。
50ppm≦|ΔL
1
-ΔL
2
|≦2000ppm (1)
(式中、
ΔL
1
は、L
A1
/L
B1
であり、
L
A1
は、相対湿度90%で60℃の条件に3日間配する試験を行った後の前記第1基材の長軸の寸法であり、
L
B1
は、前記試験前の前記第1基材の長軸の寸法であり、
ΔL
2
は、L
A2
/L
B2
であり、
L
A2
は、前記試験後の前記保護層の長軸の寸法であり、
L
B2
は、前記試験前の前記保護層の長軸の寸法である。)
続きを表示(約 570 文字)
【請求項2】
前記保護層が、第2基材である、請求項1に記載の偽造防止ラベル。
【請求項3】
前記第1基材と前記第2基材とが、接着剤により積層されている、請求項2に記載の偽造防止ラベル。
【請求項4】
前記第1基材又は前記第2基材の少なくともいずれか1つが透明である、請求項2に記載の偽造防止ラベル。
【請求項5】
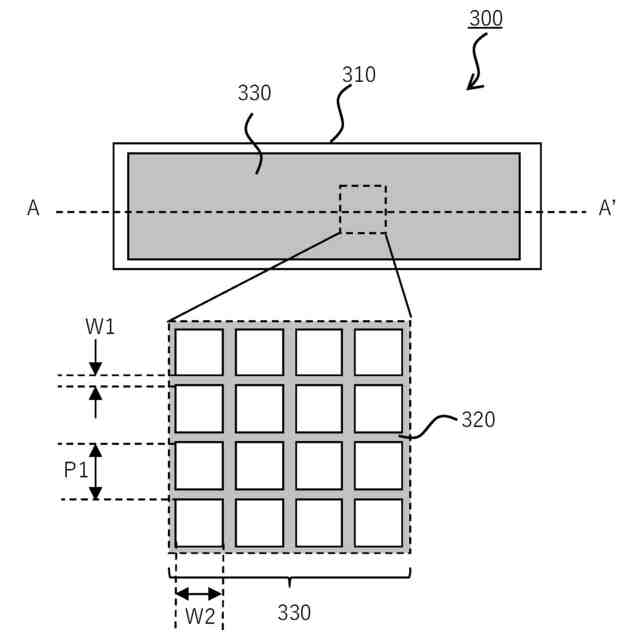
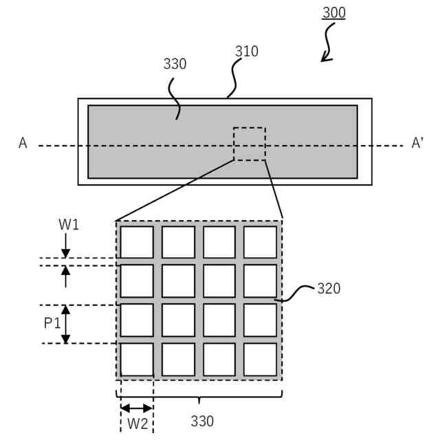
前記細線パターンが光の照射による反射光をフーリエ変換レンズにより結像することで光学像を形成可能である、請求項1に記載の偽造防止ラベル。
【請求項6】
前記光学像は、前記細線パターンより形成される反射回折像である、請求項5に記載の偽造防止ラベル。
【請求項7】
前記細線パターンは、線幅が5μm以下の細線を含む回折格子である、請求項1に記載の偽造防止ラベル。
【請求項8】
前記細線パターンの開口率は、60~99.9面積%である、請求項1に記載の偽造防止ラベル。
【請求項9】
タグ状である、請求項1に記載の偽造防止ラベル。
【請求項10】
請求項1~9のいずれかに記載の偽造防止ラベルの反りを測定すること、
を含む、管理状態判定方法。
(【請求項11】以降は省略されています)
発明の詳細な説明
【技術分野】
【0001】
本発明は、偽造防止ラベル及び管理状態判定方法に関する。
続きを表示(約 3,000 文字)
【背景技術】
【0002】
偽造品の流通防止策として、商品に偽造防止ラベルを付し、商品が正規品であることを判定するようなシステムが知られている。例えば、特許文献1は、高価な商品等に貼付けて使用し、不正な剥離がなされたことを検証できるようにした偽造防止ラベルとして、少なくとも基材と情報表示層と粘着層とが積層されてなる偽造防止ラベルであって、粘着層が、基材側より順に、少なくとも、第一接着層、回折構造形成層、第二接着層がこの相対的順序で積層されてなる複層構造であると共に、第一接着層の可視光透過率が50%以上であり、且つ、第一接着層と第二接着層を構成する材料の、JIS Z0237で規定される粘着力が、それぞれ8000mN/25mm以上であることを特徴とする偽造防止ラベルが開示されている。
【0003】
特許文献2では、流通する商品の真正性を保証することができるシステムに用いる情報処理方法として、情報処理装置が、照合対象製品に付されたシリアルコード又は前記照合対象製品の画像情報から、前記照合対象製品を特定可能な製品特定情報を取得する製品情報取得ステップと、前記照合対象製品に付された細線パターンから得られる光学像に関する光学像情報を取得する光学像取得ステップと、前記製品特定情報に対応する前記光学像の正解ラベルに関する正解情報と、取得した前記光学像情報と、を照合して、照合結果を生成する照合ステップと、を実行する、情報処理方法が開示されている。
【0004】
他方、流通商品の温度管理が適切になされているかを検知する手法として、温度識別機能を有するラベルが開示されている。例えば、特許文献3は、電子レンジ等で食品を加熱する場合に当該食品に適切な加熱状態を容易に判別することができるラベルとして、単層又は多層フィルムからなる基材フィルムの表面側に、該基材フィルムよりも熱収縮率が大きい熱収縮性フィルムが、前記基材フィルムに相対して収縮変形可能に貼着され、しかも前記基材フィルムの表面部には、熱収縮性フィルムの収縮度合いに対応する加熱温度を確認するための温度確認用表示部が設けられてなることを特徴とする加熱食品等用の加熱温度判別機能付ラベルが開示されている。
【0005】
特許文献4は、温度表示ラベル、詳しくは温度管理を必要とする各種機器類の所望部位に貼付し、あらかじめ設定された温度に達したとき、その事実を不可逆的に表示する温度表示ラベルとして、常温で固体状を呈する石油系ワックスや脂肪酸あるいはその化合物を主原料とし、前記主原料を粉末状に粉砕したものと適量の粘ちょう剤と溶剤とを混練してなり、前記主原料の分留精製温度に応じた固有の特定温度で、白濁した不透明状態から透明あるいは半透明に不可逆的に変化する温度物質を彩色面上に塗布して乾燥させた示温片を、シート状をなしたラベル基材の表面に位置せしめると共に、前記示温片近傍に、該示温片の変化開始温度と変化完了温度とを併記した表示部を設けたことを特徴とする高精度温度表示ラベルが開示されている。
【先行技術文献】
【特許文献】
【0006】
特開2011-227276号公報
国際公開2022/054869号
実開平2-140576号公報
特開2014-2040号公報
【発明の概要】
【発明が解決しようとする課題】
【0007】
特許文献1及び2の技術によれば、流通する商品に付することで偽造を防止することができる。革製品などの流通する商品によっては、適切な温度管理が求められることもある。
流通において商品に付される偽造防止ラベルに、温度履歴感知器機能を付することで、流通時に一定の温度を超える状態となっていないことがわかる上に、温度履歴情報の信憑性を高めることができる。
【0008】
本発明は、偽造防止機能を有することに加え、温度管理が適切になされているかを判断することのできる、偽造防止ラベル及び管理状態判定方法を提供する。
【課題を解決するための手段】
【0009】
本発明は、以下の実施形態を包含する。
<1>
第1基材と
保護層と、が積層され、
前記第1基材の少なくとも一方の面上に形成された細線パターンを有し、
前記第1基材の寸法変化率ΔL
1
と、前記保護層の寸法変化率ΔL
2
との関係が、式(1)の関係を満たす、偽造防止ラベル。
50ppm≦|ΔL
1
-ΔL
2
|≦2000ppm (1)
(式中、
ΔL
1
は、L
A1
/L
B1
であり、
L
A1
は、相対湿度90%で60℃の条件に3日間配する試験を行った後の前記第1基材の長軸の寸法であり、
L
B1
は、前記試験前の前記第1基材の長軸の寸法であり、
ΔL
2
は、L
A2
/L
B2
であり、
L
A2
は、前記試験後の前記保護層の長軸の寸法であり、
L
B2
は、前記試験前の前記保護層の長軸の寸法である。)
<2>
前記保護層が、第2基材である、<1>に記載の偽造防止ラベル。
<3>
前記第1基材と前記第2基材とが、接着剤により積層されている、<2>に記載の偽造防止ラベル。
<4>
前記第1基材又は前記第2基材の少なくともいずれか1つが透明である、<2>に記載の偽造防止ラベル。
<5>
前記細線パターンが光の照射による反射光をフーリエ変換レンズにより結像することで光学像を形成可能である、<1>~<4>のいずれかに記載の偽造防止ラベル。
<6>
前記光学像は、前記細線パターンより形成される反射回折像である、<5>に記載の偽造防止ラベル。
<7>
前記細線パターンは、線幅が5μm以下の細線を含む回折格子である、<1>~<6>のいずれかに記載の偽造防止ラベル。
<8>
前記細線パターンの開口率は、60~99.9面積%である、<1>~<7>のいずれかに記載の偽造防止ラベル。
<9>
タグ状である、<1>~<8>のいずれかに記載の偽造防止ラベル。
<10>
<1>~<9>のいずれかに記載の偽造防止ラベルの反りを測定すること、
を含む、管理状態判定方法。
<11>
前記偽造防止ラベルの反りの測定値に基づいて、流通の温度状態を判定すること、
を含む、<10>に記載の管理状態判定方法。
【発明の効果】
【0010】
本発明によれば、偽造防止機能を有することに加え、温度管理が適切になされているかを判断することのできる、偽造防止ラベル及び管理状態判定方法を提供することができる。
【図面の簡単な説明】
(【0011】以降は省略されています)
この特許をJ-PlatPat(特許庁公式サイト)で参照する
関連特許
日本精機株式会社
表示装置
17日前
個人
計算用教具
13日前
中国電力株式会社
標示旗
23日前
日本精機株式会社
車両用センサ装置
13日前
シャープ株式会社
表示装置
24日前
株式会社ウメラボ
学習支援システム
9日前
株式会社ウメラボ
学習支援システム
3日前
ニチレイマグネット株式会社
磁着式電飾装置
23日前
リンテック株式会社
表示体
2日前
株式会社リコー
画像投射システム
24日前
学校法人関西医科大学
腹腔鏡手術訓練装置
23日前
シチズンファインデバイス株式会社
液晶表示装置
1か月前
セイコーエプソン株式会社
表示方法
1か月前
セイコーエプソン株式会社
表示方法
1か月前
リンテック株式会社
粘着ラベル
3日前
TOPPANホールディングス株式会社
ラベル
13日前
キヤノン株式会社
発光装置
16日前
ローム株式会社
暗号化装置
3日前
セイコーエプソン株式会社
投射型表示装置
3日前
公立大学法人札幌市立大学
化学構造模型
4日前
株式会社半導体エネルギー研究所
表示装置、画像データの処理方法
13日前
アルプスアルパイン株式会社
情報処理システム
4日前
セイコーエプソン株式会社
表示装置及び電子機器
3日前
大日本印刷株式会社
学習支援装置及びプログラム
4日前
株式会社小糸製作所
照明表示装置
2日前
セイコーエプソン株式会社
表示装置及び電子機器
1か月前
日本放送協会
情報提示システム、領域抽出装置及びプログラム
2日前
リンテック株式会社
擬似接着ラベル
13日前
株式会社ジャパンディスプレイ
表示装置
24日前
株式会社ジャパンディスプレイ
表示装置
1か月前
TOPPANインフォメディア株式会社
ラベル
5日前
日本電気株式会社
予兆検出システム、予兆検出方法及びプログラム
9日前
東洋紡株式会社
フォルダブルディスプレイ用易接着性ポリエステルフィルム
2日前
東京ケーブルネットワーク株式会社
コミュニケーションデジタルサイネージ
9日前
株式会社フジシール
ラベルロールおよびラベル
2日前
キヤノン株式会社
発光装置、表示装置、撮像装置及び電子機器
4日前
続きを見る
他の特許を見る