TOP
|
特許
|
意匠
|
商標
特許ウォッチ
Twitter
他の特許を見る
10個以上の画像は省略されています。
公開番号
2025143746
公報種別
公開特許公報(A)
公開日
2025-10-02
出願番号
2024043152
出願日
2024-03-19
発明の名称
検査装置
出願人
旭化成株式会社
代理人
個人
,
個人
,
個人
,
個人
主分類
G01N
21/3581 20140101AFI20250925BHJP(測定;試験)
要約
【課題】非接触・非破壊の方法により、高分子材料の(機械的)物性を推定する検査を可能とする。
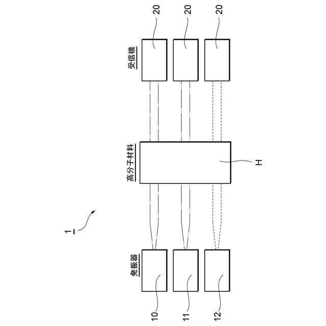
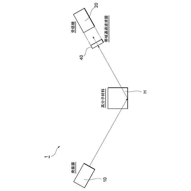
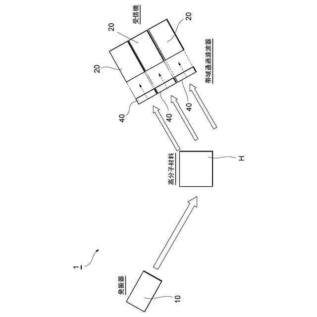
【解決手段】高分子材料の検査装置1は、特定範囲の電磁波を発することができる発振器10と、発振器10から導出された電磁波を受信し電気信号へ変換する電子素子、および電気信号を増幅する増幅器を備える受信機20と、受信機20で受信した電磁波の吸収量から演算する演算部と、で構成され、発振器10と受信機20の間にある高分子材料Hを介して、受信した電磁波の吸収量から高分子材料Hの電気的性質に加え、機械的・熱的性質を演算する。
【選択図】図2
特許請求の範囲
【請求項1】
高分子材料の検査装置であって、
特定範囲の電磁波を発することができる発振器と、
前記発振器から導出された電磁波を受信し電気信号へ変換する電子素子、および前記電気信号を増幅する増幅器を備える受信機と、
前記受信機で受信した電磁波の吸収量から演算する演算部と、
で構成され、
前記発振器と前記受信機の間にある高分子材料を介して、受信した前記電磁波の吸収量から前記高分子材料の電気的性質に加え、機械的・熱的性質を演算する検査装置。
続きを表示(約 750 文字)
【請求項2】
前記発振器が発する電磁波の波長帯が、近赤外からミリ波帯である請求項1の検査装置。
【請求項3】
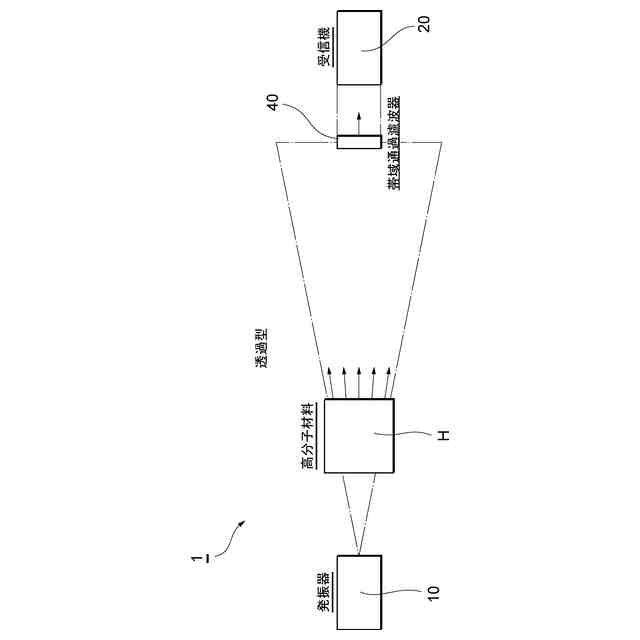
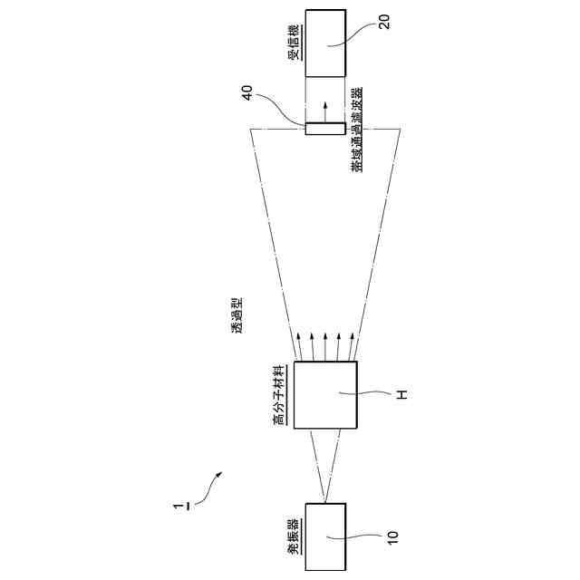
前記受信機と前記高分子材料の間に、電磁波から特定の波長のみを受信するための帯域通過濾波器を備える請求項1の検査装置。
【請求項4】
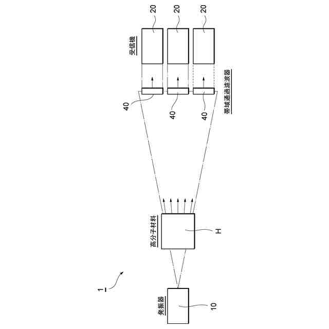
前記受信機と前記帯域通過濾波器を複数備え、異なる波長の電磁波を複数受信できる、請求項3の検査装置。
【請求項5】
前記受信機と前記高分子材料の間に、前記高分子材料を介した電磁波を波長毎に受信できる回折器を備える、請求項1の検査装置。
【請求項6】
前記受信機と前記高分子材料の間に、前記高分子材料を介した電磁波を波長毎に受信できる干渉器を備える、請求項1の検査装置。
【請求項7】
前記受信機と前記高分子材料の間に、前記高分子材料を介した電磁波を波長毎に受信できる三稜鏡を備える、請求項1の検査装置。
【請求項8】
前記発振器と、対となる前記受信機を複数備え、前記発振器の光源および前記受信機の受光素子の種類により、複数の波長を受信する請求項1の検査装置。
【請求項9】
前記演算部は、前記受信機で受信した電磁波から、前記高分子材料を介することで発生する干渉や迷光等の光の影響によるノイズを除去する算法を備える、請求項1から8のいずれか一項に記載の検査装置。
【請求項10】
前記演算部は、前記受信機で受信した、前記高分子材料における電磁波の吸収量から、前記高分子材料の電気的性質に加え、機械的、熱的性質を推定する算法を備える、請求項1から8のいずれか一項に記載の検査装置。
(【請求項11】以降は省略されています)
発明の詳細な説明
【技術分野】
【0001】
本発明は、検査装置に関する。
続きを表示(約 1,000 文字)
【背景技術】
【0002】
高分子材料を用いた、膜製品や糸製品の性能・品質検査において、従来手法では製品の一部を抜き取り、破壊検査が行われており、品質担保の為の全数検査のためにも非破壊検査の方法が望まれている。一方、非破壊の有効な手段として電磁波を用いる方法もあるが、電気的性質の測定に利用されているものの、機械的・熱的性質を測定することが知られていない。検波(電磁波)を用いる方法は膜製品等の性質・特性を計測する方法にかぎられている。
【先行技術文献】
【特許文献】
【0003】
特開2001-21503号公報
【発明の概要】
【発明が解決しようとする課題】
【0004】
このように、検波(電磁波)を利用した方法を採用する場合、特許文献1に記載されるような光学的・電気的性質を測定する技術としてよく用いられるが、被対象物の機械的・熱的性質を測定する手法はない。
【0005】
また、昨今では、製品により高い性能を求めるニーズがあり、製品全て(全数)を検査することが望まれている。全数を検査するためには、その製品の性能・品質を変えることなく検査を行う必要があるため、非接触・非破壊で検査する必要がある。
【0006】
赤外光は、可視光よりも波長が長く、一般的に高分子内(結合間)での振動に寄与した吸収ピークがあることが公知である。
【0007】
赤外光よりも波長の長い、テラヘルツ波・ミリ波は、赤外光より広範囲の領域を見ることに適しており、高分子材料において、高分子間の振動(分子間引力)やその絡み合いといった高次構造を見ることができると一般的に知られている。
【0008】
膜製品や糸製品の機械的性質や熱的性質は、人の目に見え、ある程度扱いやすい大きさを用いていることから、高分子のマクロ的な性質を計測していると考えられる。
【0009】
これに対して、従来、良く使用されている赤外分光等で得られる情報だけでは、分子の局所的(ミクロ)な性質(結晶性等)だけを見ていることになうため、マクロ的な性質の推定は困難である。
【0010】
そこで、より波長の長いテラヘルツ波やミリ波を同時に使用することで、高分子材料の性質をミクロ的にもマクロ的にも抑えることができるようになる。
(【0011】以降は省略されています)
この特許をJ-PlatPat(特許庁公式サイト)で参照する
関連特許
旭化成株式会社
フィルム
12日前
旭化成株式会社
発光素子
1日前
旭化成株式会社
フィルム
12日前
旭化成株式会社
ポリアミド組成物
今日
旭化成株式会社
表面保護フィルム
15日前
旭化成株式会社
ポリアミド組成物
今日
旭化成株式会社
燃料電池用成形品
19日前
旭化成株式会社
電解装置の運転方法
8日前
旭化成株式会社
分析方法及び分析装置
15日前
旭化成株式会社
分析方法及び分析装置
15日前
旭化成株式会社
組成物及びカプセル製剤
19日前
旭化成株式会社
プラスチックレンズの製造方法
14日前
旭化成株式会社
プラスチックレンズの製造方法
14日前
旭化成株式会社
ポリカーボネートポリオール組成物
15日前
旭化成株式会社
感光性樹脂積層体、及びその製造方法
15日前
旭化成株式会社
感光性樹脂積層体、及びその製造方法
15日前
旭化成株式会社
電解システムの制御方法及び電解システム
15日前
旭化成株式会社
接着剤組成物、セパレータ及び非水系二次電池
19日前
旭化成株式会社
情報処理装置、情報処理方法および情報処理プログラム
15日前
旭化成株式会社
樹脂組成物、樹脂フィルム、プリプレグ及び金属張積層板
5日前
旭化成株式会社
タスク処理支援装置、タスク処理システムおよびプログラム
20日前
旭化成株式会社
耐熱性縫製糸、ガラスクロス、及びガラスクロスの製造方法
2日前
旭化成株式会社
可能性情報生成システム、プログラム及び可能性情報生成方法
19日前
旭化成株式会社
ガラスクロス、プリプレグ、プリント配線板、及び表面処理液
今日
旭化成株式会社
カーボンナノチューブとセルロースを含む繊維及びその製造方法
19日前
旭化成株式会社
水性コーティング組成物、接着層付き基材、及びハードコート積層体
15日前
旭化成株式会社
環状オレフィンコポリマー樹脂組成物、レンズ、導波路及びプリズム
12日前
旭化成株式会社
ポリアセタール樹脂の製造方法及びポリアセタール樹脂の安定化方法
12日前
旭化成株式会社
治療支援装置、治療支援方法、治療支援システムおよび容器回収デバイス
19日前
旭化成株式会社
セルロース粉末及び成形体
14日前
旭化成株式会社
治療支援装置、治療支援システム、治療支援方法および治療支援プログラム
20日前
旭化成株式会社
変性共役ジエン系重合体の製造方法、並びに、そのゴム組成物及び加硫ゴム組成物
15日前
旭化成株式会社
エタノールの変換方法、及びその他炭化水素の製造方法
14日前
旭化成株式会社
ネガ型感光性樹脂組成物及びこれを用いた硬化レリーフパターンの製造方法
15日前
旭化成株式会社
感光性樹脂組成物、並びにこれを用いたポリイミド硬化膜の製造方法及びポリイミド硬化膜
12日前
個人
メジャー文具
22日前
続きを見る
他の特許を見る