TOP
|
特許
|
意匠
|
商標
特許ウォッチ
Twitter
他の特許を見る
公開番号
2025155987
公報種別
公開特許公報(A)
公開日
2025-10-14
出願番号
2025037509
出願日
2025-03-10
発明の名称
感光性樹脂積層体、及びその製造方法
出願人
旭化成株式会社
代理人
個人
,
個人
,
個人
,
個人
,
個人
,
個人
主分類
G03F
7/004 20060101AFI20251002BHJP(写真;映画;光波以外の波を使用する類似技術;電子写真;ホログラフイ)
要約
【課題】レジストパターンに近年特に要求される特性を満足する該レジストパターンを実現でき、経時的な品質安定性を確保可能な、感光性樹脂積層体を提供する。
【解決手段】仮支持層、感光性樹脂組成物を含む感光性樹脂層、及び保護層を含む、感光性樹脂積層体であって、前記感光性樹脂組成物は、下記成分:(A)アルカリ可溶性高分子、(B)エチレン性不飽和結合を有する化合物、及び(C)光重合開始剤、を含み、前記(B)成分は、(b1)重量平均分子量が540以下であり、かつ、エチレン性不飽和結合を2個以上有する化合物、を含み、前記感光性樹脂層の厚さtr(μm)、前記保護層の厚さtp(μm)が、下記式:
tp≧25・・・(1)
1≦tp/tr≦3・・・(2)
をともに満たす。
【選択図】図1
特許請求の範囲
【請求項1】
仮支持層、感光性樹脂組成物を含む感光性樹脂層、及び保護層を含む、感光性樹脂積層体であって、
前記感光性樹脂組成物は、下記成分:
(A)アルカリ可溶性高分子、
(B)エチレン性不飽和結合を有する化合物、及び
(C)光重合開始剤、
を含み、
前記(B)成分は、
(b1)分子量が540以下であり、かつ、エチレン性不飽和結合を2個以上有する化合物、
を含み、
前記感光性樹脂層の厚さtr(μm)、前記保護層の厚さtp(μm)が、下記式:
tp≧25 ・・・ (1)
1≦tp/tr≦3 ・・・ (2)
をともに満たす、感光性樹脂積層体。
続きを表示(約 850 文字)
【請求項2】
前記感光性樹脂組成物は、更に下記成分:
(D)重合禁止剤
を含み、前記(D)成分は、沸点が280℃以上の化合物を含む、請求項1に記載の感光性樹脂積層体。
【請求項3】
前記沸点が280℃以上の化合物は、フェノチアジン、フェノチアジン誘導体、及びカテコール誘導体、から成る群から選択される少なくとも1つを含む、請求項2に記載の感光性樹脂積層体。
【請求項4】
前記(b1)化合物は、エチレン性不飽和結合を2個有する化合物である、請求項1又は2に記載の感光性樹脂積層体。
【請求項5】
前記(b1)化合物の含有量が、前記感光性樹脂組成物の固形分に対して、1.5~5.0質量%である、請求項1又は2に記載の感光性樹脂積層体。
【請求項6】
前記保護層の厚さtp(μm)が、前記感光性樹脂組成物の固形分に対する前記(b1)化合物の含有量(質量%)の、2.0倍以上である、請求項1又は2に記載の感光性樹脂積層体。
【請求項7】
前記(B)成分は、更に、
(b2)分子量が900以上であり、かつ、エチレン性不飽和結合を3~6個有する化合物、
を含む、請求項1又は2に記載の感光性樹脂積層体。
【請求項8】
前記(b1)化合物の含有量と、前記(b2)化合物の含有量と、の比{(b1)化合物/(b2)化合物}が、0.1~1.0である、請求項7に記載の感光性樹脂積層体。
【請求項9】
前記(A)成分の含有量と、前記(B)成分の含有量と、の比{(A)成分/(B)成分}が、1.30以上である、請求項1又は2に記載の感光性樹脂積層体。
【請求項10】
前記(A)成分の含有量と、前記(B)成分の含有量と、の比{(A)成分/(B)成分}が、1.50以上である、請求項1又は2に記載の感光性樹脂積層体。
(【請求項11】以降は省略されています)
発明の詳細な説明
【技術分野】
【0001】
本開示は、感光性樹脂積層体、及びその製造方法等に関する。
続きを表示(約 2,800 文字)
【背景技術】
【0002】
電子機器における微細配線(導体パターン)は、例えば、フォトリソグラフィープロセスを用いて製造される。フォトリソグラフィープロセスは、例えば、以下の工程:
感光性樹脂積層体における感光性樹脂層を基板に積層し、そして露光、及び現像を経ることで、レジストパターンを形成する工程、
上記レジストパターンを形成した基板に対して、エッチング又はめっき処理を行うことにより、導体パターンを形成する工程、及び、
基板上のレジストパターンを除去する工程、
を有する。
【0003】
ここで、感光性樹脂層は感光性樹脂組成物を含む。感光性樹脂組成物としては、例えば、アルカリ可溶性高分子、エチレン性不飽和結合を有する化合物、及び光重合開始剤を含むものが知られている(例えば、特許文献1、及び2参照)。
【先行技術文献】
【特許文献】
【0004】
特開2019-133143号公報
国際公開第2018/105532号
【発明の概要】
【発明が解決しようとする課題】
【0005】
電子機器の小型化、及び高密度化が近年進んでいるため、レジストパターンには、良好な解像性を実現できること、かつ、基板との良好な密着性を実現できること、が求められている。従って、この種の特性の向上を図る点で、従来技術には改善の余地があった。
【0006】
また、感光性樹脂層は、所定期間の保管(輸送を含む)を経て使用される実情があるため、経時的な品質安定性をいかにして確保するかの課題について、解決が待たれていた。
【0007】
本発明の目的は、レジストパターンに近年特に要求される特性を満足する該レジストパターンを実現でき、かつ、経時的な品質安定性を確保可能な、感光性樹脂積層体を提供することにある。
また、本発明の目的は、かかる感光性樹脂積層体を用いて得られる感光性樹脂積層体ロール、及びかかる感光性樹脂積層体の製造方法、を提供することにある。
【課題を解決するための手段】
【0008】
本発明の一態様は、以下のとおりである。
[1]
仮支持層、感光性樹脂組成物を含む感光性樹脂層、及び保護層を含む、感光性樹脂積層体であって、
前記感光性樹脂組成物は、下記成分:
(A)アルカリ可溶性高分子、
(B)エチレン性不飽和結合を有する化合物、及び
(C)光重合開始剤、
を含み、
前記(B)成分は、
(b1)分子量が540以下であり、かつ、エチレン性不飽和結合を2個以上有する化合物、
を含み、
前記感光性樹脂層の厚さtr(μm)、前記保護層の厚さtp(μm)が、下記式:
tp≧25 ・・・ (1)
1≦tp/tr≦3 ・・・ (2)
をともに満たす、感光性樹脂積層体。
[2]
前記感光性樹脂組成物は、更に下記成分:
(D)重合禁止剤
を含み、前記(D)成分は、沸点が280℃以上の化合物を含む、項目1に記載の感光性樹脂積層体。
[3]
前記沸点が280℃以上の化合物は、フェノチアジン、フェノチアジン誘導体、及びカテコール誘導体、から成る群から選択される少なくとも1つを含む、項目2に記載の感光性樹脂積層体。
[4]
前記(b1)化合物は、エチレン性不飽和結合を2個有する化合物である、項目1~3のいずれか1項に記載の感光性樹脂積層体。
[5]
前記(b1)化合物の含有量が、前記感光性樹脂組成物の固形分に対して、1.5~5.0質量%である、項目1~4のいずれか1項に記載の感光性樹脂積層体。
[6]
前記保護層の厚さtp(μm)が、前記感光性樹脂組成物の固形分に対する前記(b1)化合物の含有量(質量%)の、2.0倍以上である、項目1~5のいずれか1項に記載の感光性樹脂積層体。
[7]
前記(B)成分は、更に、
(b2)分子量が900以上であり、かつ、エチレン性不飽和結合を3~6個有する化合物、
を含む、項目1~6のいずれか1項に記載の感光性樹脂積層体。
[8]
前記(b1)化合物の含有量と、前記(b2)化合物の含有量と、の比{(b1)化合物/(b2)化合物}が、0.1~1.0である、項目7に記載の感光性樹脂積層体。
[9]
前記(A)成分の含有量と、前記(B)成分の含有量と、の比{(A)成分/(B)成分}が、1.30以上である、項目1~8のいずれか1項に記載の感光性樹脂積層体。
[10]
前記(A)成分の含有量と、前記(B)成分の含有量と、の比{(A)成分/(B)成分}が、1.50以上である、項目1~9のいずれか1項に記載の感光性樹脂積層体。
[11]
前記(A)成分の含有量と、前記(B)成分の含有量と、の比{(A)成分/(B)成分}が、1.69以下である、項目1~10のいずれか1項に記載の感光性樹脂積層体。
[12]
下記成分:
(A)アルカリ可溶性高分子、
(B)エチレン性不飽和結合を有する化合物、及び
(C)光重合開始剤、
を含む感光性樹脂組成物を仮支持層上に塗布し、そして塗膜を形成する工程、
前記塗膜を乾燥することで、感光性樹脂層を得る工程、
前記感光性樹脂層の、前記仮支持層とは反対側に、保護層を積層する工程、
を含み、
前記(B)成分は、
(b1)分子量が540以下であり、かつ、エチレン性不飽和結合を2個以上有する化合物、
【発明の効果】
【0009】
レジストパターンに近年特に要求される特性である、解像性、及び密着性を総合して「画像性」として取り扱うことに着目すると、本発明によれば、画像性の良好なレジストパターンを実現でき、かつ、経時的な品質安定性を確保可能な、感光性樹脂積層体を提供することができる。
また、本発明によれば、かかる感光性樹脂積層体を用いて得られる感光性樹脂積層体ロール、及びかかる感光性樹脂積層体の製造方法、を提供することができる。
【図面の簡単な説明】
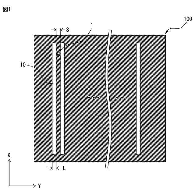
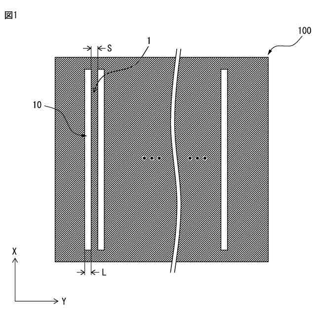
【0010】
本実施例に関連する、マスクパターンの構成を示す平面図。
本実施例に関連する、マスクパターンの構成を示す平面図。
【発明を実施するための形態】
(【0011】以降は省略されています)
この特許をJ-PlatPat(特許庁公式サイト)で参照する
関連特許
旭化成株式会社
成形品
9日前
旭化成株式会社
発光素子
1か月前
旭化成株式会社
非水系二次電池
1日前
旭化成株式会社
熱硬化性組成物
9日前
旭化成株式会社
ポリアミド組成物
1か月前
旭化成株式会社
ポリアミド組成物
1か月前
旭化成株式会社
電解装置の運転方法
1か月前
旭化成株式会社
漂白方法及び漂白装置
2日前
旭化成株式会社
ポリカーボネートジオール
24日前
旭化成株式会社
方針作成装置およびプログラム
9日前
旭化成株式会社
ポリアミド樹脂組成物及び成形品
22日前
旭化成株式会社
フィルム用収容箱及びフィルム収容体
1日前
旭化成株式会社
フィルム用収容箱及びフィルム収容体
1日前
株式会社日立製作所
鉄道車両用空調装置
23日前
旭化成株式会社
炭素数6~8の炭化水素含有留分の製造方法
1か月前
旭化成株式会社
非水電池用セパレータ、およびこれを用いた非水電池
9日前
旭化成株式会社
焼結成形体用組成物、グリーン成形体、及び焼結成形体
15日前
旭化成株式会社
樹脂組成物、樹脂フィルム、プリプレグ及び金属張積層板
1か月前
旭化成株式会社
耐熱性縫製糸、ガラスクロス、及びガラスクロスの製造方法
1か月前
旭化成株式会社
箱型成形体
9日前
旭化成株式会社
ガラスクロス、プリプレグ、プリント配線板、及び表面処理液
1か月前
旭化成株式会社
感光性樹脂組成物、硬化レリーフパターンの製造方法及び半導体装置
22日前
旭化成株式会社
偽造防止用積層体、並びに、偽造防止用積層体付帯物及びその製造方法
1日前
旭化成株式会社
偽造防止用積層体、並びに、偽造防止用積層体付帯物及びその製造方法
1日前
旭化成株式会社
偽造防止用積層体、並びに、偽造防止用積層体付帯物及びその製造方法
1日前
旭化成株式会社
感光性樹脂組成物、感光性樹脂積層体、及びレジストパターンの形成方法
1か月前
旭化成株式会社
電池診断モデルの生成方法、電池診断モデル、電池診断装置、及び電池診断システム
22日前
旭化成株式会社
共役ジエン系重合体及びその製造方法、並びにゴム組成物。
1日前
旭化成株式会社
感光性樹脂組成物、並びにこれを用いた硬化レリーフパターンの製造方法、硬化膜及びポリイミド膜の製造方法
22日前
旭化成株式会社
太陽電池用表面保護フィルム、太陽電池用表面保護材、太陽電池モジュール、及び太陽電池モジュールの製造方法
3日前
旭化成株式会社
太陽電池用表面保護フィルム、太陽電池用表面保護材、太陽電池モジュール、及び太陽電池モジュールの製造方法
3日前
旭化成株式会社
感光性樹脂組成物、並びにこれを用いたポリイミド硬化膜の製造方法及びポリイミド硬化膜
1か月前
個人
表示装置
1か月前
個人
雨用レンズカバー
1か月前
株式会社シグマ
絞りユニット
2か月前
キヤノン株式会社
撮像装置
1か月前
続きを見る
他の特許を見る