TOP
|
特許
|
意匠
|
商標
特許ウォッチ
Twitter
他の特許を見る
10個以上の画像は省略されています。
公開番号
2025157508
公報種別
公開特許公報(A)
公開日
2025-10-15
出願番号
2025123845,2023577073
出願日
2025-07-24,2023-01-30
発明の名称
エタノールの変換方法、及びその他炭化水素の製造方法
出願人
旭化成株式会社
代理人
個人
,
個人
,
個人
,
個人
主分類
C07C
1/20 20060101AFI20251007BHJP(有機化学)
要約
【課題】エタノールの変換方法及びその他炭化水素の製造方法の提供。
【解決手段】(1)エチレン及びエタノールを含有する混合原料を、断熱型反応器内で触媒と接触させ、炭素数3以上のオレフィンを含有する反応ガスを得ることを含む、エタノールの変換方法、(2)メタノール及びエタノールを含有する混合原料を、断熱型反応器内で触媒と接触させ、炭素数3以上のオレフィンを含有する反応ガスを得ることを含む、エタノールの変換方法、及び(3)エタノール及びエチレンを含有する混合原料を、断熱型反応器内で触媒と接触させ、炭素数3以上のオレフィンを含有する反応ガスを得ることと、前記反応ガスを、第1の蒸留塔により炭素数2~3の炭化水素を主に含む留分Aと、炭素数4~6の炭化水素を主に含む留分Bとに分離することと、留分Aの少なくとも一部を、前記反応工程に混合原料の一部としてリサイクルすることと、を含む、エタノールの変換方法。
【選択図】図1
特許請求の範囲
【請求項1】
エチレン及びエタノールを含有する混合原料を、断熱型反応器内で触媒と接触させ、炭素数3以上のオレフィンを含有する反応ガスを得ることを含む、エタノールの変換方法。
続きを表示(約 660 文字)
【請求項2】
前記混合原料中のエチレン/エタノールのモル比が0.20~2.5である、請求項1に記載のエタノールの変換方法。
【請求項3】
前記混合原料中のエチレン/エタノールのモル比が0.20~2.0である、請求項1に記載のエタノールの変換方法。
【請求項4】
前記反応ガスからエチレン及びプロピレンを分離することを含む、請求項1に記載のエタノールの変換方法。
【請求項5】
前記混合原料が炭素数4~6のオレフィンを含有する、請求項1に記載のエタノールの変換方法。
【請求項6】
前記混合原料中の炭素数4~6のオレフィン/エチレンのモル比が3.0以下である、請求項5に記載のエタノールの変換方法。
【請求項7】
メタノール及びエタノールを含有する混合原料を、断熱型反応器内で触媒と接触させ、炭素数3以上のオレフィンを含有する反応ガスを得ることを含む、エタノールの変換方法。
【請求項8】
前記混合原料中のメタノール/エタノールのモル比が0.050~2.0である、請求項7に記載のエタノールの変換方法。
【請求項9】
前記混合原料中のメタノール/エタノールのモル比が0.20~1.5である、請求項7に記載のエタノールの変換方法。
【請求項10】
前記反応ガスからエチレン及びプロピレンを分離することを含む、請求項7に記載のエタノールの変換方法。
(【請求項11】以降は省略されています)
発明の詳細な説明
【技術分野】
【0001】
本発明は、エタノールの変換方法、及びその他炭化水素の製造方法に関する。
続きを表示(約 3,700 文字)
【背景技術】
【0002】
低級オレフィン等の炭化水素は化学産業における重要な基幹原料であり、特に、プロピレンは需要増加が見込まれるため、種々の製造方法の開発・改良が盛んになされてきた。その中でも、一般的なプロピレンの製造方法としては、ゼオライトを活性種とした触媒にナフサやオレフィン類を接触させる方法が知られている。
【0003】
例えば特許文献1ではエチレン原料からのプロピレンの製造方法が開示されている。特許文献2及び3では、それぞれペンタシル型ゼオライトと酸化亜鉛セリウム担持ゼオライトを使用したエタノールからプロピレンへの変換技術が公開されている。例えば、特許文献4では、含酸素化合物(Oxygenate)と炭素数4以上のオレフィンとを原料とした低級オレフィンの製造方法が、特許文献5では低級アルコールとナフサとを原料とした低級オレフィンの製造方法が示されている。例えば、特許文献6ではメタノールを含む原料からプロピレンを製造する方法が開示されている。
【先行技術文献】
【特許文献】
【0004】
WO2014/025021A1
WO2015/029355A1
CN110560155A
US2014/0018593A1
CN110871107A
WO2005/56504A1
【発明の概要】
【0005】
本発明は、以下の実施形態を包含する。
[1]
エチレン及びエタノールを含有する混合原料を、断熱型反応器内で触媒と接触させ、炭素数3以上のオレフィンを含有する反応ガスを得ることを含む、エタノールの変換方法。
[2]
前記混合原料中のエチレン/エタノールのモル比が0.20~2.5である、[1]に記載のエタノールの変換方法。
[3]
前記混合原料中のエチレン/エタノールのモル比が0.20~2.0である、[1]又は[2]に記載のエタノールの変換方法。
[4]
前記反応ガスからエチレン及びプロピレンを分離することを含む、[1]~[3]のいずれかに記載のエタノールの変換方法。
[5]
前記混合原料が炭素数4~6のオレフィンを含有する、[1]~[4]のいずれかに記載のエタノールの変換方法。
[6]
前記混合原料中の炭素数4~6のオレフィン/エチレンのモル比が3.0以下である、[5]に記載のエタノールの変換方法。
[7]
メタノール及びエタノールを含有する混合原料を、断熱型反応器内で触媒と接触させ、炭素数3以上のオレフィンを含有する反応ガスを得ることを含む、エタノールの変換方法。
[8]
前記混合原料が、メタノールを含む、[1]~[6]のいずれかに記載のエタノールの変換方法。
[9]
前記混合原料中のメタノール/エタノールのモル比が0.050~2.0である、[7]又は[8]に記載のエタノールの変換方法。
[10]
前記混合原料中のメタノール/エタノールのモル比が0.20~1.5である、[7]~[9]のいずれかに記載のエタノールの変換方法。
[11]
前記反応ガスからエチレン及びプロピレンを分離することを含む、[7]~[10]のいずれかに記載のエタノールの変換方法。
[12]
前記混合原料が炭素数4~6のオレフィンを含有する、[7]~[11]のいずれかに記載のエタノールの変換方法。
[13]
前記混合原料中の炭素数4~6のオレフィン/メタノールのモル比が3.0以下である、[7]~[12]のいずれかに記載のエタノールの変換方法。
[14]
前記反応ガス又は反応ガスを精製した留分の少なくとも一部を前記反応器にリサイクルし、前記混合原料の一部として用いることを含む、[7]~[13]のいずれかに記載のエタノールの変換方法。
[15]
エタノール及びエチレンを含有する混合原料を、断熱型反応器内で触媒と接触させ、炭素数3以上のオレフィンを含有する反応ガスを得ることと、
前記反応ガスを、第1の蒸留塔により炭素数2~3の炭化水素を主に含む留分Aと、炭素数4~6の炭化水素を主に含む留分Bとに分離することと、
前記留分Aの少なくとも一部を、前記反応工程に前記混合原料の一部としてリサイクルすることと、
を含む、エタノールの変換方法。
[16]
前記反応ガスを、第1の蒸留塔により炭素数2~3の炭化水素を主に含む留分Aと、炭素数4~6の炭化水素を主に含む留分Bとに分離することと、
前記留分Aの少なくとも一部を、前記反応工程に前記混合原料の一部としてリサイクルすることと、
を含む、[1]~[14]のいずれかに記載のエタノールの変換方法。
[17]
前記留分Aを、第2の蒸留塔により、炭素数2の炭化水素を主に含む留分A-1と、炭素数3の炭化水素を主に含む留分A-2とに分離することを含み、
前記リサイクルすることが、前記留分A-1の少なくとも一部を、前記反応ガスを得ることにリサイクルし、前記混合原料の一部として用いることを含む、
[15]又は[16]に記載のエタノールの変換方法。
[18]
前記リサイクルすることが、前記留分Bの少なくとも一部を、前記反応ガスを得ることにリサイクルし、前記混合原料の一部として用いることを含む、
[15]~[17]のいずれかに記載のエタノールの変換方法。
[19]
前記反応ガスを冷却することにより、炭素数6以下の炭化水素を主に含む留分Cと、水及び炭素数7以上の炭化水素化合物を主に含む留分Dとに分離すること、
を含む、[15]~[18]のいずれかに記載のエタノールの変換方法。
[20]
前記第1の蒸留塔により分離することが、前記第1の蒸留塔にサイドカット段を設け、中間抜出流出液を得ることを含む、[15]~[19]のいずれかに記載のエタノールの変換方法。
【図面の簡単な説明】
【0006】
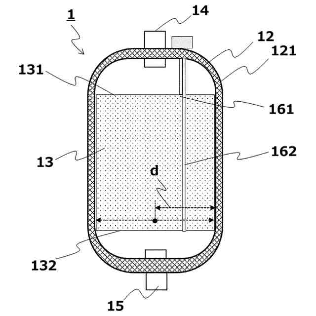
図1は、固定床一段断熱型反応器の一実施形態の概略図を示す。
図2は、反応工程及び分離工程の流れの一実施形態を示す。
図3は、反応工程、分離工程及びスチームクラッキングの流れの一実施形態を示す。
図4は、反応工程及び分離工程の流れの一実施形態を示す。
図5は、反応工程及び分離工程の流れの一実施形態を示す。
図6は、反応工程及び分離工程の流れの一実施形態を示す。
図7は、エタノール及びエチレンの変換装置の一実施形態の概略図を示す。
図8は、エタノール及びエチレンの変換装置の一実施形態の概略図を示す。
図9は、エタノール及びエチレンの変換装置の一実施形態の概略図を示す。
図10は、エタノール及びエチレンの変換装置の一実施形態の概略図を示す。
図11は、エタノール及びエチレンの変換装置の一実施形態の概略図を示す。
図12は、本実施形態に係るエタノール及びエチレンの変換装置との効果を対比するための変換装置の概略図を示す。
図13は、本実施形態に係るエタノール及びエチレンの変換装置との効果を対比するための変換装置の概略図を示す。
【発明を実施するための形態】
【0007】
本発明について、以下具体的に説明する。なお、本発明は以下の実施の形態(本実施形態)に限定されるものではなく、その要旨の範囲内で種々変形して実施することができる。
【0008】
本明細書において、「~」を用いて示された数値範囲は、「~」の前後に記載される数値をそれぞれ最小値及び最大値として含む範囲を示す。本明細書に段階的に記載されている数値範囲において、ある段階の数値範囲の上限値又は下限値は、他の段階の数値範囲の上限値又は下限値と任意に組み合わせることができる。
【0009】
本明細書において「目的化合物」とは、オレフィン、芳香族化合物等の炭化水素である。オレフィンとしては、例えば、エチレン、プロピレン、ブテン、ブタジエン等が挙げられる。芳香族化合物としては、例えば、ベンゼン、トルエン、キシレン等が挙げられる。
目的化合物は、需要等の情勢に応じて適宜変更することも可能であるが、本実施形態のエタノールの変換方法においては、炭素数2のエタノールから、炭素数3のプロピレン、炭素数6以上の芳香族化合物を得ることもできる。
【0010】
[第1実施形態]
はじめに、第1実施形態に係るエタノールの変換方法について説明する。
(【0011】以降は省略されています)
この特許をJ-PlatPat(特許庁公式サイト)で参照する
関連特許
旭化成株式会社
成形体
17日前
旭化成株式会社
成形体
17日前
旭化成株式会社
検査装置
18日前
旭化成株式会社
フィルム
3日前
旭化成株式会社
フィルム
3日前
旭化成株式会社
研磨パッド
1か月前
旭化成株式会社
ゴム組成物
1か月前
旭化成株式会社
顆粒及び錠剤
13日前
旭化成株式会社
青果物輸送方法
1か月前
旭化成株式会社
紫外線照射装置
25日前
旭化成株式会社
燃料電池用成形品
10日前
旭化成株式会社
表面保護フィルム
6日前
旭化成株式会社
積層体の製造方法
2か月前
旭化成株式会社
レーザダイオード
1か月前
旭化成株式会社
積層体及び光学部材
21日前
旭化成株式会社
分析方法及び分析装置
6日前
旭化成株式会社
分析方法及び分析装置
6日前
旭化成株式会社
ポリアミドの製造方法
2か月前
旭化成株式会社
組成物及びカプセル製剤
10日前
旭化成株式会社
再生ABS系樹脂組成物
2か月前
旭化成株式会社
水添共役ジエン系重合体
11日前
旭化成株式会社
酸性植物ミルク含有飲料
11日前
旭化成株式会社
光照射成形体の製造方法
17日前
旭化成株式会社
ポリアセタール樹脂組成物
1か月前
旭化成株式会社
粉末ポリアミドの製造方法
11日前
旭化成株式会社
樹脂製偏光ビームスプリッタ
1か月前
旭化成株式会社
検査装置および検査システム
1か月前
旭化成株式会社
プラスチックレンズの製造方法
5日前
旭化成株式会社
プラスチックレンズの製造方法
5日前
旭化成株式会社
硬化性組成物、及びその硬化物
1か月前
旭化成株式会社
生体電極用導電布及びその用途
11日前
旭化成株式会社
ポリエチレン樹脂及びフィルム
17日前
旭化成株式会社
ポリオレフィン系多層フィルム
13日前
旭化成株式会社
ホルムアルデヒドガスの製造方法
1か月前
旭化成株式会社
車両用シートとその振動低減方法
2か月前
旭化成株式会社
イソシアネート化合物の製造方法
18日前
続きを見る
他の特許を見る