TOP
|
特許
|
意匠
|
商標
特許ウォッチ
Twitter
他の特許を見る
10個以上の画像は省略されています。
公開番号
2025140007
公報種別
公開特許公報(A)
公開日
2025-09-29
出願番号
2024039140
出願日
2024-03-13
発明の名称
捨石均し装置、捨石均しシステム、及び捨石均し方法
出願人
株式会社不動テトラ
代理人
個人
,
個人
,
個人
主分類
E02D
15/10 20060101AFI20250919BHJP(水工;基礎;土砂の移送)
要約
【課題】起重機船で吊り上げた重錘による捨石均し精度の向上を図ることが可能な捨石均し装置を提供する。
【解決手段】捨石均し装置100は、測深情報を取得する測深情報取得部112を備える。また、捨石均し装置100は、LiDAR装置によって取得されたLiDAR情報を取得するLiDAR情報取得部113を備える。また、捨石均し装置100は、起重機船10の揺れを示す測位動揺情報を取得する測位動揺情報取得部114を備える。また、捨石均し装置100は、LiDAR情報に基づいて、重錘の3次元点群データを生成する3次元点群データ生成部115を備える。また、捨石均し装置100は、3次元点群データ及び測位動揺情報に基づいて、重錘の位置情報を算出する重錘位置算出部116を備える。さらに、捨石均し装置100は、測深情報及び重錘の位置情報に基づいて、水中の状況を示す地形モデルを生成する地形モデル生成部117を備える。
【選択図】図5
特許請求の範囲
【請求項1】
起重機船に設けられた起重機で吊り上げられた重錘を水中に落下させて、水中の捨石を均すための捨石均し装置であって、
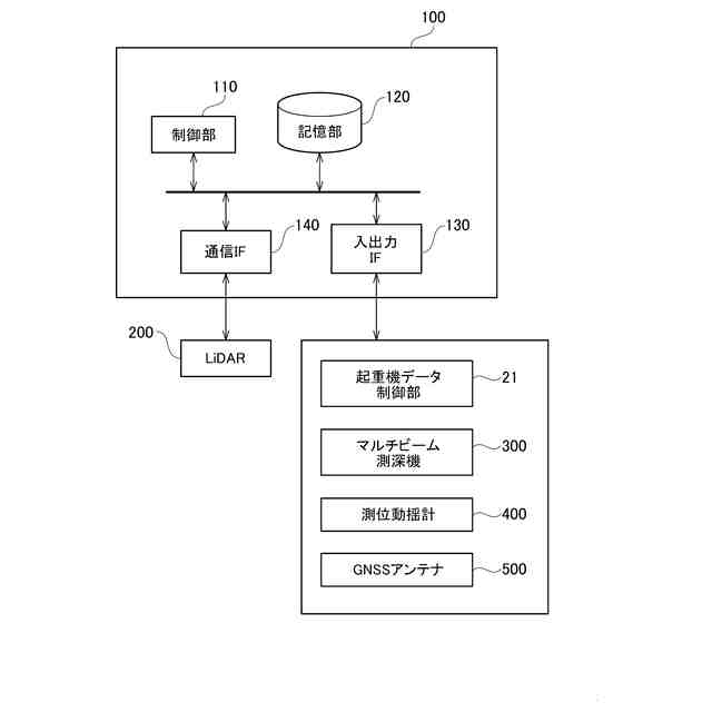
前記起重機に関する情報であって、前記起重機の位置を示す起重機位置情報を前記起重機船に設けられたGNSSアンテナを介して取得する起重機情報取得部と、
前記起重機船に設けられたマルチビーム測深機によって取得された測深情報を取得する測深情報取得部と、
前記起重機船に設けられたLiDAR装置によって取得された情報であって、前記重錘の位置を測定したLiDAR情報を取得するLiDAR情報取得部と、
前記起重機船に設けられた測位動揺計から、前記起重機船の揺れを示す測位動揺情報を取得する測位動揺情報取得部と、
前記LiDAR情報に基づいて、前記重錘の3次元点群データを生成する3次元点群データ生成部と、
前記起重機位置情報、前記3次元点群データ及び前記測位動揺情報に基づいて、前記重錘の位置情報を算出する重錘位置算出部と、
前記測深情報及び前記重錘の位置情報に基づいて、水中の状況を示す地形モデルを生成する地形モデル生成部と、
を備える、捨石均し装置。
続きを表示(約 960 文字)
【請求項2】
前記重錘位置算出部は、前記測位動揺情報で示される鉛直方向の揺れ度合を、前記3次元点群データに対して適用し、前記重錘の位置情報を算出する、請求項1に記載の捨石均し装置。
【請求項3】
風速及び/又は波の高さを取得する気象情報取得部をさらに備え、
前記重錘位置算出部は、前記風速及び/又は波の高さと、あらかじめ記憶部に格納された前記起重機船の大きさとに基づいて、前記重錘の位置情報を補正する、請求項2に記載の捨石均し装置。
【請求項4】
基準面からの潮位高データを取得する潮位情報取得部をさらに備え、
前記重錘位置算出部は、前記3次元点群データ、前記測位動揺情報及び前記潮位高データに基づいて、前記重錘の位置情報を算出する、請求項1に記載の捨石均し装置。
【請求項5】
起重機船で吊り上げられた重錘を水中に落下させて、水中の捨石を均すための捨石均しシステムであって、
請求項1~4のいずれか一項に記載の捨石均し装置と、
LiDAR装置と、
マルチビーム測深機と、
を備える捨石均しシステム。
【請求項6】
コンピュータによって実行され、起重機船に設けられた起重機で吊り上げられた重錘を水中に落下させて、水中の捨石を均すための捨石均し方法であって、
前記起重機に関する情報であって、前記起重機の位置を示す起重機位置情報を前記起重機船に設けられたGNSSアンテナを介して取得し、
前記起重機船に設けられたマルチビーム測深機によって取得された測深情報を取得し、
前記起重機船に設けられたLiDAR装置によって取得された情報であって、前記重錘の位置を測定したLiDAR情報を取得し、
前記起重機船に設けられた測位動揺計から、前記起重機船の揺れを示す測位動揺情報を取得し、
前記LiDAR情報に基づいて、前記重錘の3次元点群データを生成し、
前記起重機位置情報、前記3次元点群データ及び前記測位動揺情報に基づいて、前記重錘の位置情報を算出し、
前記測深情報及び前記重錘の位置情報に基づいて、水中の状況を示す地形モデルを生成する、捨石均し方法。
発明の詳細な説明
【技術分野】
【0001】
本発明は、捨石均し装置、捨石均しシステム、及び捨石均し方法に関する。
続きを表示(約 2,200 文字)
【背景技術】
【0002】
従来、港湾工事や海岸工事などにおける基礎捨石均しにおいて、起重機船で吊り上げた重錘を自由落下させて基礎捨石を所定の高さに仕上げるための工法が提案されている。特許文献1には、捨石の転圧を行う重錘の位置を測定することが可能な水中捨石均し工事システムが開示されている。特許文献1に開示された水中捨石均し工事システムは、陸上に設置されたトータルステーションにより重錘の高さを検知し、捨石均しの高さを測定する。
【先行技術文献】
【特許文献】
【0003】
特開2017-53164号公報
【発明の概要】
【発明が解決しようとする課題】
【0004】
特許文献1に開示された水中捨石均し工事システムにおいては、重錘の高さを陸上に設定されたトータルステーションで検知する。そのため、例えば、基礎捨石均し位置が陸上から遠く、測定機器の性能を候える場合には、捨石均しの高さを測定することができない。また、起重機船が波によって揺れる場合、起重機船で吊り上げられた重錘も揺れるため、陸上に設けられたトータルステーションから重錘の高さを検知する場合に、その検知精度が低下し、それにより均し精度が低下する場合がある。
【0005】
本発明は、このような従来技術が有する課題に鑑みてなされたものである。そして本発明の目的は、起重機船で吊り上げた重錘による捨石均し精度の向上を図ることが可能な捨石均し装置を提供することにある。
【課題を解決するための手段】
【0006】
本発明の態様に係る捨石均し装置は、起重機船に設けられた起重機で吊り上げられた重錘30を水中に落下させて、水中の捨石を均すための捨石均し装置であって、起重機に関する情報であって、起重機の位置を示す起重機位置情報を起重機船に設けられたGNSSアンテナを介して取得する起重機情報取得部と、起重機船に設けられたマルチビーム測深機によって取得された測深情報を取得する測深情報取得部と、起重機船に設けられたLiDAR装置によって取得された情報であって、重錘の位置を測定したLiDAR情報を取得するLiDAR情報取得部と、起重機船に設けられた測位動揺計から、起重機船の揺れを示す測位動揺情報を取得する測位動揺情報取得部と、LiDAR情報に基づいて、重錘の3次元点群データを生成する3次元点群データ生成部と、起重機位置情報、3次元点群データ及び測位動揺情報に基づいて、重錘の位置情報を算出する重錘位置算出部と、測深情報及び重錘の位置情報に基づいて、水中の状況を示す地形モデルを生成する地形モデル生成部と、を備える。
【0007】
本発明の他の態様に係る捨石均しシステムは、起重機船で吊り上げられた重錘を水中に落下させて、水中の捨石を均すための捨石均しシステムであって、上記の捨石均し装置と、LiDAR装置と、マルチビーム測深機と、を備える。
【0008】
本発明の他の態様に係る捨石均し方法は、コンピュータによって実行され、起重機船に設けられた起重機で吊り上げられた重錘を水中に落下させて、水中の捨石を均すための捨石均し方法であって、起重機に関する情報であって、起重機の位置を示す起重機位置情報を起重機船に設けられたGNSSアンテナを介して取得し、起重機船に設けられたマルチビーム測深機によって取得された測深情報を取得し、起重機船に設けられたLiDAR装置によって取得された情報であって、重錘の位置を測定したLiDAR情報を取得し、起重機船に設けられた測位動揺計から、起重機船の揺れを示す測位動揺情報を取得し、LiDAR情報に基づいて、重錘の3次元点群データを生成し、起重機位置情報、3次元点群データ及び測位動揺情報に基づいて、重錘の位置情報を算出し、測深情報及び重錘の位置情報に基づいて、水中の状況を示す地形モデルを生成する。
【発明の効果】
【0009】
本発明によれば、起重機船で吊り上げた重錘による捨石均し精度の向上を図ることが可能な捨石均し装置を提供することができる。
【図面の簡単な説明】
【0010】
本実施形態に係る捨石均しシステムの構成を示す図である。
本実施形態に係る捨石均しシステムによる捨石均しの工程について説明するための図である。
本実施形態に係る捨石均しシステムによる捨石均しの工程について説明するための図である。
本実施形態に係る捨石均しシステムによる捨石均しの工程について説明するための図である。
本実施形態に係る捨石均しシステムに用いられる重錘について説明するための図である。
本実施形態に係る捨石均しシステムに用いられる重錘について説明するための図である。
本実施形態に係る捨石均し装置100の構成を示すブロック図である。
本実施形態に係る捨石均し装置100の機能的構成を示すブロック図である。
本実施形態に係る捨石均し装置100の処理の一例を示すフローチャートである。
本実施形態に係る捨石均し装置100で生成された地形モデルの一例を示す図である。
【発明を実施するための形態】
(【0011】以降は省略されています)
この特許をJ-PlatPat(特許庁公式サイト)で参照する
関連特許
株式会社不動テトラ
艤装式係留フック
6日前
株式会社不動テトラ
施工パターン検証装置及び施工パターン検証方法
7日前
株式会社不動テトラ
地盤強度推定装置、地盤強度推定システム、及び地盤強度推定方法
7日前
鈴健興業株式会社
敷板部材
13日前
株式会社クボタ
作業車
15日前
株式会社クボタ
作業車
15日前
株式会社ネクステリア
平板基礎
13日前
個人
擁壁用ブロックおよび擁壁
14日前
千代田工営株式会社
回転貫入杭
今日
株式会社大林組
建物の構造
14日前
株式会社熊谷組
地盤改良方法
9日前
株式会社熊谷組
山留壁用親杭
6日前
株式会社熊谷組
密度計測方法
15日前
日立建機株式会社
作業機械
6日前
日立建機株式会社
建設機械
7日前
日立建機株式会社
作業機械
6日前
日立建機株式会社
作業機械
6日前
日本車輌製造株式会社
建設機械
2日前
日立建機株式会社
作業車両
2日前
日立建機株式会社
作業機械
今日
日立建機株式会社
建設機械
13日前
日立建機株式会社
建設機械
7日前
日立建機株式会社
作業機械
7日前
ライト工業株式会社
鉄筋保持用治具
7日前
鹿島建設株式会社
接続方法および接続構造
2日前
カナデビア株式会社
サクション基礎
7日前
日立建機株式会社
電動式作業機械
13日前
株式会社竹内製作所
作業用車両
6日前
株式会社竹内製作所
作業用車両
6日前
株式会社竹内製作所
作業用車両
6日前
株式会社竹内製作所
作業用車両
6日前
JFEスチール株式会社
鋼管矢板の継手構造
7日前
株式会社日立建機ティエラ
建設機械
8日前
山形新興株式会社
建築物の基礎及び基礎成形型
1日前
浙江工業大学
多機能土柱モデル装置及び使用方法
13日前
清水建設株式会社
遮水層の構築方法
6日前
続きを見る
他の特許を見る