TOP
|
特許
|
意匠
|
商標
特許ウォッチ
Twitter
他の特許を見る
公開番号
2025139826
公報種別
公開特許公報(A)
公開日
2025-09-29
出願番号
2024038876
出願日
2024-03-13
発明の名称
基板装置
出願人
株式会社オートネットワーク技術研究所
,
住友電装株式会社
,
住友電気工業株式会社
代理人
弁理士法人グランダム特許事務所
主分類
H01R
12/58 20110101AFI20250919BHJP(基本的電気素子)
要約
【課題】部品点数を増やすことなく、回路基板への取付け時におけるプレスフィット端子の位置ずれを防止する。
【解決手段】基板装置は、互いに対向するように配置される一対の回路基板10,20と、一対の回路基板10,20に接続されるプレスフィット端子30とを備え、プレスフィット端子30の長さ方向の両端部には、一対の回路基板10,20のスルーホール11,21に対して弾性変形した状態で圧入される一対のプレスフィット部32,33が形成され、プレスフィット端子30の一方の端部(下端部)には、下端部に形成されている第1プレスフィット部32が第1スルーホール11に圧入されている状態において、第1回路基板10に突き当たることによって第1スルーホール11に対する第1プレスフィット部32の位置ずれを規制する位置ずれ規制部40が形成されている。
【選択図】図3
特許請求の範囲
【請求項1】
互いに対向するように配置される一対の回路基板と、
前記一対の回路基板に接続されるプレスフィット端子とを備え、
前記プレスフィット端子の長さ方向の両端部には、前記一対の回路基板のスルーホールに対して弾性変形した状態で圧入される一対のプレスフィット部が形成され、
前記プレスフィット端子の一方の端部には、前記一方の端部に形成されている一方の前記プレスフィット部が前記スルーホールに圧入されている状態において、前記回路基板に突き当たることによって前記スルーホールに対する前記一方のプレスフィット部の位置ずれを規制する位置ずれ規制部が形成されている基板装置。
続きを表示(約 270 文字)
【請求項2】
前記プレスフィット端子は、金属板材からなり、
前記位置ずれ規制部は、前記プレスフィット端子の板厚方向に延出した形状をなしている請求項1に記載の基板装置。
【請求項3】
前記プレスフィット端子を前記回路基板の板厚方向と平行に視たときに、前記位置ずれ規制部は屈曲した形状をなしている請求項2に記載の基板装置。
【請求項4】
前記プレスフィット端子を前記回路基板の板厚方向と平行に視たときに、一対の前記位置ずれ規制部が点対称な形状をなしている請求項2又は請求項3に記載の基板装置。
発明の詳細な説明
【技術分野】
【0001】
本開示は、基板装置に関するものである。
続きを表示(約 2,100 文字)
【背景技術】
【0002】
特許文献1には、互いに平行をなして対向する一般基板とエンド基板を、複数のプレスフィットタイプの基板間端子を介して接続する構造が開示されている。基板間端の両端部には、幅狭となるように弾性変形することが可能なプレスフィット部が形成されている。基板間端子を2枚の基板に取り付ける際には、まず、一方のプレスフィット部を一方の基板のスルーホールに圧入し、その後、他方のプレスフィット部を他方の基板のスルーホールに圧入する。他方のプレスフィット部をスルーホールに圧入する際には、他方のプレスフィット部の弾性変形に起因する摩擦抵抗のために、一方のプレスフィット部がスルーホールから背面側へ貫通するように位置ずれすることが懸念される。その対策として、基板間端子に固定した受圧サポートを基板に当接させることによって、プレスフィット部がスルーホールから背面側へ貫通するように移動することを防止している。
【先行技術文献】
【特許文献】
【0003】
特開2023-042467号公報
【発明の概要】
【発明が解決しようとする課題】
【0004】
プレスフィット部がスルーホールから背面側へ貫通するように移動することを防止する手段として、基板間端子とは別体の部材である受圧サポートを用いているため、部品点数が多いという問題がある。
【0005】
本開示の基板装置は、上記のような事情に基づいて完成されたものであって、部品点数を増やすことなく、回路基板への取付け時におけるプレスフィット端子の位置ずれを防止することを目的とする。
【課題を解決するための手段】
【0006】
本開示の基板装置は、
互いに対向するように配置される一対の回路基板と、
前記一対の回路基板に接続されるプレスフィット端子とを備え、
前記プレスフィット端子の長さ方向の両端部には、前記一対の回路基板のスルーホールに対して弾性変形した状態で圧入される一対のプレスフィット部が形成され、
前記プレスフィット端子の一方の端部には、前記一方の端部に形成されている一方の前記プレスフィット部が前記スルーホールに圧入されている状態において、前記回路基板に突き当たることによって前記スルーホールに対する前記一方のプレスフィット部の位置ずれを規制する位置ずれ規制部が形成されている。
【発明の効果】
【0007】
本開示によれば、部品点数を増やすことなく、回路基板への取付け時におけるプレスフィット端子の位置ずれを防止することができる。
【図面の簡単な説明】
【0008】
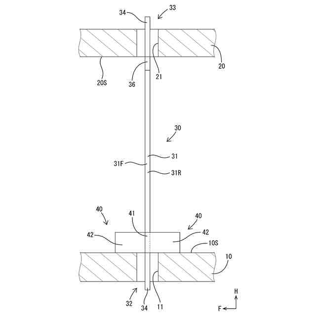
図1は、実施例1の基板装置において第1回路基板と第2回路基板を断面にした状態をあらわす正面図である。
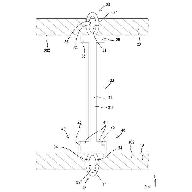
図2は、基板装置において第1回路基板と第2回路基板を断面にした状態をあらわす側面図である。
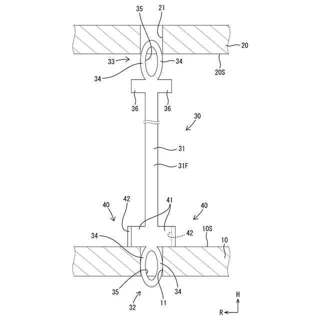
図3は、プレスフィット端子と第2回路基板を接続する過程を、第1回路基板と第2回路基板を断面にした状態であらわした正面図である。
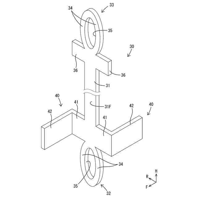
図4は、プレスフィット端子の斜視図である。
【発明を実施するための形態】
【0009】
[本開示の実施形態の説明]
最初に本開示の実施形態を列記して説明する。下記の複数の実施形態を、矛盾を生じない範囲で任意に組み合わせたものも、発明を実施するための形態に含まれる。
本開示の基板装置は、
(1)互いに対向するように配置される一対の回路基板と、前記一対の回路基板に接続されるプレスフィット端子とを備え、前記プレスフィット端子の長さ方向の両端部には、前記一対の回路基板のスルーホールに対して弾性変形した状態で圧入される一対のプレスフィット部が形成され、前記プレスフィット端子の一方の端部には、前記一方の端部に形成されている一方の前記プレスフィット部が前記スルーホールに圧入されている状態において、前記回路基板に突き当たることによって前記スルーホールに対する前記一方のプレスフィット部の位置ずれを規制する位置ずれ規制部が形成されている。
【0010】
本開示の構成によれば、一方の回路基板のスルーホールに一方のプレスフィット部が圧入されている状態で、他方の回路基板のスルーホールにプレスフィット部を圧入するときに、他方の回路基板からプレスフィット端子に作用する反力によって、一方のプレスフィット部は、一方の回路基板に対してスルーホールを貫通する方向に相対移動しようとする。しかし、位置ずれ規制部が一方の回路基板に突き当たることによって、一方のプレスフィット部は、一方の回路基板に対して相対移動することを規制され、スルーホールに圧入された状態に保持される。位置ずれ規制部はプレスフィット端子に一体に形成されているので、部品点数を増やすことなく、回路基板への取付け時におけるプレスフィット端子の位置ずれを防止できる。
(【0011】以降は省略されています)
この特許をJ-PlatPat(特許庁公式サイト)で参照する
関連特許
APB株式会社
蓄電セル
3日前
東ソー株式会社
絶縁電線
5日前
日本発條株式会社
積層体
28日前
個人
フレキシブル電気化学素子
17日前
ローム株式会社
半導体装置
26日前
ローム株式会社
半導体装置
24日前
ローム株式会社
半導体装置
19日前
ローム株式会社
半導体装置
26日前
ローム株式会社
半導体装置
26日前
株式会社ユーシン
操作装置
17日前
日新イオン機器株式会社
イオン源
13日前
ローム株式会社
半導体装置
4日前
オムロン株式会社
電磁継電器
18日前
株式会社ホロン
冷陰極電子源
24日前
太陽誘電株式会社
全固体電池
24日前
株式会社ホロン
冷陰極電子源
11日前
株式会社GSユアサ
蓄電装置
24日前
太陽誘電株式会社
コイル部品
17日前
株式会社GSユアサ
蓄電装置
28日前
株式会社GSユアサ
蓄電設備
17日前
株式会社GSユアサ
蓄電設備
17日前
個人
半導体パッケージ用ガラス基板
27日前
日本特殊陶業株式会社
保持装置
24日前
TDK株式会社
電子部品
24日前
日本特殊陶業株式会社
保持装置
26日前
日本特殊陶業株式会社
保持装置
28日前
ローム株式会社
電子装置
28日前
日東電工株式会社
積層体
18日前
トヨタ自動車株式会社
バッテリ
3日前
北道電設株式会社
配電具カバー
3日前
トヨタ自動車株式会社
蓄電装置
17日前
サクサ株式会社
電池の固定構造
17日前
日本特殊陶業株式会社
保持装置
24日前
日本特殊陶業株式会社
保持装置
6日前
トヨタ自動車株式会社
冷却構造
5日前
日新イオン機器株式会社
基板処理装置
今日
続きを見る
他の特許を見る