TOP
|
特許
|
意匠
|
商標
特許ウォッチ
Twitter
他の特許を見る
10個以上の画像は省略されています。
公開番号
2025139383
公報種別
公開特許公報(A)
公開日
2025-09-26
出願番号
2024038296
出願日
2024-03-12
発明の名称
三相インバータ装置
出願人
国立大学法人秋田大学
代理人
デロイトトーマツ弁理士法人
主分類
H02M
7/48 20070101AFI20250918BHJP(電力の発電,変換,配電)
要約
【課題】変圧器を使用してコモンモード電圧を抑制する三相インバータ装置において、抑制機能の一層の改善を図る。
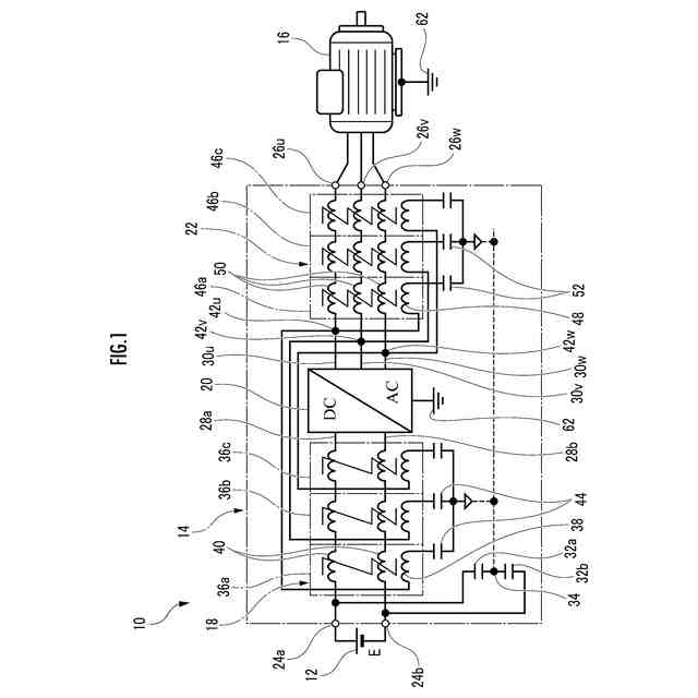
【解決手段】三相インバータ装置14は、入力側から出力側へ順番に入力側変圧装置18、三相PWMコンバータ20及び出力側変圧装置22を備える。入力側変圧装置18及び出力側変圧装置22は、それぞれコモンモード電圧に応じた入力側及び出力側の一次電圧により生成した入力側及び出力側の二次電圧により、入力側及び出力側のコモンモード電圧を抑制する。
【選択図】図1
特許請求の範囲
【請求項1】
直流電源から第1入力線及び第2入力線を介して入力される直流電圧を三相交流電圧に変換して第1出力線、第2出力線及び第3出力線に出力する三相インバータと、
コモンモード電圧に応じた入力側一次電圧を生成し、前記コモンモード電圧を減少させる入力側二次電圧を各入力線に生成する入力側変圧装置と、
前記コモンモード電圧に応じた出力側一次電圧を生成し、前記コモンモード電圧を減少させる出力側二次電圧を各出力線に生成する出力側変圧装置と、
を備える、三相インバータ装置。
続きを表示(約 1,000 文字)
【請求項2】
請求項1に記載の三相インバータ装置において、
前記直流電源の電源中点と、
前記三相インバータの出力端子であってそれぞれ前記第1出力線、前記第2出力線及び前記第3出力線に接続されているU相端子、V相端子及びW相端子と、
を備え、
前記入力側変圧装置は、第1入力側変圧器、第2入力側変圧器及び第3入力側変圧器を有し、
前記第1入力側変圧器、前記第2入力側変圧器及び前記第3入力側変圧器の各々の一次巻線は、一端側をそれぞれ前記U相端子、前記V相端子及び前記W相端子に接続され、他端側を、入力側Yキャパシタを介して前記電源中点に接続されており、
各入力側変圧器は、前記第1入力線及び前記第2入力線の各々に二次巻線を有する、三相インバータ装置。
【請求項3】
請求項2に記載の三相インバータ装置において、
前記出力側変圧装置は、第1出力側変圧器、第2出力側変圧器及び第3出力側変圧器を有し、
前記第1出力側変圧器、前記第2出力側変圧器及び前記第3出力側変圧器の各々の一次巻線は、一端側をそれぞれ前記U相端子、前記V相端子及び前記W相端子に接続され、他端側を、出力側Yキャパシタを介して前記電源中点に接続されており、
各出力側変圧器は、前記第1出力線、前記第2出力線及び前記第3出力線の各々に二次巻線を有する、三相インバータ装置。
【請求項4】
請求項3に記載の三相PWMインバータ装置において、
C
cm,i
:前記三相インバータの浮遊容量
C
cm,o
:前記三相インバータ装置に負荷として接続される三相機器の浮遊容量
C
sum
:=C
cm,i
+C
cm,o
k:=C
cm,o
/C
sum
mi:各入力側変圧器において一次巻線と二次巻線との巻き数比をmi:1としたときのmi
mo:各出力側変圧器における一次巻線と二次巻線との巻き数比をmo:1としたときのmo
と定義した場合、
kが大きいときほど、miは小さく、moは大きくなるように設定されている、三相インバータ装置。
【請求項5】
請求項4に記載の三相PWMインバータ装置において、
k=1/2であるとき、mi=mo=6に設定されている、三相インバータ装置。
発明の詳細な説明
【技術分野】
【0001】
本発明は、コモンモード電圧の抑制機能付きの三相インバータ装置に関する。
続きを表示(約 1,600 文字)
【背景技術】
【0002】
三相インバータが組み込まれた三相回路では、相電圧の和は必ずしも零にならず、コモンモード電圧が生じている。コモンモード電圧は、地絡電流を引き起こし、ノイズの発生原因になるので、除去することが望まれる。
【0003】
特許文献1は、変圧器をパッシブコモンモードノイズキャンセラ(PCC)として備える三相インバータ装置を開示する。この三相インバータ装置は、三相インバータの出力側にコモンモード電圧を検出する検出装置と、検出装置が検出したコモンモード電圧に応じた一次電圧を生成するとともに、二次電圧を三相インバータの3本の出力線の各々に生成して、コモンモード電圧を抑制する変圧器とを備える。この三相インバータ装置は、さらに、変圧器における巻線の漏れ磁束によるコモンモード電圧の抑制機能の低下を補償するため、残留コモンモード電圧検出回路を設け、検出した残留コモンモード電圧に応じて変圧器の一次電圧を補正している。
【0004】
非特許文献1は、三相インバータの出力側に3つの変圧器を直列接続で設ける三相インバータ装置を開示する。この三相インバータ装置によれば、各変圧器は、三相インバータの出力側の3本の出力線の各々に二次巻線を有するとともに、一次巻線を一端側において三相インバータの対応の出力端子と直流電源中点との間に介挿している。また、各変圧器における一次巻線と二次巻線との巻き数比は3:1となっている。
【先行技術文献】
【特許文献】
【0005】
特許第6803478号公報
【非特許文献】
【0006】
小原峻介・川田悠人・小笠原悟司・折川幸司:「インバータが発生するコモンモード電圧を相殺可能なパッシブコモンノイズキャンセラ」、電気学会論文誌D(産業応用部門誌)Vol.142 No.11 pp.825-834 DOI:10,541/ieejias.142,825 (2022年5月10日受付,2022年7月11日再受付)
【発明の概要】
【発明が解決しようとする課題】
【0007】
本発明者は、特許文献1及び非特許文献1の三相インバータ装置には、コモンモード電圧の抑制に関してさらなる改善の余地があるという知見を得た(この知見については図6A-図6C等で後述)。
【0008】
本発明の目的は、変圧器を使用してコモンモード電圧を抑制する場合の抑制機能を改善した三相インバータ装置を提供することである。
【課題を解決するための手段】
【0009】
本発明の三相インバータ装置は、
直流電源から第1入力線及び第2入力線を介して入力される直流電圧を三相交流電圧に変換して第1出力線、第2出力線及び第3出力線に出力する三相インバータと、
コモンモード電圧に応じた入力側一次電圧を生成し、前記コモンモード電圧を減少させる入力側二次電圧を各入力線に生成する入力側変圧装置と、
前記コモンモード電圧に応じた出力側一次電圧を生成し、前記コモンモード電圧を減少させる出力側二次電圧を各出力線に生成する出力側変圧装置と、
を備える。
【発明の効果】
【0010】
本発明によれば、三相インバータの入力側及び出力側のそれぞれに変圧装置を設け、入力側及び出力側の変圧装置のそれぞれにおいてコモンモード電圧に応じた入力側及び出力側の一次電圧を生成する。そして、コモンモード電圧を抑制するように、三相インバータの入力側及び出力側に二次電圧を加える。これにより、出力側変圧装置だけでは、十分に抑制できなかったコモンモード電圧を一層低減させることができる。
【図面の簡単な説明】
(【0011】以降は省略されています)
特許ウォッチbot のツイートを見る
この特許をJ-PlatPat(特許庁公式サイト)で参照する
関連特許
国立大学法人秋田大学
コケ植物栽培床
2か月前
国立大学法人秋田大学
癌細胞増殖抑制剤
1か月前
国立大学法人秋田大学
運転シミュレータ
24日前
国立大学法人秋田大学
多孔板、翼吸引装置
7か月前
国立大学法人秋田大学
三相インバータ装置
1か月前
国立大学法人秋田大学
コケ植物接着用組成物
2か月前
国立大学法人秋田大学
金属イオンの分離回収方法
5か月前
国立大学法人秋田大学
構造物の補強又は補修方法
1か月前
国立大学法人秋田大学
金属イオンの分離回収方法
5か月前
国立大学法人秋田大学
金属イオンの分離回収方法
5か月前
国立大学法人秋田大学
磁気転写電荷誘起型磁界センサ
2か月前
トヨタ自動車株式会社
モータ
3か月前
国立大学法人秋田大学
掘削流体、及び、掘削流体用添加剤
7か月前
国立大学法人秋田大学
ヒトの抗原反応性免疫細胞の同定方法
2か月前
国立大学法人秋田大学
金属ナノ粒子層を備える基板の製造方法
17日前
三菱重工業株式会社
被修理部の修理方法
8か月前
国立大学法人秋田大学
認知機能の評価システムおよび評価プログラム
1か月前
国立大学法人秋田大学
有価成分の抽出方法、及び、四塩化ケイ素の製造方法
5か月前
国立大学法人秋田大学
リン除去回収方法、及び、リン除去回収剤の製造方法
2か月前
国立大学法人秋田大学
アルミニウム塩の分離方法、および、金属塩の分離方法
8か月前
DOWAホールディングス株式会社
銅と錫とを含む対象物の処理方法
1か月前
DOWAホールディングス株式会社
再生正極材前駆体および再生正極材の製造方法、ならびに、再生正極材の使用方法
6か月前
パナソニックインダストリー株式会社
電磁波吸収用材料及び電磁波吸収体
5か月前
個人
単極モータ
1か月前
個人
電気を重力で発電装置
10日前
キヤノン電子株式会社
モータ
9日前
キヤノン電子株式会社
モータ
17日前
株式会社アイシン
ロータ
1か月前
株式会社アイシン
ロータ
1か月前
コーセル株式会社
電源装置
18日前
日星電気株式会社
ケーブル組立体
25日前
トヨタ自動車株式会社
モータ
9日前
トヨタ自動車株式会社
固定子
1か月前
トヨタ自動車株式会社
製造装置
1か月前
株式会社デンソー
回転機
1か月前
株式会社アイシン
ステータ
1か月前
続きを見る
他の特許を見る