TOP特許意匠商標
特許ウォッチ Twitter
10個以上の画像は省略されています。
公開番号2025158503
公報種別公開特許公報(A)
公開日2025-10-17
出願番号2024061095
出願日2024-04-04
発明の名称認知機能の評価システムおよび評価プログラム
出願人国立大学法人秋田大学
代理人個人
主分類A61B 10/00 20060101AFI20251009BHJP(医学または獣医学;衛生学)
要約【課題】日常生活の環境下で収集された歩行速度測定データに基づいて、認知機能の評価を行うことが可能な、認知機能の評価システムを提供する。
【解決手段】人物の日常生活から収集された歩行データから、所定の条件セットを全て満たす歩行の速度データを抽出する歩行速度データ抽出部と、条件セットを全て満たす歩行の速度の平均値または中央値を説明変数とし、認知機能の指標を被説明変数とする回帰モデルと、歩行速度データ抽出部により抽出された歩行の速度の平均値または中央値と、回帰モデルとに基づいて、認知機能の指標を算出する認知機能推定部と、を備え、上記条件セットが、歩行時間が14秒以上であることと、歩行速度が1.67m/sec以下であることと、単位時間当たりの歩数が0.5~2.5歩/secであることと、歩幅が0.10m以上であることと、を含む、認知機能評価システム。
【選択図】図11
特許請求の範囲【請求項1】
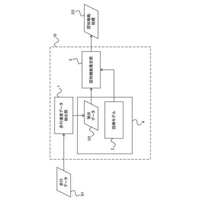
人物の日常生活から収集された歩行データから、所定の条件セットを全て満たす歩行の速度データを抽出する、歩行速度データ抽出部と、
前記条件セットを全て満たす歩行の速度の平均値または中央値を説明変数とし、認知機能の指標を被説明変数とする、回帰モデルと、
前記歩行速度データ抽出部により抽出された歩行の速度の平均値または中央値と、前記回帰モデルとに基づいて、前記認知機能の指標を算出する、認知機能推定部と、
を備え、
前記条件セットが、
歩行時間が15秒以上であることと、
歩行速度が1.67m/sec以下であることと、
単位時間当たりの歩数が0.5~2.5歩/secであることと、
歩幅が0.10m以上であることと、
を含むことを特徴とする、認知機能評価システム。
続きを表示(約 1,000 文字)【請求項2】
前記条件セットが、
歩行距離が250m以下であること
をさらに含む、請求項1に記載の認知機能評価システム。
【請求項3】
前記条件セットが、
歩行時間が18秒以上であること
を含む、請求項1又は2に記載の認知機能評価システム。
【請求項4】
前記条件セットが、
歩行時間が21秒以上であること
を含む、請求項1又は2に記載の認知機能評価システム。
【請求項5】
前記条件セットが、
歩行時間が60秒以下であること
をさらに含む、請求項1又は2に記載の認知機能評価システム。
【請求項6】
前記条件セットが、
歩行が冬季以外の季節に行われたこと
をさらに含む、請求項1又は2に記載の認知機能評価システム。
【請求項7】
人物の日常生活から前記歩行データを収集する、歩行データ収集部
をさらに備える、請求項1又は2に記載の認知機能評価システム。
【請求項8】
人物の日常生活から収集された歩行データから、所定の条件セットを全て満たす歩行の速度データを抽出する、歩行速度データ抽出ステップと、
前記条件セットを全て満たす歩行の速度の平均値または中央値を説明変数とし、認知機能の指標を被説明変数とする回帰モデルと、前記歩行速度データ抽出部により抽出された歩行の速度の平均値または中央値とに基づいて、前記認知機能の指標を算出する、認知機能推定ステップと、
を含み、
前記条件セットが、
歩行時間が14秒以上であることと、
歩行速度が1.67m/sec以下であることと、
単位時間当たりの歩数が0.5~2.5歩/secであることと、
歩幅が0.10m以上であることと、
を含むことを特徴とする、認知機能評価プログラム。
【請求項9】
前記条件セットが、
歩行距離が250m以下であること
をさらに含む、請求項8に記載の認知機能評価プログラム。
【請求項10】
前記条件セットが、
歩行時間が18秒以上であること
を含む、請求項8又は9に記載の認知機能評価プログラム。
(【請求項11】以降は省略されています)

発明の詳細な説明【技術分野】
【0001】
本発明は、軽度認知障害の診断のための指標を提供することが可能な、認知機能の評価システムおよび評価プログラムに関する。
続きを表示(約 3,700 文字)【背景技術】
【0002】
超高齢化社会を迎える本邦において、認知症の一歩手前の状態とされる軽度認知障害(MCI)を早期に捉えることは、医療対策のみならず社会的対策を講ずるうえで重要である。これまでのMCIスクリーニング陽性の有無を対象としたリスク因子解析において、運動不足、脳血管因子及び不安・神経症などが重要な要素であると報告される。特に、直接認知機能を評価する以外の手法として運動機能評価があり、その手法には30秒間の座り立ちテスト、膝伸展力、握力、6分間歩行テスト、5m歩行速度など様々ある。
【先行技術文献】
【非特許文献】
【0003】
Beauchet O, Allali G, Launay C, et al. Gait variability at fast-pace walking speed: a biomarker of mild cognitive impairment The journal of nutrition, health & aging. 2013; 17: 235-9.
Lee S, Shin C. Interaction of obstructive sleep apnoea and cognitive impairment with slow gait speed in middle-aged and older adults. Age and ageing. 2017; 46: 653-9
Saez de Asteasu ML, Martinez-Velilla N, Zambom-Ferraresi F, et al. Assessing the impact of physical exercise on cognitive function in older medical patients during acute hospitalization: Secondary analysis of a randomized trial. PLoS Med. 2019; 16: e1002852.
Hsu CL, Best JR, Voss MW, et al. Functional Neural Correlates of Slower Gait Among Older Adults With Mild Cognitive Impairment. The journals of gerontology Series A, Biological sciences and medical sciences. 2019; 74: 513-8.
Chou MY, Nishita Y, Nakagawa T, et al. Role of gait speed and grip strength in predicting 10-year cognitive decline among community-dwelling older people. BMC geriatrics. 2019; 19: 186.
Petermann-Rocha F, Lyall DM, Gray SR, et al. Associations between physical frailty and dementia incidence: a prospective study from UK Biobank. The Lancet Healthy Longevity. 2020; 1: e58-e68.
Kume Y, Takahashi T, Itakura Y, et al. Polypharmacy and Lack of Joy Are Related to Physical Frailty among Northern Japanese Community-Dwellers from the ORANGE Cohort Study. Gerontology. 2021; 67: 184-93.
Valenzuela PL, Saco-Ledo G, Morales JS, et al. Effects of physical exercise on physical function in older adults in residential care: a systematic review and network meta- analysis of randomised controlled trials. The lancet Healthy longevity. 2023; 4: e247-e56.
Alapatt LJ, Peel NM, Reid N, et al. The Effect of Age on Gait Speed When Texting. International journal of environmental research and public health. 2020; 17.
Kawai H, Obuchi S, Ejiri M, et al. Association between daily life walking speed and frailty measured by a smartphone application: a cross-sectional study. BMJ open. 2023; 13: e065098.
【発明の概要】
【発明が解決しようとする課題】
【0004】
しかしながら、これらの評価手法はいずれも集合型または対面型で行われ、掛け声や合図により意識下で実施される評価手法であるため、通常よりも過度に努力する被験者が発生するというバイアスの影響を受ける。また、集合型および対面型の認知機能評価手法は、参加する意識の高い被験者のみが対象となるという選択バイアスや、年間の限られた回数(数年に1回など)しか評価することができないという時間的なバイアスの影響を受け得る。また、意識下での自発的な行動に基づく従来の測定では、測定値や測定頻度に個人差が生じやすい。MCIスクリーニング評価に近い指標のひとつとして対面型5m歩行速度が知られているが、これも上記の問題を抱えている。
【0005】
GPS(Global Positioning System)等の衛星測位システムを用いた歩行速度測定は、それ自体はスポーツ界等で利用されるなどありふれた測定である。しかし、その医療や介護の領域での活用は進んでいない。衛星測位システムを利用して収集可能な日常生活における歩行速度と、認知機能の低下との間に相関関係が存在することのエビデンスは未だ確立されておらず、そのような関連性について報告した論文は未だ存在しない。
【0006】
本発明は、日常生活の環境下で収集された歩行速度測定データに基づいて、認知機能の評価を行うことが可能な、認知機能の評価システムを提供する。また、認知機能の評価プログラムを提供する。
【課題を解決するための手段】
【0007】
本発明者らは、日常生活から収集された歩行速度測定データから、所定の条件セットを満たすデータを抽出すると、抽出されたデータと認知機能の低下との間に相関関係が存在することを見出した。
【0008】
本発明は、下記[1]~[14]の実施形態を包含する。
[1] 人物の日常生活から収集された歩行データから、所定の条件セットを全て満たす歩行の速度データを抽出する、歩行速度データ抽出部と、
前記条件セットを全て満たす歩行の速度の平均値または中央値を説明変数とし、認知機能の指標を被説明変数とする、回帰モデルと、
前記歩行速度データ抽出部により抽出された歩行の速度の平均値または中央値と、前記回帰モデルとに基づいて、前記認知機能の指標を算出する、認知機能推定部と、
を備え、
前記条件セットが、
歩行時間が15秒以上であることと、
歩行速度が1.67m/sec以下であることと、
単位時間当たりの歩数が0.5~2.5歩/secであることと、
歩幅が0.10m以上であることと、
を含むことを特徴とする、認知機能評価システム。
【0009】
[2] 前記条件セットが、
歩行距離が250m以下であること
をさらに含む、[1]に記載の認知機能評価システム。
【0010】
[3] 前記条件セットが、
歩行時間が18秒以上であること
を含む、[1]又は[2]に記載の認知機能評価システム。
(【0011】以降は省略されています)

この特許をJ-PlatPat(特許庁公式サイト)で参照する

関連特許

国立大学法人秋田大学
ポリマー
12か月前
国立大学法人秋田大学
コケ植物栽培床
2か月前
国立大学法人秋田大学
運転シミュレータ
26日前
国立大学法人秋田大学
癌細胞増殖抑制剤
2か月前
国立大学法人秋田大学
多孔板、翼吸引装置
7か月前
国立大学法人秋田大学
三相インバータ装置
1か月前
国立大学法人秋田大学
コケ植物接着用組成物
2か月前
国立大学法人秋田大学
構造物の補強又は補修方法
1か月前
国立大学法人秋田大学
金属イオンの分離回収方法
5か月前
国立大学法人秋田大学
金属イオンの分離回収方法
5か月前
国立大学法人秋田大学
金属イオンの分離回収方法
5か月前
トヨタ自動車株式会社
モータ
3か月前
国立大学法人秋田大学
磁気転写電荷誘起型磁界センサ
2か月前
国立大学法人秋田大学
掘削流体、及び、掘削流体用添加剤
7か月前
国立大学法人秋田大学
ヒトの抗原反応性免疫細胞の同定方法
2か月前
国立大学法人秋田大学
金属ナノ粒子層を備える基板の製造方法
19日前
三菱重工業株式会社
被修理部の修理方法
8か月前
国立大学法人秋田大学
認知機能の評価システムおよび評価プログラム
1か月前
国立大学法人秋田大学
有価成分の抽出方法、及び、四塩化ケイ素の製造方法
5か月前
国立大学法人秋田大学
リン除去回収方法、及び、リン除去回収剤の製造方法
2か月前
国立大学法人秋田大学
アルミニウム塩の分離方法、および、金属塩の分離方法
8か月前
DOWAホールディングス株式会社
銅と錫とを含む対象物の処理方法
2か月前
DOWAホールディングス株式会社
再生正極材前駆体および再生正極材の製造方法、ならびに、再生正極材の使用方法
6か月前
パナソニックインダストリー株式会社
電磁波吸収用材料及び電磁波吸収体
5か月前
個人
貼付剤
22日前
個人
簡易担架
4日前
個人
健康器具
9か月前
個人
足踏み器具
11日前
個人
腋臭防止剤
4日前
個人
短下肢装具
3か月前
個人
鼾防止用具
9か月前
個人
嚥下鍛錬装置
4か月前
個人
白内障治療法
8か月前
個人
脈波測定方法
9か月前
個人
前腕誘導装置
4か月前
個人
排尿補助器具
1か月前
続きを見る