TOP
|
特許
|
意匠
|
商標
特許ウォッチ
Twitter
他の特許を見る
10個以上の画像は省略されています。
公開番号
2025139324
公報種別
公開特許公報(A)
公開日
2025-09-26
出願番号
2024038188
出願日
2024-03-12
発明の名称
自動販売機の保護装置
出願人
富士電機株式会社
代理人
弁理士法人酒井国際特許事務所
主分類
G07F
9/10 20060101AFI20250918BHJP(チェック装置)
要約
【課題】自動販売機の梱包作業を簡易なものとすること。
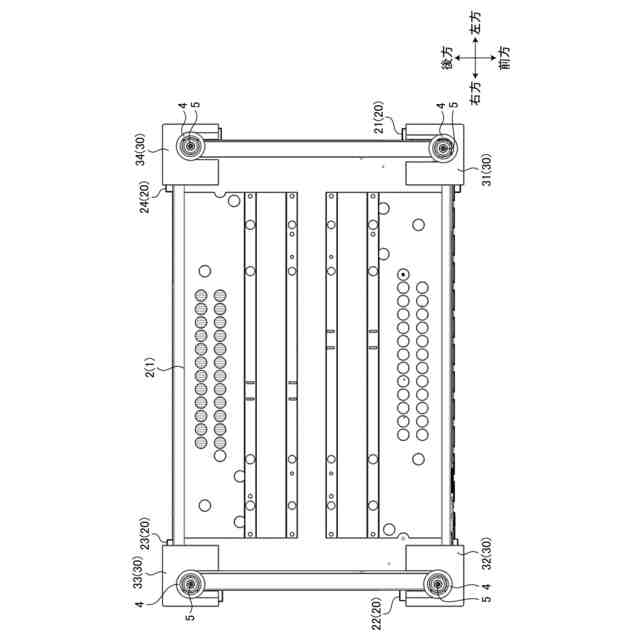
【解決手段】自動販売機1の下部四隅に下方に突出する態様で設けられた水平度調整脚5に対し、水平度調整脚5が自身の中空部に相対的に進入する態様で筒状の紙管4が着脱可能に装着された自動販売機1を保護するための保護装置10であって、自動販売機1の少なくとも上部四隅を覆う態様で着脱可能に配設された上部保護部材20と、自動販売機1の少なくとも下部四隅を覆う態様で着脱可能に配設された下部保護部材30とを備え、下部保護部材30は、自身の直上の上部保護部材20に対して自動販売機1より外方に突出している。
【選択図】図1
特許請求の範囲
【請求項1】
自動販売機の下部四隅に下方に突出する態様で設けられた水平度調整脚に対し、該水平度調整脚が自身の中空部に相対的に進入する態様で筒状の紙管が着脱可能に装着された前記自動販売機を保護するための保護装置であって、
前記自動販売機の少なくとも上部四隅を覆う態様で着脱可能に配設された上部保護部材と、
前記自動販売機の少なくとも下部四隅を覆う態様で着脱可能に配設された下部保護部材と
を備え、
前記下部保護部材は、自身の直上の前記上部保護部材に対して前記自動販売機より外方に突出していることを特徴とする自動販売機の保護装置。
続きを表示(約 360 文字)
【請求項2】
前記上部保護部材は、それぞれが前記自動販売機の上部四隅を覆う態様で着脱可能に配設された4つの上部保護材により構成され、
前記下部保護部材は、それぞれが前記自動販売機の下部四隅を覆う態様で着脱可能に配設された4つの下部保護材により構成されたことを特徴とする請求項1に記載の自動販売機の保護装置。
【請求項3】
前記4つの下部保護材は、それぞれ対応する紙管の上面に一部が載置された状態で該紙管を挟持することにより、前記自動販売機の下部四隅を覆う態様で着脱可能に配設されたことを特徴とする請求項2に記載の自動販売機の保護装置。
【請求項4】
前記4つの上部保護材及び前記4つの下部保護材は、それぞれに目印が付されていることを特徴とする請求項3に記載の自動販売機の保護装置。
発明の詳細な説明
【技術分野】
【0001】
本発明は、自動販売機の保護装置の関するものである。
続きを表示(約 1,200 文字)
【背景技術】
【0002】
従来、自動販売機の保護装置として、例えば特許文献1に提案されたものが知られている。この特許文献1に提案された保護装置は、紙管と、カバー材とを備えている。
【0003】
紙管は、紙製の円筒状を成すものであり、自動販売機の底面四隅に下方に突出する態様で設けられたそれぞれの水平度調整脚に取り付けられることで該自動販売機に着脱可能に装着されるものである。より詳細に説明すると、紙管は、水平度調整脚が自身の中空部に相対的に進入する態様で該自動販売機に着脱可能に装着されるものである。
【0004】
カバー部材は、横断面がL字状を成す長尺状部材である。このようなカバー部材は、自動販売機の上部前端部分や上部後端部分、下部前端部分、並びに下部後端部分を被覆した状態で結束バンドにより該自動販売機に装着される。
【0005】
そのような紙管及びカバー部材を備えた保護装置により、例えば輸送時に自動販売機が傷付くことを防止していた。
【先行技術文献】
【特許文献】
【0006】
特開2002-37319号公報
【発明の概要】
【発明が解決しようとする課題】
【0007】
ところで、上記保護装置では、紙管だけでなくカバー部材を備えていたので、紙管を装着したのちにカバー部材を結束バンドで固定する必要があり、自動販売機の梱包作業が煩雑なものとなっていた。
【0008】
本発明は、上記実情に鑑みて、自動販売機の梱包作業を簡易なものとすることができる自動販売機の保護装置を提供することを目的とする。
【課題を解決するための手段】
【0009】
上記目的を達成するために、本発明に係る自動販売機の保護装置は、自動販売機の下部四隅に下方に突出する態様で設けられた水平度調整脚に対し、該水平度調整脚が自身の中空部に相対的に進入する態様で筒状の紙管が着脱可能に装着された前記自動販売機を保護するための保護装置であって、前記自動販売機の少なくとも上部四隅を覆う態様で着脱可能に配設された上部保護部材と、前記自動販売機の少なくとも下部四隅を覆う態様で着脱可能に配設された下部保護部材とを備え、前記下部保護部材は、自身の直上の前記上部保護部材に対して前記自動販売機より外方に突出していることを特徴とする。
【0010】
また本発明は、上記自動販売機の保護装置において、前記上部保護部材は、それぞれが前記自動販売機の上部四隅を覆う態様で着脱可能に配設された4つの上部保護材により構成され、前記下部保護部材は、それぞれが前記自動販売機の下部四隅を覆う態様で着脱可能に配設された4つの下部保護材により構成されたことを特徴とする。
(【0011】以降は省略されています)
この特許をJ-PlatPat(特許庁公式サイト)で参照する
関連特許
富士電機株式会社
冷却装置
20日前
富士電機株式会社
溶接装置
17日前
富士電機株式会社
搬送機構
17日前
富士電機株式会社
回路遮断器
14日前
富士電機株式会社
エンコーダ
14日前
富士電機株式会社
半導体装置
17日前
富士電機株式会社
半導体装置
13日前
富士電機株式会社
電磁接触器
13日前
富士電機株式会社
電磁接触器
13日前
富士電機株式会社
電磁接触器
13日前
富士電機株式会社
電磁接触器
13日前
富士電機株式会社
電磁接触器
13日前
富士電機株式会社
半導体装置
1か月前
富士電機株式会社
自動販売装置
今日
富士電機株式会社
ショーケース
9日前
富士電機株式会社
商品収納装置
9日前
富士電機株式会社
電力変換システム
13日前
富士電機株式会社
電力変換システム
17日前
富士電機株式会社
チャンネルベース
13日前
富士電機株式会社
チャンネルベース
13日前
富士電機株式会社
半導体モジュール
2日前
富士電機株式会社
エレベータ制御装置
15日前
富士電機株式会社
エレベータ制御装置
15日前
富士電機株式会社
自動販売機の保護装置
20日前
富士電機株式会社
測定方法及び製造方法
20日前
富士電機株式会社
冷却器及び半導体装置
13日前
富士電機株式会社
半導体装置の製造方法
1日前
富士電機株式会社
半導体モジュール及び車両
21日前
富士電機株式会社
店舗用冷却装置制御システム
21日前
富士電機株式会社
冷却装置および電力変換装置
21日前
富士電機株式会社
店舗内位置情報取得システム
14日前
富士電機株式会社
測定装置および冷却システム
15日前
富士電機株式会社
制御回路および電力供給回路
今日
富士電機株式会社
窒化物半導体装置の製造方法
13日前
富士電機株式会社
冷却器及び半導体モジュール
13日前
富士電機株式会社
半導体装置及びその製造方法
13日前
続きを見る
他の特許を見る