TOP
|
特許
|
意匠
|
商標
特許ウォッチ
Twitter
他の特許を見る
10個以上の画像は省略されています。
公開番号
2025139171
公報種別
公開特許公報(A)
公開日
2025-09-26
出願番号
2024037969
出願日
2024-03-12
発明の名称
充電器
出願人
新電元工業株式会社
代理人
個人
,
個人
,
個人
,
個人
主分類
H02J
7/00 20060101AFI20250918BHJP(電力の発電,変換,配電)
要約
【課題】同一サイズの入出力用のケーブル引込口が形成された筐体を変更することなく、異なるサイズの入出力ケーブルの接続を可能とする充電器を提供する。
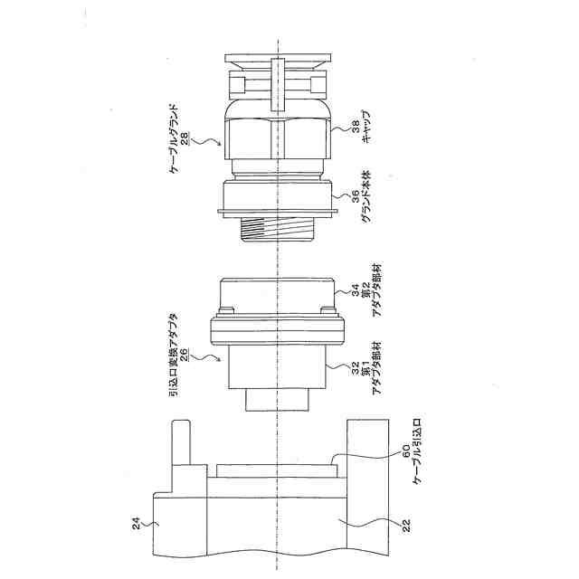
【解決手段】電気自動車用の普通充電器10は、制御回路部が収納された筐体22の異なる筐体面に所定のケーブルサイズに対応した口径を有する一対のケーブル引込口を形成している。ケーブル引込口の一方には、所定のケーブルサイズに対応した第1サイズの出力ケーブル18がケーブルグランド30により接続される。ケーブル引込口の他方には、所定のケーブルサイズに対し1サイズ大きい第2サイズのケーブル接続を可能とする異径ケーブル引込口に変換する引込口変換アダプタ26が配置され、引込口変換アダプタ26を通して筐体22内に引き込まれる第2サイズの入力ケーブル14がケーブルグランド28により固定される。
【選択図】図1
特許請求の範囲
【請求項1】
制御回路部が収納された筐体に電源側プラグを備えた入力ケーブルと充電コネクタを備えた出力ケーブルを接続した充電器であって、
前記筐体の異なる筐体面に形成され、所定のケーブルサイズに対応した口径を有する一対のケーブル引込口と、
前記ケーブル引込口の一方に装着され、前記所定のケーブルサイズに対応した第1サイズの前記出力ケーブルを接続する出力ケーブル接続部と、
前記ケーブル引込口の他方に装着され、前記所定のケーブルサイズと異なる第2サイズのケーブル接続を可能とする異径ケーブル引込口に変換する引込口変換アダプタと、
前記引込口変換アダプタを通して前記筐体内に引き込まれる前記第2サイズの前記入力ケーブルを、前記異径ケーブル引込口に接続する入力ケーブル接続部と、
を備えたことを特徴とする充電器。
続きを表示(約 2,200 文字)
【請求項2】
請求項1記載の充電器であって、
前記出力ケーブル接続部及び前記入力ケーブル接続部は、ケーブルを着脱自在に接続するコネクタ又はケーブルを固定接続するケーブルグランドの何れかとしたことを特徴とする充電器。
【請求項3】
請求項1記載の充電器であって、
前記出力ケーブルの第1サイズに対し、前記入力ケーブルを少なくとも1サイズ大きな第2サイズとしたことを特徴とする充電器。
【請求項4】
請求項1記載の充電器であって、
前記引込口変換アダプタは、
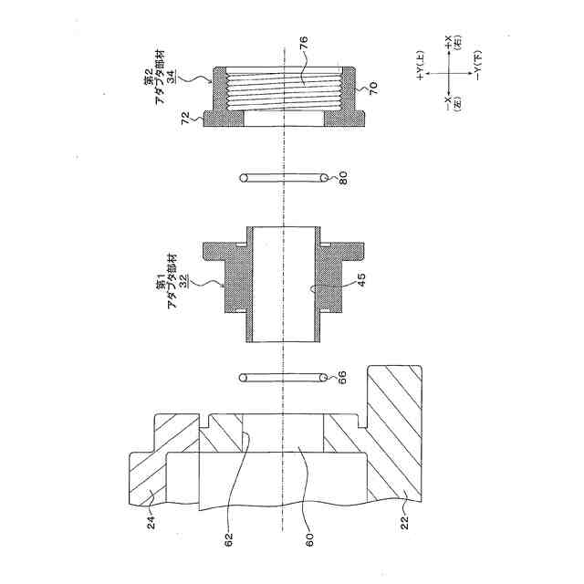
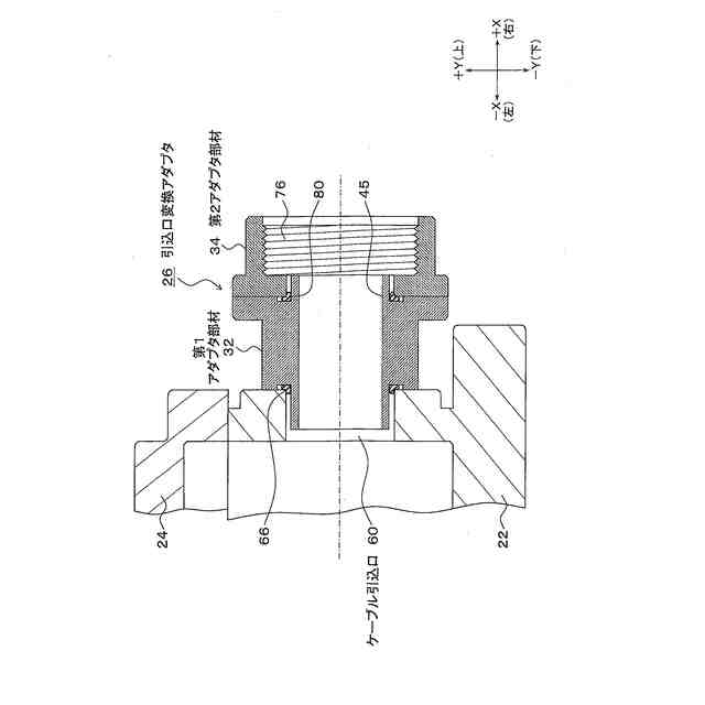
第1アダプタ部材、第2アダプタ部材及び弾性リングで構成され、
前記第1アダプタ部材は、第1アダプタ本体の一端に前記筐体のケーブル引込口に連結固定される筐体固定部が形成され、前記第1アダプタ本体の他端に前記第2アダプタ部材と連結される第2アダプタ連結部が形成され、
前記第2アダプタ部材は、第2アダプタ本体の一端に前記第1アダプタ部材の第2アダプタ連結部と連結される第1アダプタ連結部が形成され、前記第2アダプタ本体の他端に前記入力ケーブル接続部を接続する前記異径ケーブル引込口が形成され、
前記第1アダプタ部材の第2アダプタ連結部と前記第2アダプタ部材の第1アダプタ連結部との間に前記弾性リングが配置されて隙間を密閉する防水構造が設けられたことを特徴とする充電器。
【請求項5】
請求項3記載の充電器であって、
前記第1アダプタ部材は、前記第2アダプタ連結部に第1フランジが形成され、
前記筐体固定部の複数個所にねじ通し穴が形成され、
前記ねじ通し穴に続いて前記第1アダプタ本体を軸方向に貫通して前記第1フランジの端面に開口する工具挿入穴が形成され、
前記第1フランジの工具挿入穴に所定の工具を通して前記筐体固定部のねじ通し穴に配置されたねじを操作して前記筐体のケーブル引込口の他方に前記第1アダプタ部材を固定する構造としたことを特徴とする充電器。
【請求項6】
請求項5記載の充電器であって、
前記第2アダプタ部材は、前記第1アダプタ連結部に第2フランジが形成され、前記ケーブルグランド固定部にねじ穴が形成されるとともに、前記第2フランジの複数個所にねじ通し穴が形成され、
前記第2フランジのねじ通し穴に配置されたねじを操作して前記第1アダプタ部材の第1フランジに形成されたねじ穴に固定する構造としたことを特徴とする充電器。
【請求項7】
請求項4記載の充電器であって、
前記防水構造は、
前記第1アダプタ部材の第2アダプタ連結部に設けられた外周段部と、
前記第2アダプタ部材の第1アダプタ連結部に設けられ、前記外周段部の外側に嵌め込み配置される内周段部と、
を備え、
前記外周段部と前記内周段部の間に前記弾性リングが配置され、
前記第1アダプタ部材と前記第2アダプタ部材を軸方向で締め付け固定した場合に、前記外周段部と前記内周段部との間に形成される径方向の隙間と軸方向の隙間の各々に、前記弾性リングの押圧変形された部分が圧入されて密閉させる弾性リング押圧構造を備えたことを特徴とする充電器。
【請求項8】
請求項4記載の充電器であって、
更に、前記引込口変換アダプタを固定する前記筐体のケーブル引込口の他方との間に他の防水構造が設けられ、
前記他の防水構造は、
前記第1アダプタ部材の筐体固定部に設けられた外周段部と、
前記筐体のケーブル引込口に設けられ、前記外周段部の外側に嵌め込み配置される内周段部と、
を備え、
前記外周段部と前記内周段部の間に弾性リングが配置され、
前記筐体のケーブル引込口に前記第1アダプタ部材を軸方向で締め付け固定した場合に、前記外周段部と前記内周段部との間に形成される径方向の隙間と軸方向の隙間の各々に、前記弾性リングの押圧変形された部分が圧入されて密閉させる他の弾性リング押圧構造を備えたことを特徴とする充電器。
【請求項9】
請求項7又は8記載の充電器であって、
前記弾性リング押圧構造は、
前記外周段部の当接面に、前記弾性リングの一部を収納する環状溝が形成され、
前記環状溝の深さ(d1)を、前記弾性リングの断面外径の半分又は略半分の深さであり、
前記外周段部の外径面と前記内周段部の内径面との間隔(d2)を、前記内周段部のコーナーエッジ部が、前記外径段部に配置された前記弾性リングの押圧側周面の中心位置に当接するように、前記前記弾性リングの断面外径の半分又は略半分の間隔としたことを特徴とする充電器。
【請求項10】
所定のケーブルサイズに対応した口径を有する筐体のケーブル引込口に装着される引込口変換アダプタであって、
前記筐体のケーブル引込口に固定する筐体固定部と、
前記所定のケーブルサイズに対応した第1サイズとは異なる第2サイズのケーブル接続を可能とする異径ケーブル引込口と、
を備えたことを特徴とする引込口変換アダプタ。
(【請求項11】以降は省略されています)
発明の詳細な説明
【技術分野】
【0001】
本発明は、電気自動車等の移動体の充電に使用される充電器に関する。
続きを表示(約 1,700 文字)
【背景技術】
【0002】
従来、電気自動車の充電に使用される充電器にあっては、コントロールボックスから引き出された入力ケーブルの電源側プラグをコンセントに差し込み、コントロールボックスから引き出された出力ケーブルの充電コネクタを車両の充電口に差し込んで充電している。また、車載充電器は、通常、交流による普通充電であり、制御方式からMODE3充電器又は普通充電器として知られている(特許文献1)。
【0003】
ところで、普通充電器のコントロールボックスの筐体は、アルミダイキャストにより製造された細長い箱形の筐体と蓋部材で構成され、箱形本体の長手方向の両端面に、入力ケーブルと出力ケーブルを引き込むためのケーブル引込口が形成され、例えば入力側のケーブル引込口に入力ケーブルを入力コネクタにより着脱に接続し、出力側のケーブル引込口にも出力ケーブルを出力コネクタにより着脱自在に接続している。また、出力ケーブルについては、ケーブルグランドにより固定的に接続する場合もある。
【0004】
ここで、普通充電器に使用される入力ケーブルと出力ケーブルは、一般に同一サイズのケーブルを使用しており、このため入出力ケーブル接続に使用する入出力コネクタも、同じケーブルサイズに対応した同じコネクタとしている。
【先行技術文献】
【特許文献】
【0005】
特開2014-054162号公報
【発明の概要】
【発明が解決しようとする課題】
【0006】
ところで、普通充電器は車両に搭載される車載充電器として使用され、また屋外での使用を前提としており、季節による温度や湿度等の厳しい環境変化に晒されることが予想されることから、電源側プラグを設けた入力ケーブルについては、1サイズ上げたケーブルを使用するとともに、入力コネクタをケーブルグランドに変更して固定的に接続することで、ケーブル強度と電流容量を高めた構成とする場合がある。
【0007】
このように入力ケーブルを出力ケーブルに対し1サイズ上げた場合には、コントロールボックスの筐体のケーブル引込口も、サイズの異なる入出力ケーブルに対応して異なるサイズに変更する必要がある。
【0008】
このため筐体のアルミダイキャスト成型に使用している金型を作り直すか、改修することとなり、ケーブルサイズの変更に伴うコストアップ要因となり、また、ケーブル引込口のサイズに応じて複数種類の筐体を製造して管理する必要があり、生産管理が煩雑になる。
【0009】
本発明は、同一サイズの入出力用のケーブル引込口が形成された筐体を変更することなく、異なるサイズの入出力ケーブルの接続を可能とする充電器を提供することを目的とする。
【課題を解決するための手段】
【0010】
(充電器)
本発明は、制御回路部が収納された筐体に電源側プラグを備えた入力ケーブルと充電コネクタを備えた出力ケーブルを接続した充電器であって、
筐体の異なる筐体面に形成され、所定のケーブルサイズに対応した口径を有する一対のケーブル引込口と、
ケーブル引込口の一方に装着され、所定のケーブルサイズに対応した第1サイズの出力ケーブルを接続する出力ケーブル接続部と、
ケーブル引込口の他方に装着され、所定のケーブルサイズと異なる第2サイズのケーブル接続を可能とする異径ケーブル引込口(径の異なるケーブル引込口)に変換する引込口変換アダプタと、
引込口変換アダプタを通して筐体内に引き込まれる第2サイズの入力ケーブルを、異径ケーブル引込口に接続する入力ケーブル接続部と、
を備えたことを特徴とする。ここで、出力ケーブル接続部及び入力ケーブル接続部は、ケーブルを着脱自在に接続するコネクタ又はケーブルを固定接続するケーブルグランドの何れかとする。
(【0011】以降は省略されています)
この特許をJ-PlatPat(特許庁公式サイト)で参照する
関連特許
新電元工業株式会社
半導体装置
今日
新電元工業株式会社
半導体モジュール及び電子回路
13日前
新電元工業株式会社
テープ剥離装置及びテープ剥離方法
6日前
個人
電気を重力で発電装置
14日前
個人
高圧電気機器の開閉器
1日前
キヤノン電子株式会社
モータ
13日前
キヤノン電子株式会社
モータ
21日前
日星電気株式会社
ケーブル組立体
29日前
コーセル株式会社
電源装置
22日前
トヨタ自動車株式会社
モータ
13日前
株式会社アイドゥス企画
減反モータ
1日前
株式会社デンソー
回転機
1か月前
株式会社kaisei
発電システム
1か月前
個人
二次電池繰返パルス放電器用印刷基板
27日前
株式会社ミツバ
回転電機
1か月前
株式会社デンソー
電力変換装置
1か月前
株式会社デンソー
電力変換装置
28日前
株式会社デンソー
非接触受電装置
1か月前
矢崎総業株式会社
電源回路
今日
株式会社ダイヘン
インバータ装置
1か月前
トヨタ自動車株式会社
固定子の加熱装置
24日前
トヨタ自動車株式会社
ステータの製造装置
14日前
日産自動車株式会社
ロータシャフト
8日前
日産自動車株式会社
ロータシャフト
8日前
ローム株式会社
モータドライバ回路
8日前
山洋電気株式会社
モータ
27日前
矢崎総業株式会社
ワイヤーハーネス
1か月前
個人
非対称鏡像力を有する4層PWB電荷搬送体
8日前
株式会社TMEIC
電力変換装置
1か月前
株式会社明治ゴム化成
ワイヤレス給電用部品
23日前
トヨタ紡織株式会社
ロータの製造装置
22日前
京商株式会社
模型用非接触電力供給システム
1日前
株式会社アイシン
電力変換装置
13日前
株式会社マキタ
電動作業機
21日前
個人
電線盗難防止方法及び電線盗難防止装置
21日前
株式会社デンソー
ステータ及びモータ
1か月前
続きを見る
他の特許を見る