TOP
|
特許
|
意匠
|
商標
特許ウォッチ
Twitter
他の特許を見る
公開番号
2025139018
公報種別
公開特許公報(A)
公開日
2025-09-26
出願番号
2024037716
出願日
2024-03-12
発明の名称
電池用ドライシートの製造装置
出願人
TDK株式会社
代理人
個人
,
個人
,
個人
主分類
H01M
4/139 20100101AFI20250918BHJP(基本的電気素子)
要約
【課題】ドライシートの厚みを規格通りに制御できる、電池用ドライシートの製造装置を提供することを目的とする。
【解決手段】本実施形態に係る電池用ドライシートの製造装置は、支持板と、ローラーと、を備える。前記支持板は、支持面に第1溝と第2溝とを有する。前記ローラーは、表面から突出する第1突起部と第2突起部とを有する。前記被延伸物を延伸する際に、前記第1突起部の少なくとも一部は前記第1溝に嵌り、前記第2突起部の少なくとも一部は前記第2溝に嵌るように構成されている。
【選択図】図1
特許請求の範囲
【請求項1】
支持板と、ローラーと、を備え、
前記支持板は、被延伸物が載置される支持面を有し、
前記支持面に対して平行な面に沿う第1方向において、前記支持板と前記ローラーとの相対的な位置関係は、変動可能に構成されており、
前記支持板は、前記支持面に第1溝と第2溝とを有し、
前記第1溝は、前記第1方向に延び、
前記第2溝は、前記第1方向と直交する第2方向に前記第1溝と離間し、前記第1方向に延び、
前記ローラーは、表面から突出する第1突起部と第2突起部とを有し、
前記被延伸物を延伸する際に、前記第1突起部の少なくとも一部は前記第1溝に嵌り、前記第2突起部の少なくとも一部は前記第2溝に嵌るように構成されている、電池用ドライシートの製造装置。
続きを表示(約 67 文字)
【請求項2】
前記第1突起部と前記第2突起部とはそれぞれ、刃を有する、請求項1に記載の電池用ドライシートの製造装置。
発明の詳細な説明
【技術分野】
【0001】
本発明は、電池用ドライシートの製造装置に関する。
続きを表示(約 1,100 文字)
【背景技術】
【0002】
携帯電子機器は、めざましいエレクトロニクス技術の発達に伴い、小型軽量化、薄型化、多機能化が図られている。電子機器の電源となる電池も、小型軽量化、薄型化、信頼性向上、安全性向上が強く望まれている。固体電解質を用いる全固体電池は、液系の電解質を用いるリチウムイオン二次電池より安全性が高く、注目されている。
【0003】
全固体電池は、正極ドライシートと負極ドライシートと固体電解質層用ドライシートを作製し、これらを積層することで作製できる。例えば、特許文献1には、シート状の部材を加工する製造装置が開示されている。
【先行技術文献】
【特許文献】
【0004】
特開平1-304910号公報
【発明の概要】
【発明が解決しようとする課題】
【0005】
電池用ドライシートに厚みばらつきがあったり、厚みが規定の厚みからずれたりすると、全固体電池が所望の性能を発揮できない場合がある。電池用ドライシートは、正極ドライシート、負極ドライシート及び固体電解質層用ドライシートの総称である。
【0006】
本開示は上記問題に鑑みてなされたものであり、ドライシートの厚みを規格通りに制御できる、電池用ドライシートの製造装置を提供することを目的とする。
【課題を解決するための手段】
【0007】
上記課題を解決するため、以下の手段を提供する。
【0008】
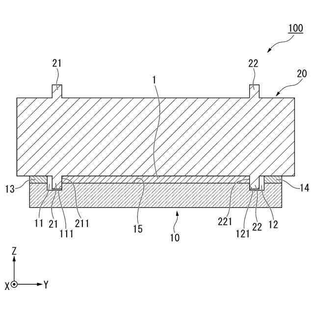
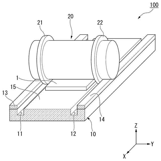
第1の態様に係る電池用ドライシートの製造装置は、支持板と、ローラーと、を備える。前記支持板は、被延伸物が載置される支持面を有する。前記支持面に対して平行な面に沿う第1方向において、前記支持板と前記ローラーとの相対的な位置関係は、変動可能に構成されている。前記支持板は、前記支持面に第1溝と第2溝とを有する。前記第1溝は、前記第1方向に延びる。前記第2溝は、前記第1方向と直交する第2方向に前記第1溝と離間し、前記第1方向に延びる。前記ローラーは、表面から突出する第1突起部と第2突起部とを有する。前記被延伸物を延伸する際に、前記第1突起部の少なくとも一部は前記第1溝に嵌り、前記第2突起部の少なくとも一部は前記第2溝に嵌るように構成されている。
【0009】
上記態様に係る電池用ドライシートの製造装置において、前記第1突起部と前記第2突起部とはそれぞれ、刃を有してもよい。
【発明の効果】
【0010】
上記態様にかかる電池用ドライシートの製造装置は、ドライシートの厚みを規格通りに制御できる。
【図面の簡単な説明】
(【0011】以降は省略されています)
この特許をJ-PlatPat(特許庁公式サイト)で参照する
関連特許
日本発條株式会社
積層体
3日前
ローム株式会社
半導体装置
1日前
ローム株式会社
半導体装置
1日前
個人
防雪防塵カバー
3日前
ローム株式会社
半導体装置
1日前
個人
半導体パッケージ用ガラス基板
2日前
株式会社GSユアサ
蓄電装置
3日前
ローム株式会社
電子装置
3日前
トヨタ自動車株式会社
二次電池
3日前
日本特殊陶業株式会社
保持装置
1日前
日本特殊陶業株式会社
保持装置
3日前
ローム株式会社
半導体装置
3日前
住友電装株式会社
コネクタ
3日前
トヨタ自動車株式会社
電池パック
7日前
住友電装株式会社
コネクタ
3日前
トヨタ自動車株式会社
電池パック
7日前
トヨタ自動車株式会社
電池パック
7日前
住友電装株式会社
コネクタ
3日前
ローム株式会社
半導体装置
3日前
TDK株式会社
コイル部品
1日前
住友電装株式会社
コネクタ
3日前
株式会社デンソー
電子装置
3日前
矢崎総業株式会社
コネクタ
6日前
株式会社カネカ
正極活物質
3日前
ヒロセ電機株式会社
電気コネクタ
3日前
トヨタ自動車株式会社
セルスタック
6日前
ノリタケ株式会社
金ペースト
3日前
大阪瓦斯株式会社
燃料電池システム
3日前
日本航空電子工業株式会社
コネクタ
7日前
株式会社オカムラ
モバイルバッテリ
3日前
富士通株式会社
冷却装置及び電子機器
3日前
本田技研工業株式会社
固体電池
1日前
TDK株式会社
コイル部品
7日前
矢崎総業株式会社
コネクタ
7日前
トヨタ自動車株式会社
電池
3日前
TDK株式会社
コイル部品
3日前
続きを見る
他の特許を見る