TOP
|
特許
|
意匠
|
商標
特許ウォッチ
Twitter
他の特許を見る
公開番号
2025138367
公報種別
公開特許公報(A)
公開日
2025-09-25
出願番号
2024037412
出願日
2024-03-11
発明の名称
運搬システム
出願人
株式会社マキタ
代理人
弁理士法人 快友国際特許事務所
主分類
G05D
1/247 20240101AFI20250917BHJP(制御;調整)
要約
【課題】運搬車による追従動作がユーザの意思によらず開始されることを抑制することが可能な技術を提供する。
【解決手段】運搬システムは、運搬車と、運搬車と通信可能に構成された通信端末と、を備える。運搬車は、通信端末が移動する場合に通信端末に追従する追従動作を実行可能に構成されている。通信端末は、第1操作部と、第1操作部とは異なる位置に設けられた第2操作部と、を備える。通信端末は、第1操作部が操作される場合、電源のON/OFFを切り替える。通信端末は、電源がONとなった状態で、所定の開始操作受付期間に第2操作部が操作される場合、運搬車に対して、追従動作の開始を指示する追従開始指示を送信する。
【選択図】図5
特許請求の範囲
【請求項1】
運搬車と、前記運搬車と通信可能に構成された通信端末と、を備える運搬システムであって、
前記運搬車は、前記通信端末が移動する場合に前記通信端末に追従する追従動作を実行可能に構成されており、
前記通信端末は、
第1操作部と、
前記第1操作部とは異なる位置に設けられた第2操作部と、を備えており、
前記通信端末は、前記第1操作部が操作される場合、電源のON/OFFを切り替え、
前記通信端末は、前記電源がONとなった状態で、所定の開始操作受付期間に前記第2操作部が操作される場合、前記運搬車に対して、前記追従動作の開始を指示する追従開始指示を送信する、運搬システム。
続きを表示(約 700 文字)
【請求項2】
前記通信端末は、前記第1操作部および前記第2操作部とは異なる位置に設けられた第3操作部をさらに備えており、
前記通信端末は、前記電源がONとなった状態で、所定の停止操作受付期間に前記第3操作部が操作される場合、前記運搬車に対して、前記追従動作の停止を指示する追従停止指示を送信する、請求項1の運搬システム。
【請求項3】
前記通信端末は、前記電源がONとなった状態で前記停止操作受付期間に前記第3操作部が操作される場合、所定の送信終了条件が成立するまで、前記運搬車に対して、前記追従停止指示を継続的に送信する、請求項2の運搬システム。
【請求項4】
前記送信終了条件は、前記第2操作部が操作されるという第1送信終了条件を含む、請求項3の運搬システム。
【請求項5】
前記運搬車は、前記追従動作の実行が許容される追従モードと、前記追従動作の実行が禁止され、ユーザからの操作に基づいて移動する手動モードと、の間で切り替え可能であり、
前記開始操作受付期間は、少なくとも、前記運搬車が前記追従モードとなっている期間である、請求項1から4の何れか一項の運搬システム。
【請求項6】
前記開始操作受付期間は、少なくとも、前記運搬車と前記通信端末の間の通信が確立されている期間である、請求項1から5の何れか一項の運搬システム。
【請求項7】
前記通信端末は、前記電源がONとなった直後、前記運搬車に対して、前記追従動作の停止を指示する追従停止指示を送信する、請求項1から6の何れか一項の運搬システム。
発明の詳細な説明
【技術分野】
【0001】
本明細書で開示する技術は、運搬システムに関する。
続きを表示(約 2,200 文字)
【背景技術】
【0002】
特許文献1には、運搬車と、前記運搬車と通信可能に構成された通信端末と、を備える運搬システムが開示される。前記運搬車は、前記通信端末が移動する場合に前記通信端末に追従する追従動作を実行可能に構成されている。
【先行技術文献】
【特許文献】
【0003】
国際公開第2023/065170号
【発明の概要】
【発明が解決しようとする課題】
【0004】
特許文献1の通信端末に、通信端末の電源のON/OFFを切り替えるための第1操作部を設けることがある。ただし、特許文献1の運搬システムでは、第1操作部への操作によって通信端末の電源がOFFからONに切り替わったタイミングで、運搬車による追従動作が開始される可能性がある。この構成では、ユーザの意思によらず第1操作部への操作がなされる場合(例えば、ユーザが第1操作部を誤操作する場合)、運搬車による追従動作が、ユーザの意思によらず開始されるおそれがある。本明細書では、運搬車による追従動作がユーザの意思によらず開始されることを抑制することが可能な技術を提供する。
【課題を解決するための手段】
【0005】
本明細書が開示する運搬システムは、運搬車と、前記運搬車と通信可能に構成された通信端末と、を備える。前記運搬車は、前記通信端末が移動する場合に前記通信端末に追従する追従動作を実行可能に構成されている。前記通信端末は、第1操作部と、前記第1操作部とは異なる位置に設けられた第2操作部と、を備える。前記通信端末は、前記第1操作部が操作される場合、電源のON/OFFを切り替える。前記通信端末は、前記電源がONとなった状態で、所定の開始操作受付期間に前記第2操作部が操作される場合、前記運搬車に対して、前記追従動作の開始を指示する追従開始指示を送信する。
【0006】
上記の構成によれば、通信端末において、第1操作部とは異なる位置に、運搬車に追従動作を開始させるための第2操作部が設けられる。仮にユーザの意思によらず第1操作部への操作がなされたとしても、その後に第2操作部への操作がなされない限り、運搬車による追従動作が開始されることはない。これにより、運搬車による追従動作がユーザの意思によらず開始されることを抑制することができる。
【図面の簡単な説明】
【0007】
実施例1に係る運搬車2の全体斜視図である。
実施例1に係る運搬車2の構成を示すブロック図である。
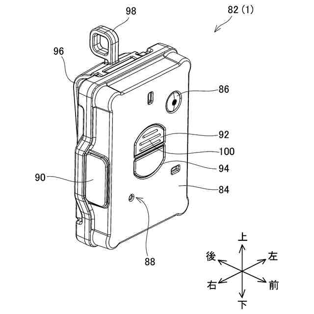
実施例1に係るビーコン82の全体斜視図である。
実施例1に係るビーコン82の電気的な構成を示す回路図である。
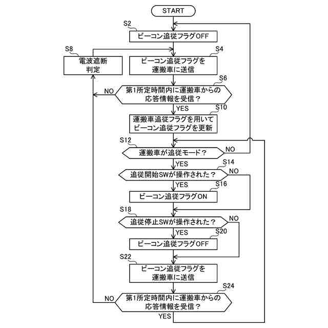
実施例1に係るビーコン82の主電源がONの場合に、ビーコン82のマイコン102が実行する処理のフローチャートである。
実施例1に係る運搬車2の主電源がONであり、かつ、追従モードが選択されている場合に、運搬車2の制御部52が実行する処理のフローチャートである。
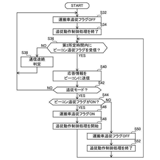
実施例1に係る運搬車2の制御部52が実行する追従動作制御処理のフローチャートである。
実施例1に係る運搬車2から見た第1角度範囲A1、第2角度範囲A2、および第3角度範囲A3を模式的に示す図である。
実施例1に係る運搬車2における、オフセット角度θoと、運搬車2の追従動作中の旋回曲率Kと、の関係の例を示すグラフである。
実施例2に係る運搬車2の制御部52が実行する追従動作制御処理のフローチャートである。
【発明を実施するための形態】
【0008】
本発明の代表的かつ非限定的な具体例について、図面を参照して以下に詳細に説明する。この詳細な説明は、本発明の好ましい例を実施するための詳細を当業者に示すことを単純に意図しており、本発明の範囲を限定することを意図したものではない。また、開示された追加的な特徴ならびに発明は、さらに改善された運搬システムを提供するために、他の特徴や発明とは別に、又は共に用いることができる。
【0009】
また、以下の詳細な説明で開示される特徴や工程の組み合わせは、最も広い意味において本発明を実施する際に必須のものではなく、特に本発明の代表的な具体例を説明するためにのみ記載されるものである。さらに、以下の代表的な具体例の様々な特徴、ならびに、特許請求の範囲に記載されるものの様々な特徴は、本発明の追加的かつ有用な実施形態を提供するにあたって、ここに記載される具体例のとおりに、あるいは列挙された順番のとおりに組合せなければならないものではない。
【0010】
本明細書及び/又は特許請求の範囲に記載された全ての特徴は、実施例及び/又は特許請求の範囲に記載された特徴の構成とは別に、出願当初の開示ならびに特許請求の範囲に記載された特定事項に対する限定として、個別に、かつ互いに独立して開示されることを意図するものである。さらに、全ての数値範囲及びグループ又は集団に関する記載は、出願当初の開示ならびに特許請求の範囲に記載された特定事項に対する限定として、それらの中間の構成を開示する意図を持ってなされている。
(【0011】以降は省略されています)
特許ウォッチbot のツイートを見る
この特許をJ-PlatPat(特許庁公式サイト)で参照する
関連特許
株式会社マキタ
作業機
1か月前
株式会社マキタ
電動工具
2か月前
株式会社マキタ
電動工具
20日前
株式会社マキタ
電動作業機
今日
株式会社マキタ
鉄筋結束機
1か月前
株式会社マキタ
電動作業機
1か月前
株式会社マキタ
ハンマドリル
1か月前
株式会社マキタ
回転打撃工具
2か月前
株式会社マキタ
現場用作業機
1か月前
株式会社マキタ
ハンマドリル
1か月前
株式会社マキタ
ダイグラインダ
2か月前
株式会社マキタ
インパクト工具
1か月前
株式会社マキタ
集塵アタッチメント
12日前
株式会社マキタ
スクラバードライヤー
20日前
株式会社マキタ
充電器及び充電システム
1か月前
株式会社マキタ
電動工具及びインパクト工具
2か月前
株式会社マキタ
フレア形成装置及びフレア形成工具
2か月前
株式会社マキタ
インパクト工具及びインパクトレンチ
1か月前
株式会社マキタ
往復動工具、及び、往復動工具の電動モータを制御する方法
5日前
株式会社マキタ
現場用機器における光学表示器の内部に回路基板を固定する技術
1か月前
株式会社マキタ
往復動工具、及び、往復動工具における電動モータを制御する方法
5日前
株式会社マキタ
往復動工具、及び、往復動工具における電動モータの通電を保持する方法
5日前
株式会社マキタ
往復動工具、及び、往復動工具における往復部材の位置検出に関連する不具合の発生を検出する方法
5日前
個人
生産早送り装置
4か月前
株式会社豊田自動織機
産業車両
3か月前
株式会社カネカ
製造システム
3か月前
オムロン株式会社
スレーブ装置
2か月前
愛知製鋼株式会社
車両用システム
3か月前
株式会社熊谷組
障害物の検出方法
2か月前
ローム株式会社
基準電圧源
3か月前
株式会社クボタ
作業車
1か月前
株式会社クボタ
作業車
12日前
新電元工業株式会社
作業用ロボット
1日前
新電元工業株式会社
作業用ロボット
2か月前
豊田合成株式会社
機器制御装置
2か月前
ローム株式会社
半導体集積回路
13日前
続きを見る
他の特許を見る