TOP
|
特許
|
意匠
|
商標
特許ウォッチ
Twitter
他の特許を見る
10個以上の画像は省略されています。
公開番号
2025137993
公報種別
公開特許公報(A)
公開日
2025-09-25
出願番号
2024036560
出願日
2024-03-11
発明の名称
フォトンカウンティングX線CT装置及び較正データ取得方法
出願人
富士フイルム株式会社
代理人
ポレール弁理士法人
主分類
A61B
6/42 20240101AFI20250917BHJP(医学または獣医学;衛生学)
要約
【課題】装置への追加機構をできるだけ抑え、かつユーザの作業を軽減して、較正データの取得を可能とする。
【解決手段】異なる厚み部分を有する、第2基底物質の第2ファントム303がフォトンカウンディングX線CT装置のフィルタ105に設置され、フィルタ駆動機構304により、X線管103からのX線104が第2ファントムの所望の厚み部分を透過するようフィルタを移動させ、演算装置111は、第2基底物質よりも線減弱係数の小さい第1基底物質の第1ファントム301を開口部109にX線が透過するように挿入した状態で、X線管からX線を放射させ、検出器108が出力する検出値に基づき投影データを取得する。
【選択図】図3
特許請求の範囲
【請求項1】
X線管と、
フィルタと、
前記フィルタを駆動するフィルタ駆動機構と、
光子計測型検出素子を備える検出器と、
前記X線管及び前記フィルタ駆動機構と前記検出器とが開口部を挟んで対向配置されるよう取り付けられるガントリと、
演算装置と、を有し、
異なる厚み部分を有する、第2基底物質の第2ファントムが前記フィルタに設置され、
前記演算装置は、前記フィルタ駆動機構により、前記X線管からのX線が前記第2ファントムの所望の厚み部分を透過するよう前記フィルタを移動させ、
前記演算装置は、前記第2基底物質よりも線減弱係数の小さい第1基底物質の第1ファントムを前記開口部に前記X線管からのX線が透過するように挿入した状態で、前記X線管からX線を放射させ、前記検出器が出力する検出値に基づき投影データを取得するフォトンカウンティングX線CT装置。
続きを表示(約 1,200 文字)
【請求項2】
請求項1において、
前記演算装置は、前記第1基底物質の複数の厚みと前記第2基底物質の複数の厚みとの組み合わせについてそれぞれ前記投影データを取得し、前記検出器の較正データを求めるフォトンカウンティングX線CT装置。
【請求項3】
請求項2において、
前記第2ファントムは同じ厚さの前記第2基底物質の積層体であり、
前記第2ファントムの厚みの違いは、前記第2基底物質の積層数によるフォトンカウンティングX線CT装置。
【請求項4】
請求項2において、
前記第1ファントムは同じ厚さの前記第1基底物質の積層体であり、
前記第1ファントムの厚みの違いは、前記第1基底物質の積層数によるフォトンカウンティングX線CT装置。
【請求項5】
請求項2において、
前記第1ファントムは柱状の前記第1基底物質であり、前記ガントリの回転中心と重ならないよう前記開口部に挿入され、
前記演算装置は、前記ガントリを回転駆動させながら前記投影データを取得するフォトンカウンディングX線CT装置。
【請求項6】
請求項5において、
前記第1ファントムの断面は円形または多角形であるフォトンカウンディングX線CT装置。
【請求項7】
請求項1において、
前記フィルタはボウタイフィルタであるフォトンカウンディングX線CT装置。
【請求項8】
X線管と、フィルタと、前記フィルタを駆動するフィルタ駆動機構と、光子計測型検出素子を備える検出器と、前記X線管及び前記フィルタ駆動機構と前記検出器とが開口部を挟んで対向配置されるよう取り付けられるガントリと、演算装置とを備えるフォトンカウンティングX線CT装置の較正データ取得方法であって、
異なる厚み部分を有する、第2基底物質の第2ファントムを前記フィルタに設置し、
前記演算装置は、前記フィルタ駆動機構により、前記X線管からのX線が前記第2ファントムの所望の厚み部分を透過するよう前記フィルタを移動させ、
前記演算装置は、前記第2基底物質よりも線減弱係数の小さい第1基底物質の第1ファントムを前記開口部に前記X線管からのX線が透過するように挿入した状態で、前記X線管からX線を放射させ、前記検出器が出力する検出値に基づき投影データを取得する較正データ取得方法。
【請求項9】
請求項8において、
前記第1ファントムは柱状の前記第1基底物質であり、前記ガントリの回転中心と重ならないよう前記開口部に挿入され、
前記演算装置は、前記ガントリを回転駆動させながら前記投影データを取得する較正データ取得方法。
【請求項10】
請求項9において、
前記第1ファントムの断面は円形または多角形である較正データ取得方法。
発明の詳細な説明
【技術分野】
【0001】
本開示は、フォトンカウンティングX線CT装置及びその較正データ取得方法に関する。
続きを表示(約 2,200 文字)
【背景技術】
【0002】
フォトンカウンティング型X線コンピュータ断層撮影(CT:Computed Tomography)装置は、その検出器として光子計数型検出器を使用する。光子計数型検出器は、入射する放射線光子のエネルギーを弁別し、エネルギー領域(ビン)ごとに入射した放射線光子の数を計数できる。これにより、フォトンカウンティング型X線CT装置では、組成の異なる物質が弁別された医用画像、例えば血管造影に用いられるヨード造影剤と血管中の石灰化プラークとが弁別された医用画像などを得ることができる。このように物質が弁別された医用画像を得るには、組成や厚さが既知の物質である複数の基底物質の組み合わせで構成されるファントムを光子計数型検出器で計測したときの出力と光子エネルギーとの関係を較正データとして検出素子ごとに予め取得する必要がある。例えば、特許文献1は大きな照射野であっても構成データの取得に要する時間を短縮可能なファントム及び放射線撮像装置、光子計数型検出器の較正方法を開示する。特許文献1には、ファントムを第1基底物質と第2基底物質とを組み合わせて用い、第1基底物質のファントムと第2基底物質のファントムとを個別に駆動させるため、第1基底物質のファントムを寝台により駆動するとともに、第2基底物質のファントムのための専用の駆動部により駆動することが開示されている。
【先行技術文献】
【特許文献】
【0003】
特開2022-190306号公報
【発明の概要】
【発明が解決しようとする課題】
【0004】
較正データの取得に使用するファントムには、組成や厚さが既知の複数の基底物質、例えば第1基底物質と第2基底物質との2つの基底物質の組み合わせが用いられる。組み合わせる基底物質それぞれの厚みを変えた複数のファントムにより較正データを取得するとなると、ファントムを入れ替えて投影データを取得することが必要となる。一方、例えば特許文献1の従来技術として開示される階段状ファントムのように、これら複数のファントムを1つのファントムとして構成する場合には、ファントムが巨大なものとなり取り扱いが困難になる。
【0005】
特許文献1開示の技術によれば、第1基底物質のファントムと第2基底物質のファントムとを個別に駆動させることにより、較正データの取得のためのユーザの作業を軽減することを可能にしている。しかしながら、このためには新たに第2基底物質のファントムを移動させるための駆動部を要する。
【0006】
本発明は、フォトンカウンティングX線CT装置が備える機構をファントムの移動に兼用させることにより、装置への追加機構をできるだけ抑え、かつユーザの作業を軽減して、較正データの取得を可能とする。
【課題を解決するための手段】
【0007】
本発明の一実施の形態であるフォトンカウンティングX線CT装置は、X線管と、フィルタと、フィルタを駆動するフィルタ駆動機構と、光子計測型検出素子を備える検出器と、X線管及びフィルタ駆動機構と検出器とが開口部を挟んで対向配置されるよう取り付けられるガントリと、演算装置と、を有し、異なる厚み部分を有する、第2基底物質の第2ファントムがフィルタに設置され、演算装置は、フィルタ駆動機構により、X線管からのX線が第2ファントムの所望の厚み部分を透過するようフィルタを移動させ、演算装置は、第2基底物質よりも線減弱係数の小さい第1基底物質の第1ファントムを開口部にX線管からのX線が透過するように挿入した状態で、X線管からX線を放射させ、検出器が出力する検出値に基づき投影データを取得する。
【発明の効果】
【0008】
装置への追加機構をできるだけ抑え、かつユーザの作業を軽減して、較正データの取得を可能とするフォトンカウンティングX線CT装置及び較正データ取得方法を提供する。その他の課題と新規な特徴は、本明細書の記述および添付図面から明らかになるであろう。
【図面の簡単な説明】
【0009】
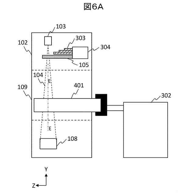
フォトンカウンティングX線CT装置の全体構成図である。
光子計数型検出器の較正について説明するための図である。
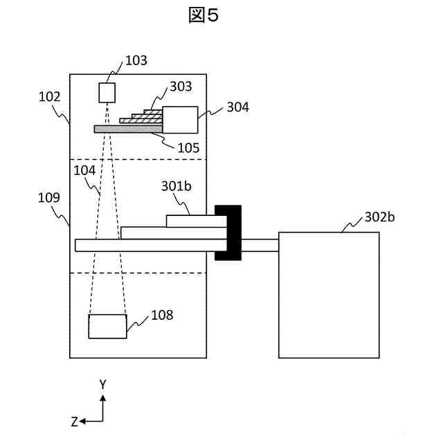
光子計数型検出器の較正について説明するための図である。
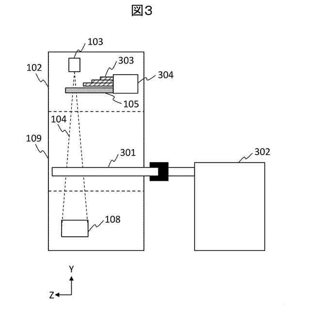
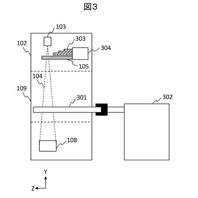
実施例1の較正データの取得方法について説明するための図である。
第2ファントムが配置されたボウタイフィルタの構成を模式的に示す図である。
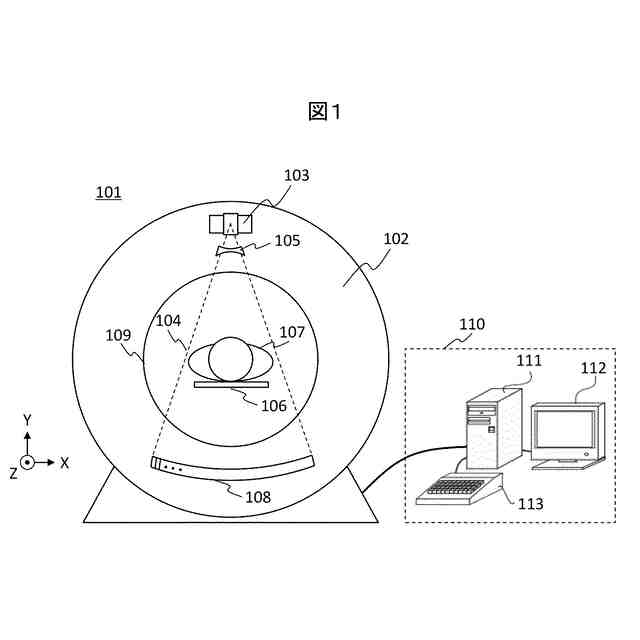
実施例2の較正データの取得方法について説明するための図である。
実施例3の較正データの取得方法について説明するための図である。
実施例3の較正データの取得方法について説明するための図である。
実施例3の較正データの取得方法について説明するための図である。
【発明を実施するための形態】
【0010】
図1にフォトンカウンティングX線CT装置101の全体構成図を示す。なお、紙面の横方向をX軸、縦方向をY軸、XY面に直交する方向をZ軸とする。X線CT装置101は、主要な構成として、ガントリ102、X線管103、ボウタイフィルタ105、寝台106、検出器108、コンソール110を備える。
(【0011】以降は省略されています)
この特許をJ-PlatPat(特許庁公式サイト)で参照する
関連特許
個人
健康器具
7か月前
個人
鼾防止用具
7か月前
個人
短下肢装具
2か月前
個人
歯茎みが品
8か月前
個人
脈波測定方法
7か月前
個人
嚥下鍛錬装置
3か月前
個人
白内障治療法
6か月前
個人
洗井間専家。
6か月前
個人
前腕誘導装置
2か月前
個人
マッサージ機
8か月前
個人
脈波測定方法
7か月前
個人
導電香
8か月前
個人
バッグ式オムツ
3か月前
個人
胸骨圧迫補助具
1か月前
個人
矯正椅子
4か月前
個人
アイマスク装置
1か月前
個人
歯の修復用材料
3か月前
個人
ホバーアイロン
6か月前
個人
汚れ防止シート
10日前
個人
クリップ
8か月前
個人
片足歩行支援具
8か月前
個人
陣痛緩和具
3か月前
個人
口内洗浄具
7か月前
個人
車椅子持ち上げ器
6か月前
個人
哺乳瓶冷まし容器
2か月前
個人
歯の保護用シール
4か月前
個人
眼科診療車
9か月前
個人
シャンプー
5か月前
個人
湿布連続貼り機。
1か月前
三生医薬株式会社
錠剤
6か月前
個人
治療用酸化防御装置
28日前
株式会社大野
骨壷
3か月前
株式会社結心
手袋
7か月前
個人
避難困難者救出台車
9か月前
株式会社 MTG
浴用剤
8か月前
個人
服薬支援装置
6か月前
続きを見る
他の特許を見る