TOP
|
特許
|
意匠
|
商標
特許ウォッチ
Twitter
他の特許を見る
10個以上の画像は省略されています。
公開番号
2025137709
公報種別
公開特許公報(A)
公開日
2025-09-19
出願番号
2025122711,2021176976
出願日
2025-07-22,2021-10-28
発明の名称
スロットル操作装置
出願人
朝日電装株式会社
代理人
個人
主分類
F02D
11/04 20060101AFI20250911BHJP(燃焼機関;熱ガスまたは燃焼生成物を利用する機関設備)
要約
【課題】スロットルレバーの回転操作によりスロットル制御に加えて他の操作を円滑に行わせることができるスロットル操作装置を提供する。
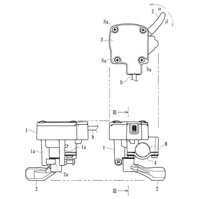
【解決手段】車両のハンドルバー先端に形成された把持グリップ近傍に固定された固定部材1と、固定部材1から延設して取り付けられ、把持グリップを把持しつつ回動操作可能とされたスロットルレバー2と、スロットルレバー2の回転操作角度を検出し得る検出センサ11とを具備し、検出センサ11で検出されたスロットルレバー2の回動操作角度に基づき車両のエンジンを制御可能なスロットル操作装置において、スロットルレバー2は、正方向α及び逆方向βに回動操作可能とされるとともに、正方向αの回動操作により車両のエンジンを制御可能とされ、逆方向βの回動操作により車両に搭載された所定の機器を作動又は当該機器の作動を停止可能とされたことを特徴とする。
【選択図】図1
特許請求の範囲
【請求項1】
乗り物のハンドルバー先端に形成された把持グリップ近傍に固定された固定部材と、
前記固定部材から延設して取り付けられ、前記把持グリップを把持しつつ回転操作可能とされたスロットルレバーと、
前記固定部材に配設され、前記スロットルレバーの回転操作角度を検出し得る検出センサと、
を具備し、前記検出センサで検出された前記スロットルレバーの回転操作角度に基づき乗り物の駆動源を制御可能なスロットル操作装置において、
前記スロットルレバーは、正方向及び逆方向に回転操作可能とされるとともに、正方向の回転操作により乗り物の駆動源を制御可能とされ、逆方向の回転操作により乗り物に搭載された所定の機器を作動又は当該機器の作動を停止可能とされたことを特徴とするスロットル操作装置。
続きを表示(約 1,600 文字)
【請求項2】
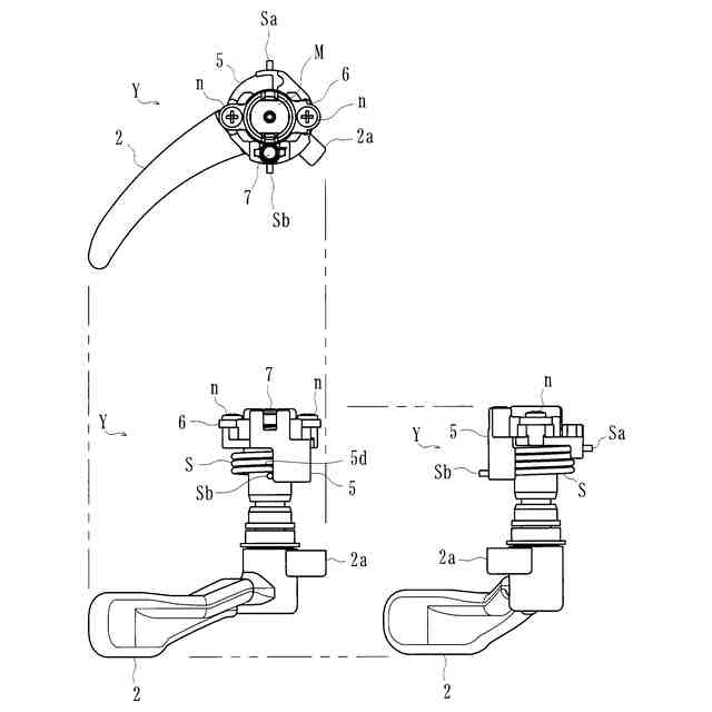
前記スロットルレバーに連結され、当該スロットルレバーの回転操作に応じて軸廻りに回転する軸部材と、
前記軸部材に取り付けられた磁石と、
を具備し、前記検出センサは、前記磁石に対応する位置に取り付けられ、前記スロットルレバーに応じて回転する前記磁石の磁気変化に基づいて当該スロットルレバーの回転操作角度を検出し得るとともに、前記スロットルレバーの正方向の回転操作及び逆方向の回転操作をそれぞれ検出可能とされたことを特徴とする請求項1記載のスロットル操作装置。
【請求項3】
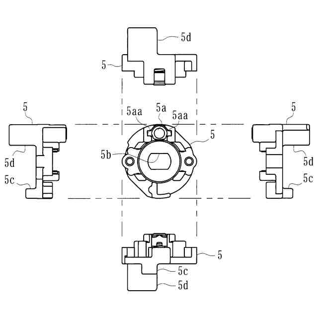
前記軸部材に連結され、前記スロットルレバーの回転操作に応じて回転する回転部材と、
前記スロットルレバーの回転操作時、当該スロットルレバーを初期位置に付勢するリターンスプリングと、
を具備し、前記回転部材は、前記リターンスプリングの一端を係止可能な第1係止部及び他端を係止可能な第2係止部が形成されるとともに、前記スロットルレバーの正方向の回転時、前記リターンスプリングの一端が前記第1係止部に係止されて前記回転部材の回転に応じて回動しつつ他端が前記固定部材に係止されて固定され、前記スロットルレバーの逆方向の回転時、前記リターンスプリングの他端が前記第2係止部に係止されて前記回転部材の回転に応じて回動しつつ一端が前記固定部材に係止されて固定されることを特徴とする請求項1又は請求項2記載のスロットル操作装置。
【請求項4】
前記固定部材は、前記スロットルレバーの正方向の回転時、前記リターンスプリングの他端を係止して固定する第2固定部と、前記スロットルレバーの逆方向の回転時、前記リターンスプリングの一端を係止して固定する第1固定部とを有するとともに、前記リターンスプリングの一端と前記第1固定部との間、又は前記リターンスプリングの他端と前記第2固定部との間にはクリアランスを有することを特徴とする請求項3記載のスロットル操作装置。
【請求項5】
前記スロットルレバーの正方向の回転操作時及び逆方向の回転操作時に摩擦を生じさせて抵抗力を付与し得る抵抗力付与手段を具備したことを特徴とする請求項1~4の何れか1つに記載のスロットル操作装置。
【請求項6】
前記固定部材の開口を覆うカバー部材が設けられると共に、前記検出センサは、前記カバー部材における前記磁石に対応する位置に取り付けられていることを特徴とする請求項1~5の何れか1つに記載のスロットル操作装置。
【請求項7】
前記スロットルレバーは、前記逆方向の操作荷重が前記正方向の操作荷重より大きく設定されたことを特徴とする請求項1~6の何れか1つに記載のスロットル操作装置。
【請求項8】
前記スロットルレバーが前記逆方向に回転操作されるとき、所定の操作荷重を発生させるとともに、前記スロットルレバーが前記正方向に回転操作されるとき、前記操作荷重を発生させない操作荷重発生手段を具備したことを特徴とする請求項7記載のスロットル操作装置。
【請求項9】
前記スロットルレバーに連結され、当該スロットルレバーの回転操作に応じて軸廻りに回転する軸部材と、
前記軸部材に連結され、前記スロットルレバーの回転操作に応じて回転する回転部材と、
を具備し、前記操作荷重発生手段は、前記回転部材と共に回転して前記操作荷重を発生可能とされたことを特徴とする請求項7又は請求項8記載のスロットル操作装置。
【請求項10】
前記操作荷重発生手段は、前記スロットルレバーの前記逆方向に対する回転操作に応じて変位する変位手段と、当該変位手段の変位に応じて付勢力を生じさせる付勢手段と、を具備したことを特徴とする請求項7~9の何れか1つに記載のスロットル操作装置。
(【請求項11】以降は省略されています)
発明の詳細な説明
【技術分野】
【0001】
本発明は、検出センサで検出されたスロットルレバーの回転操作角度に基づき乗り物の駆動源を制御可能なスロットル操作装置に関するものである。
続きを表示(約 2,000 文字)
【背景技術】
【0002】
ATVや四輪バギー等の車両、PWC(水上オートバイ)等の船舶又は雪上車等の乗り物におけるスロットル開度を操作するための従来のスロットル操作装置として、例えば特許文献1にて開示されているように、把持グリップ近傍に取り付けられたスロットルレバー(サムスロットルレバー)を具備したものが挙げられる。かかる従来のスロットル操作装置は、把持グリップを把持した運転者の手の指をスロットルレバーまで伸ばして回転操作すると、その回転操作角度を検出センサが検出して乗り物のエンジンを制御し得るよう構成されていた。
【先行技術文献】
【特許文献】
【0003】
特開2010-53836号公報
【発明の概要】
【発明が解決しようとする課題】
【0004】
しかしながら、上記従来技術においては、スロットルレバーの回転操作が一方向に限られており、専ら駆動源を制御するスロットル制御を行うものに限定されていたため、本出願人は、これとは反対の方向の操作を許容するものとし、スロットルレバーによる他の操作も可能とすることを検討するに至った。
【0005】
本発明は、このような事情に鑑みてなされたもので、スロットルレバーの回転操作によりスロットル制御に加えて他の操作を円滑に行わせることができるスロットル操作装置を提供することにある。
【課題を解決するための手段】
【0006】
請求項1記載の発明は、乗り物のハンドルバー先端に形成された把持グリップ近傍に固定された固定部材と、前記固定部材から延設して取り付けられ、前記把持グリップを把持しつつ回転操作可能とされたスロットルレバーと、前記固定部材に配設され、前記スロットルレバーの回転操作角度を検出し得る検出センサとを具備し、前記検出センサで検出された前記スロットルレバーの回転操作角度に基づき乗り物の駆動源を制御可能なスロットル操作装置において、前記スロットルレバーは、正方向及び逆方向に回転操作可能とされるとともに、正方向の回転操作により乗り物の駆動源を制御可能とされ、逆方向の回転操作により乗り物に搭載された所定の機器を作動又は当該機器の作動を停止可能とされたことを特徴とする。
【0007】
請求項2記載の発明は、請求項1記載のスロットル操作装置において、前記スロットルレバーに連結され、当該スロットルレバーの回転操作に応じて軸廻りに回転する軸部材と、前記軸部材の先端部に取り付けられた磁石とを具備し、前記検出センサは、前記磁石に対応する位置に取り付けられ、前記スロットルレバーに応じて回転する前記磁石の磁気変化に基づいて当該スロットルレバーの回転操作角度を検出し得るとともに、前記スロットルレバーの正方向の回転操作及び逆方向の回転操作をそれぞれ検出可能とされたことを特徴とする。
【0008】
請求項3記載の発明は、請求項1又は請求項2記載のスロットル操作装置において、前記軸部材に連結され、前記スロットルレバーの回転操作に応じて回転する回転部材と、前記スロットルレバーの回転操作時、当該スロットルレバーを初期位置に付勢するリターンスプリングとを具備し、前記回転部材は、前記リターンスプリングの一端を係止可能な第1係止部及び他端を係止可能な第2係止部が形成されるとともに、前記スロットルレバーの正方向の回転時、前記リターンスプリングの一端が前記第1係止部に係止されて前記回転部材の回転に応じて回動しつつ他端が前記固定部材に係止されて固定され、前記スロットルレバーの逆方向の回転時、前記リターンスプリングの他端が前記第2係止部に係止されて前記回転部材の回転に応じて回動しつつ一端が前記固定部材に係止されて固定されることを特徴とする。
【0009】
請求項4記載の発明は、請求項3記載のスロットル操作装置において、前記固定部材は、前記スロットルレバーの正方向の回転時、前記リターンスプリングの他端を係止して固定する第2固定部と、前記スロットルレバーの逆方向の回転時、前記リターンスプリングの一端を係止して固定する第1固定部とを有するとともに、前記リターンスプリングの一端と前記第1固定部との間、又は前記リターンスプリングの他端と前記第2固定部との間にはクリアランスを有することを特徴とする。
【0010】
請求項5記載の発明は、請求項1~4の何れか1つに記載のスロットル操作装置において、前記スロットルレバーの正方向の回転操作時及び逆方向の回転操作時に摩擦を生じさせて抵抗力を付与し得る抵抗力付与手段を具備したことを特徴とする。
(【0011】以降は省略されています)
この特許をJ-PlatPat(特許庁公式サイト)で参照する
関連特許
朝日電装株式会社
車両用ロック装置
20日前
朝日電装株式会社
スロットルグリップ装置
20日前
朝日電装株式会社
スロットルグリップ装置
2か月前
個人
擬似オイル発電装置
26日前
個人
ガバナー
13日前
ダイハツ工業株式会社
発電装置
21日前
スズキ株式会社
車両の制御装置
1か月前
株式会社クボタ
作業車
1か月前
株式会社クボタ
作業車両
1か月前
トヨタ自動車株式会社
制御装置
5日前
株式会社ミクニ
二次空気供給システム
6日前
株式会社ミクニ
インテークマニホールド
5日前
株式会社ミクニ
インテークマニホールド
5日前
トヨタ自動車株式会社
車両制御装置
1か月前
トヨタ自動車株式会社
制御装置
20日前
トヨタ自動車株式会社
燃料噴射制御装置
14日前
国立大学法人 名古屋工業大学
小型化無振動機構機器
12日前
トヨタ自動車株式会社
エンジン制御装置
1か月前
Astemo株式会社
内燃機関の制御装置
20日前
トヨタ自動車株式会社
内燃機関の制御装置
1か月前
川崎重工業株式会社
ガスタービンエンジン
1か月前
日産自動車株式会社
吸気装置
14日前
トヨタ自動車株式会社
フレックス燃料車両
1か月前
トヨタ自動車株式会社
内燃機関の制御装置
20日前
ダイハツ工業株式会社
副燃焼室付きエンジン
12日前
三菱重工業株式会社
燃焼筒の取付方法
1か月前
富士電機株式会社
駆動回路
1か月前
トヨタ自動車株式会社
水素エンジンの制御装置
1か月前
ヤンマーホールディングス株式会社
エンジン装置
13日前
愛三工業株式会社
燃料ポンプ
5日前
スズキ株式会社
多気筒エンジンの制御装置
1か月前
株式会社SUBARU
弁装置
5日前
ローム株式会社
イグナイタおよび内燃機関点火システム
1日前
三菱重工業株式会社
動力装置
1か月前
トヨタ自動車株式会社
車両制御装置
7日前
スズキ株式会社
車両用制御装置
5日前
続きを見る
他の特許を見る