TOP
|
特許
|
意匠
|
商標
特許ウォッチ
Twitter
他の特許を見る
10個以上の画像は省略されています。
公開番号
2025136869
公報種別
公開特許公報(A)
公開日
2025-09-19
出願番号
2024035782
出願日
2024-03-08
発明の名称
画像形成体
出願人
独立行政法人 国立印刷局
代理人
主分類
B42D
25/342 20140101AFI20250911BHJP(製本;アルバム;ファイル;特殊印刷物)
要約
【課題】
モアレ方式及びIP方式により動画効果を発現させる画像形成体において、描画解像度が高くない印刷やレーザー加工等により形成された場合でも、動画効果を低下させることなく、複雑で解像度の高い画像を鮮明に再生することができる画像形成体を提供する。
【解決手段】
基材上に、基画像が分割圧縮された分割圧縮要素が所定の方向に第2のピッチで複数配置された分割圧縮要素群を備え、第2のピッチと異なる第1のピッチでサンプリング要素が所定の方向に複数配置されたサンプリング要素群によって、潜像画像が再生される画像形成体であって、
第1のピッチをP1、第2のピッチをP2としたとき、第2のピッチP2は、
式(2);P2=P1×n (式(2)中、nは2以上の整数)
を満たす構成とする。
【選択図】図2
特許請求の範囲
【請求項1】
基材上に、基画像が圧縮された圧縮要素が所定の方向に第2のピッチで複数配置された圧縮要素群又は基画像が分割圧縮された圧縮要素が所定の方向に第2のピッチで複数配置された分割圧縮要素群を備え、
前記第2のピッチと異なる第1のピッチでサンプリング要素が所定の方向に複数配置されたサンプリング要素群によって、潜像画像が再生される画像形成体であって、
前記第1のピッチをP1、前記第2のピッチをP2としたとき、前記第2のピッチP2は、
i)前記基材上に、前記圧縮要素が形成される場合、式(1);
P2=P1×n×a
(式(1)中、nは2以上の整数、aは0.8≦a<1、1<a≦1.2)
ii)前記基材上に、前記分割圧縮要素が形成される場合、式(2);
P2=P1×n
(式(2)中、nは、2以上の整数)
を満たす画像形成体。
続きを表示(約 360 文字)
【請求項2】
前記基材の一方の面に、前記圧縮要素群又は前記分割圧縮要素群と、前記サンプリング要素群が重なって形成されるか又は、
前記基材の一方の面に前記圧縮要素群又は前記分割圧縮要素群が形成され、前記基材を介して他方の面に前記サンプリング要素群が、前記圧縮要素群又は前記分割圧縮要素群と重なって形成されたことを特徴とする請求項1に記載の画像形成体。
【請求項3】
前記サンプリング要素群が、曲線又は角度の異なる直線の組み合わせによって構成された格子線が複数配置された回折格子によって構成され、
前記圧縮要素群又は前記分割圧縮要素群と、前記サンプリング要素群が、前記基材上に、組み合わさって形成されるか、又は一体化して形成されたことを特徴とする請求項1に記載の画像形成体。
発明の詳細な説明
【技術分野】
【0001】
本発明は、偽造防止効果を必要とする銀行券、パスポート、有価証券、身分証明書又はカード等のセキュリティ媒体等において、動画的な視覚効果を発揮する画像形成体に関する。
続きを表示(約 1,900 文字)
【背景技術】
【0002】
観察する角度に応じて、基材上に形成された画像が動いて見える動画効果は、アイキャッチ性が高く、偽造することが困難であることから、セキュリティ印刷物等の真偽判別要素として多く用いられる傾向にある。
【0003】
観察する角度に応じて、平面上に形成された画像に動画効果を発現させる技術として、ホログラム、パララックスバリア、レンチキュラーレンズを用いる方式が知られている。例えば、複数の画像が切り替わり動いて見える動画効果を用いるホログラムは、銀行券やパスポート等の最高のセキュリティが要求されるセキュリティ印刷物にも貼付されて広く用いられている。
【0004】
また、画像形成体において動画効果を得るための方式として、主として以下の(i)~(iii);
(i)パラパラ漫画方式、
(ii)モアレ方式、及び
(iii)インテグラルフォトグラフィ方式、
が知られている。
【0005】
パラパラ漫画方式は、例えば、図20に示される方式である。動画効果を発現させる基画像として、連続的な相関性を持たせて少しずつ位置を変化させた複数の基画像(18)を用意し、これらの画像を分割し、後に組み合わせた画像形成体(20)を用いるものである。
【0006】
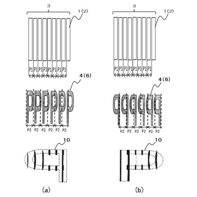
モアレ方式は、例えば、図21(a)に示される方式である。動画効果を発現させる基画像(18)を設定し、基画像(18)を一方向に圧縮して圧縮要素とし、サンプリング要素に設けられた画線(ライン)又は画素(ドット)のサンプリングピッチ(P1)とわずかに異なるピッチ(P2m)で、圧縮要素を順番に連続して配置して圧縮要素群(19)とし、サンプリング要素と組み合わせることで、動画効果を発現させる方式である。ピッチ(P2m)で配置された圧縮要素群は、サンプリング要素群に設けられたサンプリングピッチ(P1)でサンプリングされることで、「Moire Magnification」(モアレ拡大現象)により、圧縮要素が拡大され複数の画像として再生される。圧縮要素群のピッチ(P2m)は、サンプリングピッチ(P1)の80%以上100%未満であるか、100%超120%以下であり、100%に近づくほど潜像の数は少なく、大きさは大きくなる。
【0007】
サンプリング要素として画線(ライン)を用い、モアレ方式で動画効果を発現させる画像形成体は、例えば、特許文献1(特許第4427796号公報)や特許文献2(特許第5131789号公報)等に開示されている。
【0008】
また、特許文献3(特開2007-223308号公報)には、モアレ方式を用いて、特殊で立体的な視覚効果と動画的な視覚効果を実現させる技術が開示されている。この技術は、印刷物の盛り上がりを有する画線上に、ピッチをわずかにずらした微小な文字や記号を連続して配置することで、盛り上がりを有する画線が正反射した場合に文字や記号が拡大されて出現するもので、出現した文字や記号が入射光の角度や観察者の観察位置に応じて立体感を伴いながら左右に動いて見えるという効果を有する。
【0009】
インテグラルフォトグラフィ方式(以下、本明細書中では、「IP方式」と記載する。)は、例えば、図21(b)に示される方式である。基画像(18)を特定の方向に一定の幅で分割した後に、圧縮して分割圧縮要素(潜像画像)とし、サンプリング要素を構成する画線(ライン)のサンプリングピッチ(P1)と同じピッチ(P2i)で、分割圧縮要素を規則的に順番に配置して分割圧縮要素群(19)とすることで、動画効果を発現させる方式である。IP方式は、1907年にリップマンが考案した立体画像の撮像方法であるIntegral Photographyで得られる画像を応用したものであり、例えば、特許文献4(特許第5200284号公報)等に開示されている。
【0010】
特許文献5(特許第7240678号公報)には、動画効果を発現させる基画像を設定し、基画像を一方向に圧縮して圧縮要素(潜像画像)とするか、基画像を少なくとも1つの方向に一定の幅で分割した後に圧縮して分割圧縮要素(潜像画像)とし、圧縮して得られた潜像画像をサンプリングする手段として回折格子を用いることによって、従来の動画効果よりもスムーズに動き、輝度の高い表現が可能であり、かつ、色相を自由に変化させることが可能な画像形成体が開示されている。
【先行技術文献】
【特許文献】
(【0011】以降は省略されています)
この特許をJ-PlatPat(特許庁公式サイト)で参照する
関連特許
独立行政法人 国立印刷局
偽造防止媒体
19日前
独立行政法人 国立印刷局
固有情報作成装置及び履歴管理システム
17日前
個人
書籍
8か月前
個人
リフター
2か月前
個人
手帳
2か月前
個人
書類ホルダー
7か月前
個人
ノート
6か月前
個人
ページめくり穴
1か月前
個人
ダブルクリップ
8か月前
個人
ブランドハガキ
5か月前
個人
紙片収容保持具
9か月前
個人
ファイル
3か月前
個人
メッセージカード
8か月前
個人
カレンダー
1か月前
個人
折り曲げ式しおり
3か月前
個人
ハミガキ辞典
28日前
FRC株式会社
学習ノート
6か月前
東洋紡株式会社
地図フィルム
12か月前
個人
吊下式カレンダー
8か月前
個人
脱着リーフ綴込み補助具
8か月前
個人
脱着リングノートシステム
9か月前
ネオライト工業株式会社
しおり
2か月前
株式会社リコー
綴じ装置
2か月前
株式会社バンダイ
ブックマーク
25日前
有限会社ライト工房
起立する台紙
5か月前
独立行政法人 国立印刷局
潜像物
9か月前
独立行政法人 国立印刷局
積層体
5か月前
独立行政法人 国立印刷局
積層体
5か月前
個人
タロットカード解説書
8か月前
ダイニック株式会社
ブッククロス
10か月前
個人
クリップボードカバー
25日前
個人
冊子収容ケース
2か月前
個人
シート状印刷物セット
3か月前
個人
見開きアルバム立て掛け飾り具
6か月前
独立行政法人 国立印刷局
画像形成体
2か月前
ネオライト工業株式会社
しおりセット
4日前
続きを見る
他の特許を見る