TOP
|
特許
|
意匠
|
商標
特許ウォッチ
Twitter
他の特許を見る
公開番号
2025070411
公報種別
公開特許公報(A)
公開日
2025-05-02
出願番号
2023180709
出願日
2023-10-20
発明の名称
学習ノート
出願人
FRC株式会社
代理人
主分類
B42D
15/00 20060101AFI20250424BHJP(製本;アルバム;ファイル;特殊印刷物)
要約
【課題】記憶すべき内容を有機的に関連付け分類した文言を抽出記述して、長期記憶への移行を効率よく促す学習ノートを提供する。
【解決手段】
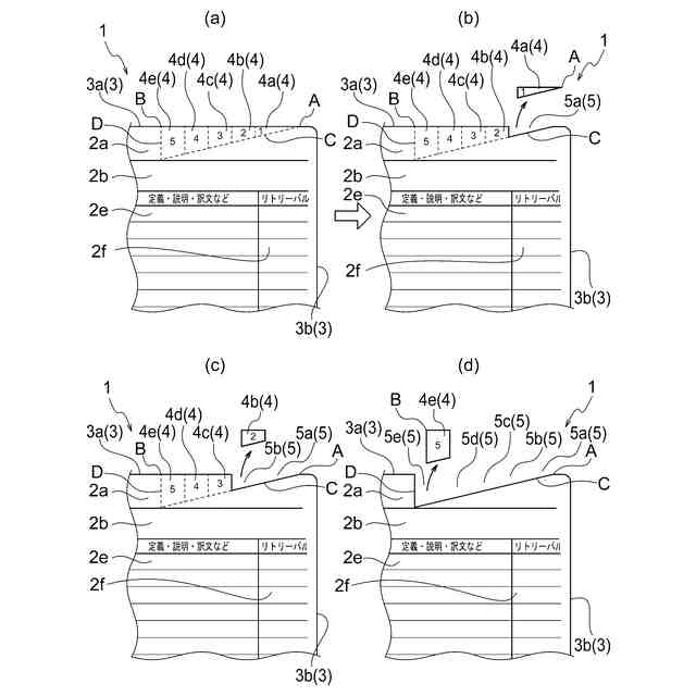
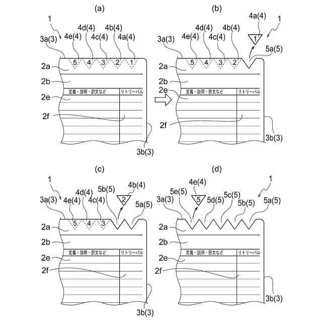
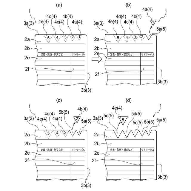
記述面に学習した内容を記述する第1の領域から第nの領域に分割した、ノートを構成する各々の用紙2の少なくとも一つの縁部3に、用紙2の縁部3の長さ方向に沿って第1の確認部から第nの確認部まで複数個並設され前記用紙に記載した学習内容について記憶が定着したか否かを確認する取り外し可能な記憶定着確認部4(4a,4b,4c,4d,4e)を設け、記憶定着確認部4を取り外した後に残る領域(5a,5b,5c,5d,5e)が三角形状(谷形状)である学習ノート1とする。
【選択図】図2
特許請求の範囲
【請求項1】
ノートを構成する各々の用紙の上縁、側縁及び下縁の少なくとも一つの縁部に、前記用紙に記載した学習内容について記憶が定着したか否かを確認する取り外し可能な記憶定着確認部を設けたことを特徴とする学習ノート。
続きを表示(約 510 文字)
【請求項2】
前記記憶定着確認部は、ミシン目により取り外し可能に構成されていることを特徴とする請求項1に記載の学習ノート。
【請求項3】
前記記憶定着確認部は、粘着性を有する剥離部と、前記剥離部を取り外した後に現れる定着状態表記部と、で構成されていることを特徴とする請求項1に記載の学習ノート。
【請求項4】
前記記憶定着確認部は、前記用紙の縁部の長さ方向に沿って、第1の確認部から第nの確認部まで複数個並設されていることを特徴とする請求項2又は3に記載の学習ノート。
【請求項5】
前記記憶定着確認部は、第1の確認部から第nの確認部に行くにしたがって取り外した後に残る領域が深くなるように構成されていることを特徴とする請求項4に記載の学習ノート。
【請求項6】
前記記憶定着確認部は、取り外した後に残る領域が三角形状(谷形状)であることを特徴とする請求項5に記載の学習ノート。
【請求項7】
ノートを構成する各々の用紙の記述面を、学習した内容を記述する第1の領域から第nの領域に分割してなることを特徴とする請求項1に記載の学習ノート。
発明の詳細な説明
【技術分野】
【0001】
本発明は、長期記憶を得るための学習ノートに関する
続きを表示(約 2,600 文字)
【背景技術】
【0002】
従来から例えば学校等における定期試験や大学校等の入学試験の対策として、教科書や参考書の出題範囲を繰り返し読むことで試験が実施される日までに暗記して試験に臨むことが広く一般的な慣行とされている。また、教科書の記述のうち、出題されそうな個所にはアンダーラインを引いて注目し易くなるように工夫を施す場合もある。
【0003】
ところが、このような試験対策にありがちな丸暗記型の勉強法では、繰り返して読むだけなので教科書等に分散している文言の丸覚えとなり、試験に臨む時点においては一時的な記憶により好成績を獲得できたとしても、試験が終われば記憶は容易に薄れてゆき短期間のうちにおおむね忘れてしまう。
すなわち、このような学習方法では単に目の前の文言の記憶に終始した結果、忘れやすい短期記憶に留まってしまうため、記憶を使いまわして後の学習や想像力として活用されることもできない。
【0004】
このような短期記憶と対極にあるのが長期記憶であって、長期記憶は長期間持続することからその記憶を使いまわして後の学習や想像力として活用することができる。しかしながら、新しい記憶を最初から長期記憶とすることができない。脳が新しい物事を記憶する場合には、新しい記憶はまず海馬に短期記憶として蓄積され、海馬における特定の記憶の刺激が強くなるにつれて大脳に長期記憶として蓄積されるという構造を備えているからである。
すなわち、使い回しが可能な長期記憶を獲得するためには、同じ物事の記憶を繰り返し短期記憶することによって海馬におけるその記憶の刺激を増大させ、その結果として大脳における長期記憶に移行させるプロセスを経る必要がある。
【0005】
このように短期記憶を長期記憶にすることの重要性については、従来から教育業界において学習における大きな課題とされているが、上記長期記憶に移行させるプロセスは脳における生理的変化を要素とするため、長期記憶への移行が生じる刺激の量については個人差があり、教科書を何回読めば長期記憶になるといった数値化は不可能である。このため、長期記憶の定着し難さが効率の良い学習における課題となっている。
【0006】
このような問題を解決するため、特許文献1では、罫線によって形成される複数の行にそれぞれ異なった配色やエンボスを施したノートを提案している。そして、それぞれの行に記入した事柄を配色と組み合わせて記憶することによって、思い出し時にはその配色やエンボスを手掛かりとして記憶の中から目的の事柄を思い出し易くしている。
【先行技術文献】
【特許文献】
【0007】
特開2019-084690
【発明の概要】
【発明が解決しようとする課題】
【0008】
特許文献1では記憶に色や触感を付加することによって印象を強くする手法によって記憶を得ようとしているが、このように記憶に何らかの印象付けをしたとしても、教科書や参考書の重要な個所を単に書き写して単に丸覚えするだけでは短期記憶を効率よく思い出す手法にしか成り得ず、長期記憶を効率よく得るための手助けにはならなかった。
また、本願発明者は長年に亘る効率の良い学習についての研究の結果、教科書や参考書は物事を順番に説明する話し言葉で記されているが、その内容を効率よく記憶する場合には、分散して記されている内容のキーワードと、そのキーワードに係る内容の説明に分類することで、教科書等に分散している文言同士を有機的に関連付ける方法を案出した。
【0009】
さらには、前記分類した文言をノートに所定の規則に従って抽出記述することによってキーワードと説明の思考の流れを容易に把握可能にし、さらに、その内容の説明を思い起こし(リトリーバル)をするための文言を設定して、リトリーバルの文言からノートに記述した内容を再現でき得るか否かを何度も繰り返することによって、短期記憶が短期間に何度も繰り返されて長期記憶への移行を効率よく促すことができる。
また、これらの一連の作業をすることによって、教科書等を読むだけでなく、文言を分類することで一旦思考の中に落とし込み、さらにはノートに抽出記述することで強烈な印象となる。そして、リトリーバルから思い起こしの作業を何度も繰り返すことで、前記強烈な印象が短期間のうちに数多く繰り返される刺激となり、効率よく長期記憶へ移行し易くなる。
そこで、本発明では、上記記憶すべき内容を有機的に関連付け分類した文言を抽出記述して、長期記憶への移行を効率よく促す学習ノートを提供することを目的としている。
【課題を解決するための手段】
【0010】
本発明が上記目的を達成するために成した第1の発明は、ノートを構成する各々の用紙の上縁、側縁及び下縁の少なくとも一つの縁部に、前記用紙に記載した学習内容について記憶が定着したか否かを確認する取り外し可能な記憶定着確認部を設けたことを特徴とする学習ノートとしたことである。
また、第2の発明は、前記第1の発明の記憶定着確認部は、ミシン目により取り外し可能に構成したことである。
さらに、第3の発明は、前記第1の発明の記憶定着確認部は、粘着性を有する剥離部と、前記剥離部を取り外した後に現れる定着状態表記部と、で構成したことである。
さらに、第4の発明は、前記第2の発明又は第3の発明の記憶定着確認部は、前記用紙の縁部の長さ方向に沿って、第1の確認部から第nの確認部まで複数個並設したことである。
さらに、第5の発明は、前記第4の発明の記憶定着確認部は、第1の確認部から第nの確認部に行くにしたがって取り外した後に残る領域が深くなるように構成したことである。
さらに、第6の発明は、前記第5の発明の記憶定着確認部は、取り外した後に残る領域を三角形状(谷形状)としたことである。
さらに、第7の発明は、前記第1の発明の学習ノートを構成する各々の用紙の記述面を、学習した内容を記述する第1の領域から第nの領域に分割したことである。
【発明の効果】
(【0011】以降は省略されています)
この特許をJ-PlatPat(特許庁公式サイト)で参照する
関連特許
FRC株式会社
学習ノート
6か月前
個人
書籍
7か月前
個人
リフター
2か月前
個人
手帳
2か月前
個人
書類ホルダー
6か月前
個人
ノート
6か月前
個人
ダブルクリップ
7か月前
個人
ページめくり穴
25日前
個人
ブランドハガキ
4か月前
個人
ファイル
2か月前
個人
紙片収容保持具
8か月前
個人
メッセージカード
7か月前
個人
カレンダー
1か月前
個人
折り曲げ式しおり
2か月前
個人
ハミガキ辞典
5日前
FRC株式会社
学習ノート
6か月前
個人
脱着リーフ綴込み補助具
7か月前
個人
吊下式カレンダー
7か月前
東洋紡株式会社
地図フィルム
11か月前
株式会社リコー
綴じ装置
2か月前
株式会社バンダイ
ブックマーク
2日前
個人
脱着リングノートシステム
8か月前
ネオライト工業株式会社
しおり
1か月前
独立行政法人 国立印刷局
積層体
4か月前
独立行政法人 国立印刷局
積層体
4か月前
有限会社ライト工房
起立する台紙
5か月前
ダイニック株式会社
ブッククロス
9か月前
独立行政法人 国立印刷局
潜像物
8か月前
個人
冊子収容ケース
1か月前
個人
シート状印刷物セット
2か月前
個人
クリップボードカバー
2日前
個人
タロットカード解説書
7か月前
個人
見開きアルバム立て掛け飾り具
5か月前
独立行政法人 国立印刷局
画像形成体
1か月前
個人
環状具
9か月前
株式会社Luciaube
クリアファイル
9か月前
続きを見る
他の特許を見る