TOP
|
特許
|
意匠
|
商標
特許ウォッチ
Twitter
他の特許を見る
10個以上の画像は省略されています。
公開番号
2025063972
公報種別
公開特許公報(A)
公開日
2025-04-17
出願番号
2023173305
出願日
2023-10-05
発明の名称
書類ホルダー
出願人
個人
代理人
主分類
B42F
7/00 20060101AFI20250410BHJP(製本;アルバム;ファイル;特殊印刷物)
要約
【課題】本発明によれば、本発明はインデックスシートのインデクス部分を外部に突出可能とすることで、分類を容易とすることが可能な書類ホルダーを提供することを目的とする。
【解決手段】書類をシート部材で挟むことで収容可な書類ホルダー1であって、シート部材が背折りされた背折り部にスリット加工部分1aと非スリット部分1eを所定の間隔で処置した書類ホルダー。該書類ホルダーに2穴バインダーパーツ4を付加してファイリングを可能とする。
【選択図】図9
特許請求の範囲
【請求項1】
書類をシート部材で挟むことで収容可な書類ホルダーであって、シート部材が背折りされた背折り部にスリット加工部分と非スリット部分を所定の間隔で処置した書類ホルダー。
続きを表示(約 190 文字)
【請求項2】
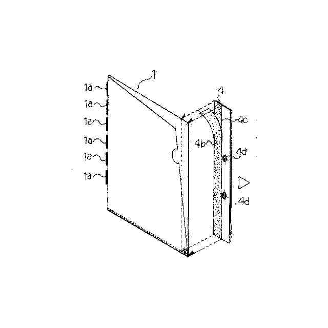
側縁から突出するインデックス部分を有するインデックスシートが、シート部材の間に挟まれており、インデックス部分がスリット加工部分に挿入され、外部に突出する請求項1に記載の書類ホルダー。
【請求項3】
背折り部の反対側の側縁に配置され、長辺部に沿って、バインダー綴込孔が形成されたファイリングパーツを、更に備える請求項1又は2に記載の書類ホルダー。
発明の詳細な説明
【技術分野】
【0001】
書類ホルダー関する。
続きを表示(約 1,700 文字)
【背景技術】
【0002】
従来の書類、文献等の保管、分類、整理に使用している書類ホルダーの一例であるクリアーホルダーは図2に示すように、PP(ポリプロピレン)シートを背折りして下底辺を熱圧着して、上部辺と一側面を挿入収納口としたものである。
【先行技術文献】
【特許文献】
【0003】
特開平07-329472号公報
特開2001-180167号公報
【発明の概要】
【発明が解決しようとする課題】
【0004】
恒久的な文書ファイリング(2穴バインダー綴込みの様な)でなくファイリングしたいけれども孔を開けたくない書類、文献、子供の学校関係書類、或は家庭電気製品の取扱説明書、保証書等は収納し易い従来のクリアーホルダーに挿入、次から次と積み重ねたり、立て掛け収納することが多い。又ポケット状(袋状)ホルダーやバインダーに収納する事が多いが必要時に探しだすのに手間と時間がかかった。
インデクスについては貼付ラベルタイプがあるが位置決め、剥離の心配と収納書類の変更時張替えなければならなかった。
また、インデックスシートに入れても、インデックス部分をクリアーホルダーの外部に出すことが出来なかった。
【課題を解決するための手段】
【0005】
書類をシート部材で挟むことで収容可な書類ホルダーであって、シート部材が背折りされた背折り部にスリット加工部分と非スリット部分を所定の間隔で処置した書類ホルダー。
【0006】
側縁から突出するインデックス部分を有するインデックスシートが、シート材の間に挟まれており、インデックス部分がスリット加工部分に挿入され、外部に突出する書類ホルダー。
【0007】
背折り部の反対側の側縁に配置され、長辺部に沿って、バインダー綴込孔が形成されたファイリングパーツを、更に備える書類ホルダー。
【発明の効果】
【0008】
本発明によれば、本発明はインデックスシートのインデクス部分を外部に突出可能とすることで、分類を容易とすることが可能な書類ホルダーを提供することを目的とする。
【図面の簡単な説明】
【0009】
本発明のクリアーホルダーを説明する図である。
従来のクリアーホルダーを説明する図である。
襞付きクリアーホルダーを説明する図である。
インデックスシート3を説明する図である。
2穴バインダー綴込み用パーツ単体4と4を容易に切り離せるように加工、シート状にした状態を説明する図である。
スリットクリアーホルダーに2穴バインダー用パーツ結合の過程を説明する図である。
インデックススリットクリアーホルダーに2穴バインダー用パーツを結合した斜視図
スリットクリアーホルダーにインデックスシート3を挿入する過程を説明する図である。
インデックススリットクリアーホルダーにインデックスシート2穴バインダー用綴込みパーツを取り付終わった斜視図
インデックススリットクリアーホルダーと2穴バインダー、ファイルボックスの相関関係図。
図8のインデックスシート3をインデックススリットクリアーホルダー1に挿入後一般的なファイルボックス5に収納した斜視図
一般的に使用している2穴ファイルバインダー6に図9に示す全てセットアップしたインデックススリットクリアーホルダー図9を綴じこんだ状態の斜視図。
図Aはインデックスサイズ長さ40mmの例を示し、図Bはインデックス長さ30mmの例を示す図である。
スリット(切断)部と非切断部の一例を示す図である。
【発明を実施するための形態】
【0010】
書類をシート部材で挟むことで収容可な書類ホルダーであって、シート部材が背折りされた背折り部にスリット加工部分1aと非スリット部分1eを所定の間隔で処置した書類ホルダー。
(【0011】以降は省略されています)
この特許をJ-PlatPat(特許庁公式サイト)で参照する
関連特許
個人
書籍
7か月前
個人
リフター
2か月前
個人
手帳
2か月前
個人
書類ホルダー
6か月前
個人
ノート
6か月前
個人
ダブルクリップ
7か月前
個人
ページめくり穴
26日前
個人
ブランドハガキ
4か月前
個人
ファイル
2か月前
個人
紙片収容保持具
8か月前
個人
メッセージカード
7か月前
個人
カレンダー
1か月前
個人
折り曲げ式しおり
2か月前
個人
ハミガキ辞典
6日前
FRC株式会社
学習ノート
6か月前
個人
脱着リーフ綴込み補助具
8か月前
個人
吊下式カレンダー
7か月前
東洋紡株式会社
地図フィルム
11か月前
株式会社リコー
綴じ装置
2か月前
株式会社バンダイ
ブックマーク
3日前
個人
脱着リングノートシステム
8か月前
ネオライト工業株式会社
しおり
1か月前
独立行政法人 国立印刷局
積層体
4か月前
独立行政法人 国立印刷局
積層体
4か月前
有限会社ライト工房
起立する台紙
5か月前
ダイニック株式会社
ブッククロス
9か月前
独立行政法人 国立印刷局
潜像物
9か月前
個人
冊子収容ケース
2か月前
個人
シート状印刷物セット
2か月前
個人
クリップボードカバー
3日前
個人
タロットカード解説書
7か月前
個人
見開きアルバム立て掛け飾り具
5か月前
独立行政法人 国立印刷局
画像形成体
1か月前
個人
環状具
9か月前
株式会社Luciaube
クリアファイル
9か月前
株式会社デュプロ
冊子作成システム
11か月前
続きを見る
他の特許を見る