TOP
|
特許
|
意匠
|
商標
特許ウォッチ
Twitter
他の特許を見る
10個以上の画像は省略されています。
公開番号
2025164062
公報種別
公開特許公報(A)
公開日
2025-10-30
出願番号
2024067799
出願日
2024-04-18
発明の名称
ブックマーク
出願人
株式会社バンダイ
代理人
主分類
B42D
9/00 20060101AFI20251023BHJP(製本;アルバム;ファイル;特殊印刷物)
要約
【課題】実用性が高く且つ興趣性の高いブックマークを提供する。
【解決手段】ブックマーク1であって、 第1パーツ部11と、第2パーツ部12と、からなる本体部10を備え、第1パーツ部11は、第1透過部21を含み、キャラクター型形状を成し、第2パーツ部12は、キャラクター型形状を成していない。ブックマーク1において、一部がキャラクター型形状を成している第1透過部21を備えていることで、キャラクターを連想する楽しみを演出することができる。また、第1透過部21が設けられていることで、ブックマーク1として対象物品50のページを指定するだけでなく、更にページ内の記載事項に第1透過部21を合わせることで、当該記載箇所を特定することが可能となる。
【選択図】図1
特許請求の範囲
【請求項1】
ブックマークであって、
第1パーツ部と、第2パーツ部と、からなる本体部を備え、
前記第1パーツ部は、第1透過部を含み、キャラクター型形状を成し、
前記第2パーツ部は、キャラクター型形状を成していない、ブックマーク。
続きを表示(約 780 文字)
【請求項2】
請求項1に記載のブックマークであって、
前記第1パーツ部と前記第2パーツ部とは異なる形状を成している、ブックマーク。
【請求項3】
請求項2に記載のブックマークであって、
前記第1パーツ部は、前記第2パーツ部よりもその表面積が小さく構成されている、ブックマーク。
【請求項4】
請求項3に記載のブックマークであって、
前記第1パーツ部は、その外縁がキャラクター型形状を成している、ブックマーク。
【請求項5】
請求項4に記載のブックマークであって、
前記第1パーツ部は、前記外縁が曲線を含んで形成されている、ブックマーク。
【請求項6】
請求項5に記載のブックマークであって、
前記第1パーツ部、及び前記第2パーツ部は、対象物品により挟持可能に構成されている、ブックマーク。
【請求項7】
請求項6に記載のブックマークであって、
前記第1パーツ部は、前記第2パーツ部が前記対象物品により挟持されている状態において、少なくともその一部が前記対象物品からはみ出し可能に構成されている、ブックマーク。
【請求項8】
請求項7に記載のブックマークであって、
前記第2パーツ部は、長方形を成している、ブックマーク。
【請求項9】
請求項8に記載のブックマークであって、
前記第1パーツ部は、その横幅が前記第2パーツ部の横幅よりも小さく構成されている、ブックマーク。
【請求項10】
請求項9に記載のブックマークであって、
前記第1パーツ部、及び前記第2パーツ部は、紙以外の軟質部材により構成されている、ブックマーク。
(【請求項11】以降は省略されています)
発明の詳細な説明
【技術分野】
【0001】
本発明は、ブックマークに関する。
続きを表示(約 1,400 文字)
【背景技術】
【0002】
従来、特許文献1においては、クリアインデックスしおりは透明なプラスチッ ク系の同形、同サイズの2枚の矩形平板を重ね合わせて共通の一辺を含む端部で固着したもので、共通の一辺と垂直な中心線に対して対称な非固着部 の各平板の一方の角に切り欠きを設け、さらに端部にインデックス表示部を設けたたことを特徴とする、構成が開示されている。
【先行技術文献】
【特許文献】
【0003】
特開2016-101699号公報
【発明の概要】
【発明が解決しようとする課題】
【0004】
特許文献1においては、単に機能性のみを追求し書籍に挟む構造を有するもので、その遊び心もなく興趣性に欠けるものであった。
【0005】
本発明は、実用性が高く且つ興趣性の高いブックマークを提供することを目的とする。
【課題を解決するための手段】
【0006】
本発明の一態様のブックマークは、ブックマークであって、第1パーツ部と、第2パーツ部と、からなる本体部を備え、第1パーツ部は、第1透過部を含み、キャラクター型形状を成し、第2パーツ部は、キャラクター型形状を成していない、ものである。
【発明の効果】
【0007】
本発明によれば、実用性が高く且つ興趣性の高いブックマークを提供することができる。
【図面の簡単な説明】
【0008】
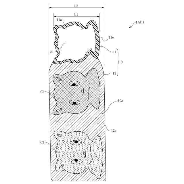
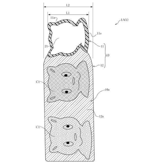
本発明の一態様の第1のブックマークの平面図である。
第1のブックマークの使用状態を示す斜視図である。
図1に示す第1のブックマークの裏面の平面図である。
第2のブックマークを示す平面図である。
第1及び第2のブックマークを重ねた状態を示す平面図である。
第1及び第2のブックマークの使用形態の一例を示す斜視図である。
第3のブックマークを示す平面図である。
第2のブックマークの上に第3のブックマークを重ねた状態を示す平面図である。
第3のブックマークの上に第2のブックマークを重ねた状態を示す平面図である。
【発明を実施するための形態】
【0009】
以下、本発明の一側面を表すブックマークの態様について、図を参照して説明する。
図1は、ブックマーク1において第1のブックマーク1Aの表側の平面図である。図2は、第1のブックマーク1Aの使用状態を示す斜視図である。
【0010】
図1に示す第1のブックマーク1Aは、例えば本や雑誌などの対象物品である書籍50(図2参照)に挟んで使用するものである。この第1のブックマーク1Aは、その本体部10が平板形状であって、例えば第1キャラクターC1が描かれている。本体部10は、輪郭部分11eの少なくとも一部分がキャラクター形状の第1パーツ部11と、略長方形状の第2パーツ部12と、が隣接し連続した構成となっており、両パーツ部11,12の輪郭形状が大きく異なる構成である。本体部10は、紙以外の適宜の硬さを有する軟質の合成樹脂で、且つ光透過性の素材を用いて構成されている。例えば、図柄や第1キャラクターC1などは、光透過性の本体部10の一方面側(表面10a)に形成されている。ここで、キャラクターとは、アニメや漫画のキャラクター、人物や動物等のキャラクター、図形等の何れかを含む概念である。
(【0011】以降は省略されています)
この特許をJ-PlatPat(特許庁公式サイト)で参照する
関連特許
株式会社バンダイ
玩具
1か月前
株式会社バンダイ
玩具
1か月前
株式会社バンダイ
玩具
1か月前
株式会社バンダイ
物品
1か月前
株式会社バンダイ
玩具
1か月前
株式会社バンダイ
ゲーム装置
1か月前
株式会社バンダイ
ゲーム装置
1か月前
株式会社バンダイ
ゲーム装置
1か月前
株式会社バンダイナムコエクスペリエンス
袋体供給装置
1か月前
株式会社バンダイ
演出出力玩具
1か月前
株式会社バンダイ
ブックマーク
23日前
株式会社バンダイナムコエクスペリエンス
ゲームシステム
1か月前
株式会社バンダイ
模型部品及び模型玩具
1か月前
株式会社バンダイナムコエンターテインメント
コンピュータシステム
1か月前
株式会社バンダイ
模型部品及び模型玩具
1か月前
株式会社バンダイ
模型玩具、及び模型部品
1か月前
株式会社バンダイナムコエクスペリエンス
ゲーム装置および操作具
1か月前
株式会社バンダイ
模型玩具、及び模型部品
1か月前
株式会社バンダイ
玩具、及び制御プログラム
1か月前
株式会社バンダイ
ゲーム装置及びプログラム
1か月前
株式会社バンダイ
プログラム及びゲーム装置
1か月前
株式会社バンダイ
ゲーム装置及びプログラム
1か月前
株式会社バンダイ
玩具、及び制御プログラム
1か月前
株式会社バンダイ
プログラム及びゲーム装置
1か月前
株式会社バンダイ
模型部品、および模型玩具
1か月前
株式会社バンダイ
プログラム及びゲーム装置
1か月前
株式会社バンダイ
プログラム、及びゲーム装置
1か月前
株式会社バンダイ
プログラム、及びゲーム装置
1か月前
株式会社バンダイ
プログラム、及びゲーム装置
1か月前
株式会社バンダイ
プログラム、及びゲーム装置
1か月前
株式会社バンダイ
プログラム、及びゲーム装置
1か月前
株式会社バンダイ
プログラム、及びゲーム装置
1か月前
株式会社バンダイ
ゲーム玩具、及びプログラム
1か月前
株式会社バンダイ
プログラム、及びゲーム装置
1か月前
株式会社バンダイ
プログラム、及びゲーム装置
1か月前
株式会社バンダイ
プログラム、及びゲーム装置
1か月前
続きを見る
他の特許を見る