TOP
|
特許
|
意匠
|
商標
特許ウォッチ
Twitter
他の特許を見る
10個以上の画像は省略されています。
公開番号
2025136753
公報種別
公開特許公報(A)
公開日
2025-09-19
出願番号
2024035573
出願日
2024-03-08
発明の名称
エレベータ
出願人
フジテック株式会社
代理人
個人
,
個人
,
個人
主分類
B66B
3/00 20060101AFI20250911BHJP(巻上装置;揚重装置;牽引装置)
要約
【課題】かご内に設置された放音部を介して放音するときの音量を適切な大きさに調節可能なエレベータを提供する。
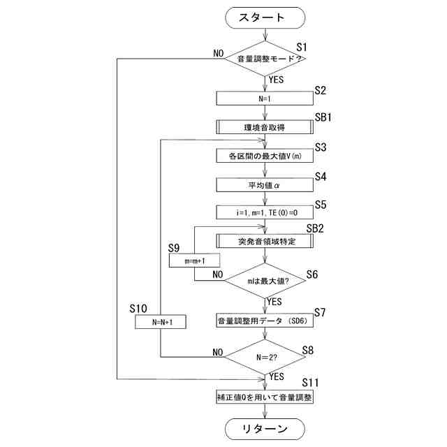
【解決手段】エレベータ10は、乗りかご20のかご内に設置されたスピーカ(放音部)SPを介して行う音声案内の音の大きさを調節する機能を有し、乗りかご20の通話用マイク(収音部)46Mと、スピーカSPを介して行う音声案内を制御する音制御部36とを備え、音制御部36は、通話用マイク46Mを買強いて収音された環境音から突発音を除去した補正値を用いてスピーカSPから発生させる音の大きさを調節する音量調整モードを有する。
【選択図】図3
特許請求の範囲
【請求項1】
エレベータの乗りかご内に設置された放音部から発生させる音の大きさを調節する機能を有するエレベータであって、
前記乗りかご内に設置された収音部と、
前記放音部から放音する音を制御する音制御部と、
を備え、
前記音制御部は、前記収音部を介して収音された環境音から異常音を取り除いて算出された補正値を用いて前記放音部から放音する音の大きさを調節する音量調整モードを有する、
エレベータ。
続きを表示(約 350 文字)
【請求項2】
前記乗りかごには、乗客が乗降するためのかご扉が設けられており、
前記音制御部は、前記かご扉が開いている場合と前記かご扉が閉じている場合に各々前記音量調整モードを実行する、
請求項1に記載のエレベータ。
【請求項3】
前記音制御部は、各乗場に停止している状態で前記音量調整モードを実行する、
請求項1に記載のエレベータ。
【請求項4】
前記乗りかごには、積載荷重を検出する荷重検出部が含まれ、
前記音制御部は、前記荷重検出部が検出する積載荷重が所定値以上である場合と前記所定値未満である場合に各々前記音量調整モードを実行して前記放音部から放音する音の大きさを調節する、
請求項1に記載のエレベータ。
発明の詳細な説明
【技術分野】
【0001】
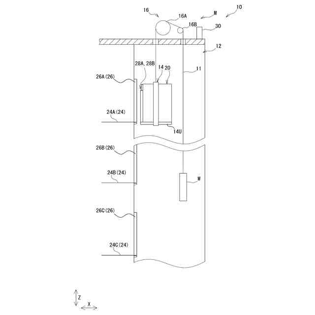
本発明は、エレベータに関し、特に、エレベータのかご内における放音する音の大きさに関する。
続きを表示(約 1,300 文字)
【背景技術】
【0002】
エレベータの乗りかごには、各種の音声案内などをかご内に放音するためにスピーカが設けられている。このようなスピーカからかご内に放音するときの音の大きさは利用者が音声案内の内容を聞き取りやすい大きさの音量に設定することが望ましい。一方、スピーカから放音する音が大きすぎるとかご内の快適性が損なわれるおそれもある。このため、利用者が聞き取りやすい適切な大きさの音量に設定する必要がある。
【0003】
また、上記スピーカ以外の音源から発生し乗りかご内に伝播する音、いわゆる暗騒音(環境音)の大きさは、乗りかごの混雑具合や騒音源となり得るかご内外の様々な環境要因によっても大きく変動する。このため、エレベータの設置環境や利用状況などによってスピーカから発生させるべき適切な音量の大きさも個々に異なる。
【0004】
例えば、特許文献1には、かご内の環境音を収音するマイクロホンの出力信号をかご内音分析手段で分析して音成分信号11aを作成するとともに、かご内放送装置からの放送信号7aを放送信号分析手段で分析して音成分信号9aを作成し、音成分信号11aから音成分信号9aを減算することで騒音信号13aとし、この騒音信号13aの大きさおよび騒音信号13aと放送信号7aとの関係に基づいて放送音量を制御するエレベータが開示されている。
【先行技術文献】
【特許文献】
【0005】
特開平9-297587号公報
【発明の概要】
【発明が解決しようとする課題】
【0006】
しかしながら、上記特許文献1に記載のエレベータの構成では、一時的な要因によって発生した音、例えば、かご内の壁に物体がぶつかる音や、利用者の話し声などがマイクロホンを介して収音されてしまった場合には適切な音量に設定することができない。このため、音声案内の音量が不適切な大きさに設定されてしまうなどの問題が起こり得る。
【0007】
本発明では、かご内に設置された放音部を介して放音するときの音量を適切な大きさに調節可能なエレベータを提供することを目的とする。
【課題を解決するための手段】
【0008】
本発明のエレベータは、エレベータの乗りかご内に設置された放音部から発生させる音の大きさを調節する機能を有するエレベータであって、乗りかご内に設置された収音部と、放音部から放音する音を制御する音制御部と、を備え、音制御部は、収音部を介して収音された環境音から異常音を除去した補正値を用いて放音部から放音する音の大きさを調節する音量調整モードを有するものである。
【0009】
本発明のエレベータにおいて、乗りかごには、乗客が乗降するためのかご扉が設けられており、音制御部は、かご扉が開いている場合とかご扉が閉じている場合に各々音量調整モードを実行してもよい。
【0010】
本発明のエレベータにおいて、音制御部は、各乗場に停止している状態で音量調整モードを実行してもよい。
(【0011】以降は省略されています)
特許ウォッチbot のツイートを見る
この特許をJ-PlatPat(特許庁公式サイト)で参照する
関連特許
フジテック株式会社
乗客コンベア
21日前
フジテック株式会社
マンコンベヤ
21日前
フジテック株式会社
フック掛け器具
23日前
フジテック株式会社
情報提供システム
1日前
フジテック株式会社
昇降路内作業装置
2日前
フジテック株式会社
マンコンベヤ手摺ベルト及びマンコンベヤ
今日
フジテック株式会社
エレベータ、及びエレベータの行先階登録装置
1日前
フジテック株式会社
表示装置、表示制御方法、および、表示制御プログラム
今日
フジテック株式会社
表示装置、表示制御方法、および、表示制御プログラム
23日前
フジテック株式会社
表示装置、表示制御方法、および、表示制御プログラム
29日前
フジテック株式会社
エレベータかご、エレベータ及びエレベータかごの製造方法
1日前
フジテック株式会社
施工参照情報生成装置、施工参照情報生成方法、および、施工参照情報生成プログラム
21日前
個人
自走手摺
4か月前
個人
転落防止階段
29日前
個人
小型クレーン
23日前
ユニパルス株式会社
吊具
5か月前
個人
海上コンテナ昇降装置
11か月前
ユニパルス株式会社
荷役装置
10か月前
株式会社いうら
車椅子用昇降機
4か月前
ユニパルス株式会社
リフト装置
6か月前
株式会社豊田自動織機
産業車両
2か月前
株式会社豊田自動織機
荷役車両
11か月前
株式会社豊田自動織機
荷役車両
10か月前
水戸工業株式会社
吊り具
7か月前
愛知製鋼株式会社
受け架台
3か月前
ユニパルス株式会社
荷役助力装置
7か月前
個人
エアバック式レスキュー用品
1か月前
ユニパルス株式会社
荷役助力装置
4か月前
白山工業株式会社
バランサ
8か月前
個人
垂直自動搬送機
2か月前
大栄産業株式会社
クランプ
6か月前
株式会社大林組
安全支援システム
3か月前
株式会社伊藤
滑り止め装置
3か月前
ユニパルス株式会社
荷役助力装置
5か月前
岐阜工業株式会社
運搬台車
1か月前
個人
アウトリガー用転倒防止ベース
22日前
続きを見る
他の特許を見る