TOP
|
特許
|
意匠
|
商標
特許ウォッチ
Twitter
他の特許を見る
公開番号
2025134133
公報種別
公開特許公報(A)
公開日
2025-09-17
出願番号
2024031837
出願日
2024-03-04
発明の名称
エネルギー変換器及び加工装置
出願人
学校法人神奈川大学
代理人
個人
,
個人
主分類
H02K
9/19 20060101AFI20250909BHJP(電力の発電,変換,配電)
要約
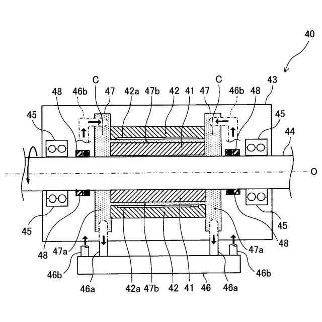
【課題】エネルギー変換器(発電機あるいは電動機)の冷却効率を向上させる。
【解決手段】移動部材(ロータ41)を移動させる運動エネルギーに電気エネルギーを変換するエネルギー変換器(モータ40)であって、電気エネルギーの電流が流れる導電体(コイル42a)を絶縁性の冷媒液に直接浸して液浸冷却を行う液浸冷却部47を有する。これによれば、液浸冷却による高い冷却効率を実現して、エネルギー変換器の冷却効率を向上させることができる。
【選択図】図3
特許請求の範囲
【請求項1】
移動部材が移動する運動エネルギーを電気エネルギーに、又は、移動部材を移動させる運動エネルギーに電気エネルギーを変換するエネルギー変換器であって、
前記電気エネルギーの電流が流れる導電体を絶縁性の冷媒液に直接浸して液浸冷却を行う液浸冷却部を有することを特徴とするエネルギー変換器。
続きを表示(約 850 文字)
【請求項2】
請求項1に記載のエネルギー変換器において、
前記液浸冷却部は、単相式の液浸冷却を行うものであることを特徴とするエネルギー変換器。
【請求項3】
請求項1に記載のエネルギー変換器において、
前記液浸冷却部は、2相式の液浸冷却を行うものであることを特徴とするエネルギー変換器。
【請求項4】
請求項1乃至3のいずれか1項に記載のエネルギー変換器において、
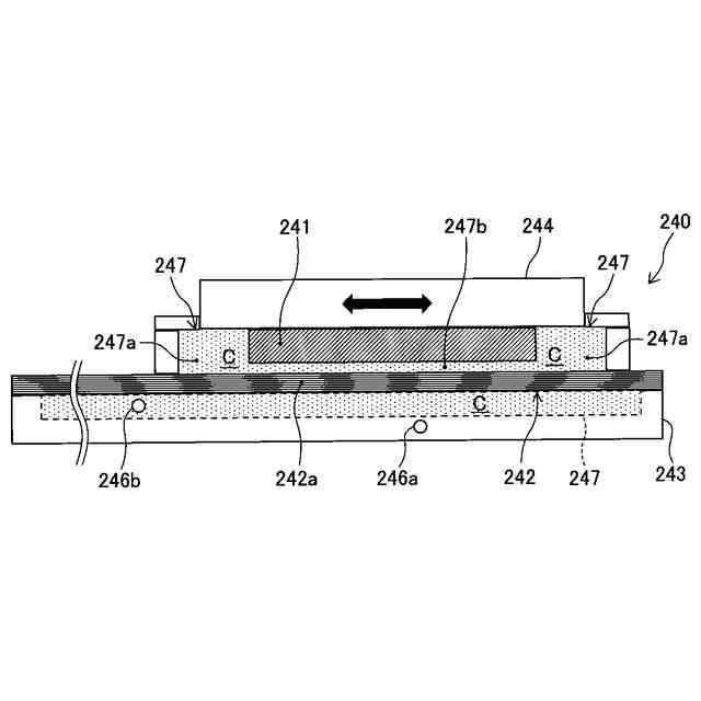
前記導電体は、前記移動部材の移動面及び該移動面に隙間をあけて対向する対向部材の対向面のうちの少なくとも一方に配置され、
前記液浸冷却部は、前記隙間に充填される前記冷媒液により充填して前記液浸冷却を行い、
前記冷媒液として、前記移動部材の移動によって生じる冷媒液の粘性抵抗を目標値以下に抑える低粘度の冷媒液を用いることを特徴とするエネルギー変換器。
【請求項5】
請求項1乃至3のいずれか1項に記載のエネルギー変換器において、
前記導電体はコイルであることを特徴とするエネルギー変換器。
【請求項6】
請求項1乃至3のいずれか1項に記載のエネルギー変換器において、
前記移動部材は、回転移動するロータであり、
前記対向部材は、固定配置されるステータであることを特徴とするエネルギー変換器。
【請求項7】
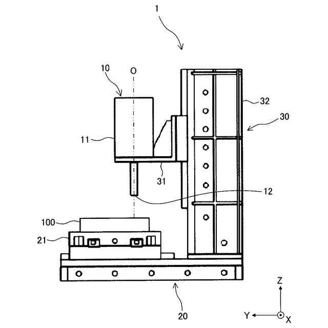
電動機が発生させる運動エネルギーによって稼働する加工部材により被加工対象物を加工する、あるいは、電動機が発生させる運動エネルギーによって加工用の工具に運動を付与する加工装置であって、
前記電動機として、請求項1乃至3のいずれか1項に記載のエネルギー変換器を用いることを特徴とする加工装置。
【請求項8】
請求項7の加工装置であって、
前記加工部材又は前記工具の回転軸に前記電動機の前記移動部材の回転軸が取り付けられていることを特徴とする加工装置。
発明の詳細な説明
【技術分野】
【0001】
本発明は、電動機又は発電機として用いられるエネルギー変換器及び加工装置に関するものである。
続きを表示(約 2,300 文字)
【背景技術】
【0002】
従来、移動部材が移動する運動エネルギーを電気エネルギーに変換するエネルギー変換器としての発電機や、移動部材を移動させる運動エネルギーに電気エネルギーを変換するエネルギー変換器としての電動機が知られている。
【0003】
例えば、特許文献1には、コイル(導電体)を備えたステータ(対向部材)の内部に、永久磁石を備えたロータ(移動部材)が配置された回転電機(電動機)が開示されている。この回転電機において、ロータのシャフト(回転軸)の内部には、同軸上を貫通するように軸方向に延びる軸心冷却路が設けられ、トランスミッションの潤滑や動力伝達等に用いられる作動油からなる冷媒が軸心冷却路を流れている。この軸心冷却路は、シャフトの軸方向中央部付近に設けられる径方向流路が連通している。この径方向流路は、ロータ内部を径方向に延びており、ロータの軸方向端部まで軸方向に沿って延びる別の流路に連通している。ポンプなどにより軸心冷却路に供給された冷媒は、ロータ回転時の遠心力により径方向流路内へ流入し、ロータの軸方向端部からロータの外部へと排出され、ロータを冷却する。
【先行技術文献】
【特許文献】
【0004】
特開2020-145782号公報
【発明の概要】
【発明が解決しようとする課題】
【0005】
近年、前記特許文献1に開示の回転電機のように、電動機を効率よく冷却するために、冷媒液で冷却する液冷方式を採用するものが提案されている。従来の液令方式の電動機は、電動機を構成する絶縁部材に流路を形成して、その流路に冷媒液を流すことにより冷却する。そのため、電動機において主要な発熱源となる電流の流れる導電体の冷却については、導電体から絶縁部材に伝達された熱を冷媒液に逃がして冷却するという間接的な冷却であり、電動機の冷却効率について改善の余地がある。
【0006】
なお、この課題は、移動部材を移動させる運動エネルギーに電気エネルギー(電流)を変換するエネルギー変換器である電動機と同様、移動部材が移動する運動エネルギーを電気エネルギーに変換するエネルギー変換器である発電機においての課題ともなり得る。
【課題を解決するための手段】
【0007】
上述した課題を解決するために、本発明の一態様は、移動部材が移動する運動エネルギーを電気エネルギーに、又は、移動部材を移動させる運動エネルギーに電気エネルギーを変換するエネルギー変換器であって、前記電気エネルギーの電流が流れる導電体を絶縁性の冷媒液に直接浸して液浸冷却を行う液浸冷却部を有することを特徴とするものである。
本態様において、主要な発熱源となる電流の流れる導電体の冷却については、当該導電体を絶縁性の冷媒液に直接浸して冷却する液浸冷却を行う。これによれば、電流が流れる導電体で発生した熱を導電体から冷媒液に直接伝達して逃がすことができるので、導電体から効率よく熱を逃がすことができ、導電体を効率よく冷却することができ、エネルギー変換器(発電機あるいは電動機)全体の冷却効率を向上させることができる。
【0008】
前記エネルギー変換器において、前記液浸冷却部は、単相式の液浸冷却を行うものであってもよい。
本エネルギー変換器によれば、比較的高い沸点をもつ冷媒液を用いることができるので、絶縁性の冷媒液の選択肢が多くなる結果、例えば、より高い熱伝導率の冷媒液を採用して、冷却効率を高めることが可能である。
【0009】
前記エネルギー変換器において、前記液浸冷却部は、2相式の液浸冷却を行うものであってもよい。
本エネルギー変換器によれば、冷媒液が液体から気体に相変化するときの気化熱を利用して導電体から冷媒液に伝達した熱を逃がすことができるので、冷却効率を高めることが可能である。
【0010】
前記エネルギー変換器において、前記導電体は、前記移動部材の移動面及び該移動面に隙間をあけて対向する対向部材の対向面のうちの少なくとも一方に配置されてもよく、前記液浸冷却部は、前記隙間に充填される前記冷媒液により充填して前記液浸冷却を行ってもよく、前記冷媒液として、前記移動部材の移動によって生じる冷媒液の粘性抵抗を目標値以下に抑える低粘度の冷媒液を用いてもよい。
冷媒液に浸される導電体が、移動部材の移動面及びその移動面に隙間をあけて対向する対向部材の対向面のうちの少なくとも一方に配置されている場合、移動部材の移動(移動面の移動)により、その移動面に接する冷媒液には粘性抵抗が生じる。この粘性抵抗は、冷媒液の粘度が高いほど大きいものとなり、粘性抵抗が大きいほど多くの熱を生じさせる。また、冷媒液に生じる粘性抵抗は、移動体の移動に対する負荷となるため、電動機であれば、より多くの電流を流すことによる発熱量の増大を招き、発電機であれば発生する電気エネルギーの減少による発電効率の低下を招く。本エネルギー変換器では、冷媒液として、移動部材の移動によって冷媒液に生じる粘性抵抗を目標値以下に抑える低粘度の冷媒液が用いられる。したがって、粘性抵抗により冷媒液に発生する発熱を抑制して、粘性抵抗の発熱による冷却効率の低下を抑制することができる。また、冷媒液の粘性抵抗による移動体の移動負荷を抑制して、電動機における発熱量の増大や発電機における発電効率の低下を抑制することができる。
(【0011】以降は省略されています)
この特許をJ-PlatPat(特許庁公式サイト)で参照する
関連特許
学校法人神奈川大学
展開式浮体装置
4か月前
学校法人神奈川大学
座屈拘束ブレース
7か月前
学校法人神奈川大学
制御装置及び推定装置
2か月前
学校法人神奈川大学
蛍光体及びその製造方法
6日前
学校法人神奈川大学
エネルギー変換器及び加工装置
1か月前
学校法人神奈川大学
接着加工部材の製造方法及び治具
2か月前
学校法人神奈川大学
金属表面処理組成物及び製造方法
6か月前
学校法人神奈川大学
連結分離装置及びその組み立て方法
4か月前
学校法人神奈川大学
化合物及びそれを含んでなる発光材料
2か月前
学校法人神奈川大学
芳香族ポリエステルおよびその製造方法
2か月前
株式会社イノアック技術研究所
高分子
6か月前
学校法人神奈川大学
ポリマー材料、成型体又は重合性半製品の製造方法
1か月前
学校法人神奈川大学
高分子化合物を分解する方法、及びそのための組成物
1か月前
学校法人神奈川大学
化合物、それを含んでなる光触媒、及び水素の製造方法
7か月前
ダイキン工業株式会社
フッ素含有ポリマーの分解方法
8か月前
学校法人神奈川大学
シクロペンタ-縮環多環芳香族炭化水素化合物の製造方法
2か月前
学校法人神奈川大学
飽和回避制御装置、姿勢制御装置、自走式移動装置及び飽和回避制御方法
3か月前
日本化学工業株式会社
ホスフィンパラジウム錯体、重合触媒及び芳香族ポリマーの製造方法
4か月前
ダイキン工業株式会社
フッ素含有ポリマーの分解方法
3か月前
学校法人神奈川大学
バナジウムの回収方法、及びバナジウムとその他の金属とを含む溶液からバナジウムを選択的に回収する方法
2か月前
学校法人神奈川大学
化合物、エポキシ基含有化合物に対する反応剤、硬化性組成物及び化学反応方法
5か月前
学校法人神奈川大学
クラックパターン膜及びそれからなる透明導電膜形成用マスク、クラックパターン膜の製造方法、透明導電膜の製造方法、導電膜の基材に対する密着性を向上させる方法、並びに導電膜
2か月前
個人
単極モータ
1か月前
個人
電気を重力で発電装置
7日前
キヤノン電子株式会社
モータ
14日前
キヤノン電子株式会社
モータ
6日前
株式会社アイシン
ロータ
1か月前
株式会社アイシン
ロータ
1か月前
日星電気株式会社
ケーブル組立体
22日前
コーセル株式会社
電源装置
15日前
トヨタ自動車株式会社
モータ
6日前
株式会社デンソー
回転機
28日前
株式会社アイシン
ステータ
1か月前
株式会社ダイヘン
充電装置
1か月前
株式会社アイシン
ステータ
1か月前
株式会社アイシン
ステータ
1か月前
続きを見る
他の特許を見る