TOP
|
特許
|
意匠
|
商標
特許ウォッチ
Twitter
他の特許を見る
公開番号
2025133206
公報種別
公開特許公報(A)
公開日
2025-09-11
出願番号
2024031011
出願日
2024-03-01
発明の名称
放熱構造体の製造方法
出願人
DOWAホールディングス株式会社
,
国立大学法人大阪大学
代理人
個人
主分類
H01L
23/12 20060101AFI20250904BHJP(基本的電気素子)
要約
【課題】金属-セラミックス接合基板の金属ベース板と金属放熱板との接合面積が大きい放熱構造体の金属ベース板と金属放熱板との接合面をめっきすることなく、接合の際の加熱温度が従来より低温でも、金属ベース板と金属放熱板を互いに十分な接合強度で接合する放熱構造体の製造方法を提供する。
【解決手段】アルミニウム又はアルミニウム合金の金属放熱板18の一方の面をブラスト処理することで粗面化する表面処理をした後、金属放熱板の一方の面の互いに離間した複数の塗布領域に銀ペーストを塗布し、セラミックス基板10の一方の面にアルミニウム又はアルミニウム合金の金属回路板12が接合するとともに他方の面にアルミニウム又はアルミニウム合金の金属ベース板14を当接させるように配置し、その後、銀ペースト中の銀を焼結させて銀接合層16を形成し、銀接合層によって金属ベース板を金属放熱板の一方の面に接合することで放熱構造体を製造する。
【選択図】図2
特許請求の範囲
【請求項1】
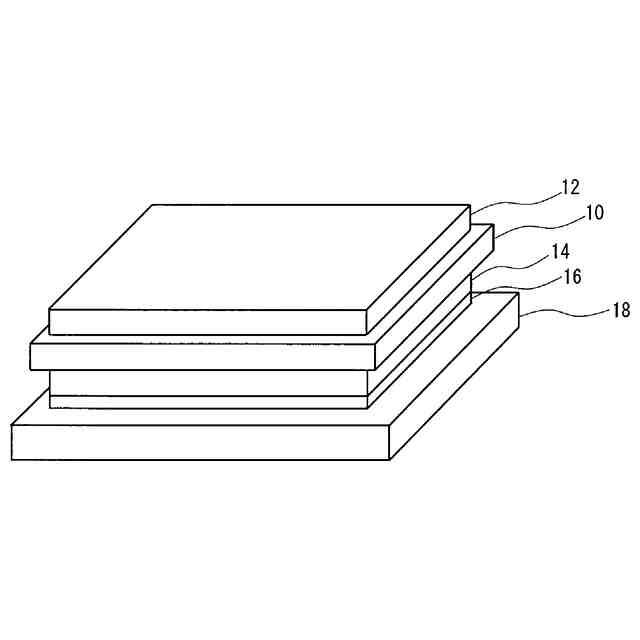
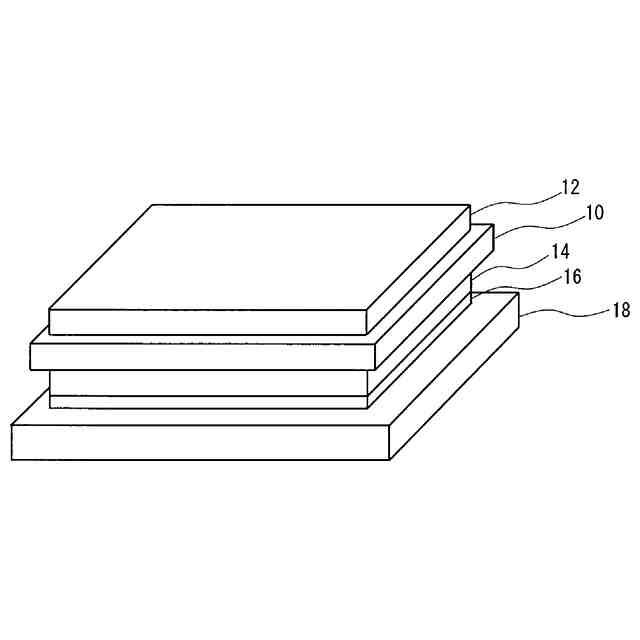
セラミックス基板の一方の面にアルミニウムまたはアルミニウム合金からなる金属回路板が接合するとともに他方の面にアルミニウムまたはアルミニウム合金からなる金属ベース板の一方の面が接合した金属-セラミックス接合基板を用意するとともに、アルミニウムまたはアルミニウム合金からなる金属放熱板を用意し、この金属放熱板の一方の面をブラスト処理により粗面化する表面処理をした後、金属放熱板の一方の面の互いに離間した複数の塗布領域に銀ペーストを塗布し、この銀ペースト上に金属ベース板の他方の面を当接させるように金属ベース板を配置し、その後、銀ペースト中の銀を焼結させて銀接合層を形成し、この銀接合層によって金属ベース板を金属放熱板の一方の面に接合することを特徴とする、放熱構造体の製造方法。
続きを表示(約 840 文字)
【請求項2】
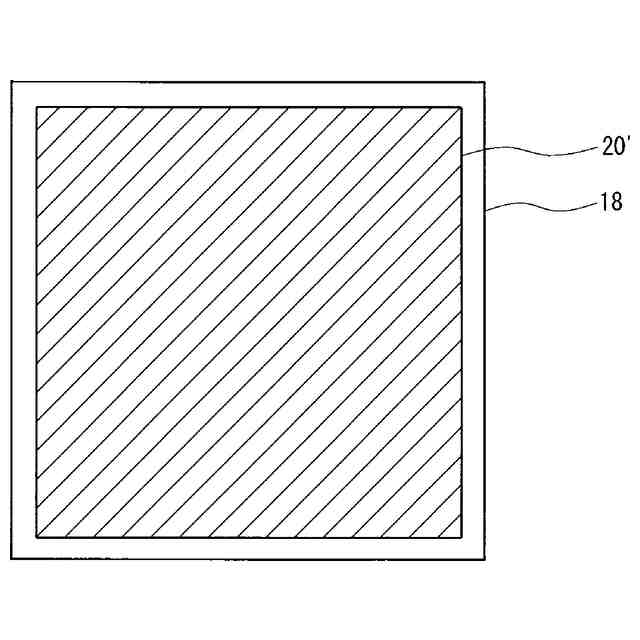
前記複数の塗布領域の各々が、前記金属放熱板の一方の面に前記銀ペーストを塗布しない非塗布領域に囲まれていることを特徴とする、請求項1に記載の放熱構造体の製造方法。
【請求項3】
前記非塗布領域が、前記金属放熱板の一方の面に格子状に配置されていることを特徴とする、請求項2に記載の放熱構造体の製造方法。
【請求項4】
前記複数の塗布領域の各々が、矩形の領域であることを特徴とする、請求項3に記載の放熱構造体の製造方法。
【請求項5】
前記ブラスト処理により、前記金属放熱板の一方の面の算術平均粗さRaを1.7μm以上にすることを特徴とする、請求項1に記載の放熱構造体の製造方法。
【請求項6】
前記ブラスト処理により、前記金属放熱板の一方の面の十点平均粗さRzを8μm以上にすることを特徴とする、請求項1に記載の放熱構造体の製造方法。
【請求項7】
前記焼結が、前記金属放熱板に対して前記第2の金属を加圧しながら加熱することによって行われることを特徴とする、請求項1に記載の放熱構造体の製造方法。
【請求項8】
前記加熱が400℃未満の温度で行われることを特徴とする、請求項7に記載の放熱構造体の製造方法。
【請求項9】
前記加熱が、60℃以上120℃未満の温度で加熱する第1の加熱工程と、120℃以上190℃未満の温度で加熱する第2の加熱工程と、190℃以上300℃未満の温度で加熱する第3の加熱工程と、300℃以上400℃未満の温度で加熱する第4の加熱工程とからなることを特徴とする、請求項7に記載の放熱構造体の製造方法。
【請求項10】
前記ブラスト処理の前処理として、前記金属放熱板の一方の面を水酸化ナトリウム水溶液で化学研磨することを特徴とする、請求項1に記載の放熱構造体の製造方法。
(【請求項11】以降は省略されています)
発明の詳細な説明
【技術分野】
【0001】
本発明は、放熱構造体の製造方法に関し、特に、セラミックス基板の一方の面にアルミニウムまたはアルミニウム合金からなる金属回路板が接合するとともに他方の面にアルミニウムまたはアルミニウム合金からなる金属ベース板の一方の面が接合し、この金属ベース板の他方の面にアルミニウムまたはアルミニウム合金からなる金属放熱板が接合した放熱構造体の製造方法に関する。
続きを表示(約 2,200 文字)
【背景技術】
【0002】
従来、電気自動車、電車、工作機械などの大電流を制御するために使用されているパワーモジュールなどの発熱量の大きい半導体装置では、セラミックス基板の一方の面に(パワー半導体素子などの半導体素子を搭載する)回路用金属板が接合し、他方の面に(ヒートシンクなどの放熱部材を取り付ける)金属ベース板が接合した金属-セラミックス接合基板が使用されている。
【0003】
このような金属-セラミックス接合基板にヒートシンクなどの放熱部材が取り付けられた放熱構造体を製造する方法として、絶縁基板の一方の面に回路層が形成されているとともに他方の面に金属層が形成されたパワーモジュール用基板の金属層の絶縁基板とは反対側の面およびヒートシンクのうちの少なくとも一方の表面に、平均粒径が0.1μm以上1μm以下の範囲内の銀粒子を70質量%以上95質量%以下の範囲内の量で含むペースト状接合材組成物の層を形成し、パワーモジュール用基板とヒートシンクとをペースト状接合材組成物の層を介して積層し、パワーモジュール用基板とヒートシンクとを積層方向に1MPa以下の圧力下において150℃以上300℃以下の温度で加熱することにより、ヒートシンク付パワーモジュール用基板を製造する方法が提案されている(例えば、特許文献1参照)。
【0004】
また、セラミックス板の表面に板状のAlまたはAl合金からなるAl系金属部材が接合されている絶縁基板と、AlまたはAl合金からなる放熱ベース板とを、MgM=(Mg1+Mg2)/2(ここで、Mg1はAl系金属部材のMg含有量(質量%)、Mg2は放熱ベース板のMg含有量(質量%)である)で表される平均Mg含有量MgMが0.2~1.5質量%となる組み合わせで用意し、絶縁基板のAl系金属部材と放熱ベース板の間に銀シートを挟んで、Al系金属部材と銀シートと放熱ベース板とが積層した積層体を形成し、この積層体のAl系金属部材と放熱ベース板の間の積層方向の圧縮応力が1.0~10.0MPaとなる状態とし、その積層体を不活性ガス雰囲気下または1.3×10
-2
Pa以下の真空下において最高到達温度が400~600℃となるように加熱することにより、Al系金属部材と放熱ベース板との間に、Ag、Al、Mg、Siの合計含有量に占める質量割合で、Al:5.0~20.0質量%、Mg:0.1~2.0質量%、Si:1.0質量%以下、残部がAgである組成を有するAg-Al系合金相が70体積%以上含まれる板状のAgリッチ層を形成させ、Al系金属部材と放熱ベース板とを、Agリッチ層を介して接合させることにより、放熱構造体を製造する方法が提案されている(例えば、特許文献2参照)。
【先行技術文献】
【特許文献】
【0005】
特開2019-87607号公報(段落番号0011)
特開2023-35714号公報(段落番号0014)
【発明の概要】
【発明が解決しようとする課題】
【0006】
近年、パワー半導体素子の小型化が進み、パワー半導体素子から発生する熱による発熱密度が上昇しており、熱の広がりを利用して冷却するために、パワーモジュール用の金属-セラミックス接合基板の金属ベース板の(金属放熱板を接合する面の)面積を20mm×20mm以上に大きくすることが求められている。
【0007】
しかし、従来のパワーモジュール用の金属-セラミックス接合基板の金属ベース板の(金属放熱板を接合する面の)面積を20mm×20mm以上に大きくすると、金属ベース板と金属放熱板との間の十分な接合強度(シェア強度)を得られないという問題があった。
【0008】
例えば、特許文献1の方法では、接合層(ペースト状接合材組成物の層)を介してヒートシンクを接合する絶縁基板の金属層の面積を大きくすると、ヒートシンクと接合層との間の十分な接合力を得られない場合があり、十分な接合力を得るために、ヒートシンクの天板部の表面に銀めっき層または金めっき層を設ける必要がある。そのため、銀めっきや金めっきのような貴金属めっきが必要になるとともに、めっき工程が必要になり、製造コストが高くなる。
【0009】
また、特許文献2の方法では、Al系金属部材と銀シートと放熱ベース板の積層体を最高到達温度が400~600℃になるように高温に加熱する必要があるため、銀シートを介して放熱ベース板を接合するAl系金属部材の面積を大きくすると、Al系金属部材と放熱ベース板との熱膨張差が大きくなって、放熱構造体の反りが大きくなり、パワーモジュールなどのアセンブリが困難になる場合がある。
【0010】
したがって、本発明は、このような従来の問題点に鑑み、金属-セラミックス接合基板の金属ベース板と金属放熱板との接合面積が大きい放熱構造体の金属ベース板と金属放熱板との接合面をめっきすることなく、接合の際の加熱温度が従来より低温でも、金属ベース板と金属放熱板を互いに十分な接合強度で接合することができる、放熱構造体の製造方法を提供することを目的とする。
【課題を解決するための手段】
(【0011】以降は省略されています)
この特許をJ-PlatPat(特許庁公式サイト)で参照する
関連特許
個人
フレキシブル電気化学素子
1日前
日本発條株式会社
積層体
12日前
ローム株式会社
半導体装置
8日前
ローム株式会社
半導体装置
10日前
ローム株式会社
半導体装置
10日前
ローム株式会社
半導体装置
3日前
ローム株式会社
半導体装置
10日前
個人
防雪防塵カバー
12日前
株式会社ユーシン
操作装置
1日前
太陽誘電株式会社
全固体電池
8日前
オムロン株式会社
電磁継電器
2日前
株式会社GSユアサ
蓄電装置
8日前
個人
半導体パッケージ用ガラス基板
11日前
株式会社ホロン
冷陰極電子源
8日前
株式会社GSユアサ
蓄電装置
12日前
株式会社GSユアサ
蓄電設備
1日前
太陽誘電株式会社
コイル部品
1日前
株式会社ティラド
面接触型熱交換器
23日前
株式会社GSユアサ
蓄電設備
1日前
日本特殊陶業株式会社
保持装置
8日前
TDK株式会社
電子部品
8日前
ノリタケ株式会社
熱伝導シート
1日前
日本特殊陶業株式会社
保持装置
12日前
トヨタ自動車株式会社
蓄電装置
1日前
トヨタ自動車株式会社
二次電池
12日前
サクサ株式会社
電池の固定構造
1日前
日本特殊陶業株式会社
保持装置
8日前
ローム株式会社
電子装置
12日前
トヨタ自動車株式会社
バッテリ
2日前
マクセル株式会社
配列用マスク
23日前
日本特殊陶業株式会社
保持装置
10日前
日東電工株式会社
積層体
2日前
日本特殊陶業株式会社
電極
8日前
株式会社デンソー
電子装置
12日前
日本特殊陶業株式会社
電極
8日前
TDK株式会社
コイル部品
10日前
続きを見る
他の特許を見る