TOP
|
特許
|
意匠
|
商標
特許ウォッチ
Twitter
他の特許を見る
10個以上の画像は省略されています。
公開番号
2025132697
公報種別
公開特許公報(A)
公開日
2025-09-10
出願番号
2024030437
出願日
2024-02-29
発明の名称
暖房装置
出願人
メトロ電気工業株式会社
代理人
個人
,
個人
主分類
F24C
7/04 20210101AFI20250903BHJP(加熱;レンジ;換気)
要約
【課題】十分な耐久性を有している暖房装置を提供する。
【解決手段】暖房装置1は、ハウジング2と、センサ部16と、ヒータ部6と、を備えている。センサ部16は、検知可能区域(照射範囲R)への人の進入を検知する。ヒータ部6は、炭素質発熱体132を有している。炭素質発熱体132は、センサ部16による検知に基づいて発熱する。ハウジング2は、ハウジング本体20と、ケーシング34と、を有している。ハウジング本体20内には、炭素質発熱体132が配置されている。ケーシング34は、第1ケーシング板部81と、第2ケーシング板部82と、を有している。第1ケーシング板部81は、センサ部16から見てヒータ部6から遠い側において、センサ部16を保持している。第1ケーシング板部81は、センサ部16から見てヒータ部6から近い側において、第2ケーシング板部82を保持している。
【選択図】図5
特許請求の範囲
【請求項1】
ハウジングと、センサ部と、ヒータ部と、を備えており、
前記センサ部は、検知可能区域への人の進入を検知し、
前記ヒータ部は、発熱体を有しており、
前記発熱体は、前記センサ部による検知に基づいて発熱し、
前記ハウジングは、ハウジング本体と、ケーシングと、を有しており、
前記ハウジング本体内には、前記発熱体が配置されており、
前記ケーシングは、第1ケーシング板部と、第2ケーシング板部と、を有しており、
前記第1ケーシング板部は、前記センサ部から見て前記ヒータ部から遠い側において、前記センサ部を保持していると共に、前記センサ部から見て前記ヒータ部から近い側において、前記第2ケーシング板部を保持している
ことを特徴とする暖房装置。
続きを表示(約 820 文字)
【請求項2】
前記第1ケーシング板部と前記第2ケーシング板部との間に、隙間が形成されている
ことを特徴とする請求項1に記載の暖房装置。
【請求項3】
更に、前記ヒータ部への電力の供給を制御する制御部を備えており、
前記制御部は、前記第2ケーシング板部に保持されている
ことを特徴とする請求項1に記載の暖房装置。
【請求項4】
更に、前記ヒータ部に電力を供給する電力供給部を備えており、
前記電力供給部は、前記第2ケーシング板部に保持されている
ことを特徴とする請求項1に記載の暖房装置。
【請求項5】
更に、仕切部を有しており、
前記仕切部は、前記センサ部と前記発熱体の間に配置されている
ことを特徴とする請求項1に記載の暖房装置。
【請求項6】
更に、前記ヒータ部を保持するヒータ保持部を有しており、
前記仕切部は、前記ヒータ保持部と前記センサ部との間に配置されている
ことを特徴とする請求項5に記載の暖房装置。
【請求項7】
更に、反射部を備えており、
前記反射部は、前記ハウジング本体に保持されており、
前記発熱体は、前記反射部の内部に配置されている
ことを特徴とする請求項1に記載の暖房装置。
【請求項8】
前記ヒータ部は、赤外線ヒータを含んでいる
ことを特徴とする請求項1に記載の暖房装置。
【請求項9】
前記発熱体は、炭素質発熱体である
ことを特徴とする請求項1に記載の暖房装置。
【請求項10】
前記発熱体は、板状であり、何れかの表面が前記検知可能区域に向いた状態で保持されている
ことを特徴とする請求項1に記載の暖房装置。
(【請求項11】以降は省略されています)
発明の詳細な説明
【技術分野】
【0001】
本発明は、工場等で使用可能な暖房装置に関する。
続きを表示(約 1,800 文字)
【背景技術】
【0002】
電気暖房装置等の加熱装置の熱源として使用される発熱体ユニットとして、特許第5383741号公報(特許文献1)に記載されたものが知られている。
この発熱体ユニットは、小型で効率が高く、高い指向性と均一な加熱及び立ち上がりの早いものとされており、所定のグラファイトフィルムにて形成された発熱体を有している。
【先行技術文献】
【特許文献】
【0003】
特許第5383741号公報
【発明の概要】
【発明が解決しようとする課題】
【0004】
しかし、上記の文献では、当該発熱体ユニットを用いて電気暖房装置が形成される場合に、上述の特性を有する発熱体ユニットを、電気暖房装置の他の部分に対して、どのように配置するのかについて、開示されていない。
【0005】
そこで、本発明の第1の主な目的は、十分な耐久性を有している暖房装置を提供することである。
又、本発明の第2の主な目的は、適切な指向性及び速効性並びに省エネルギー性を有しつつ、十分な耐久性を有している暖房装置を提供することである。
更に、本発明の第3の主な目的は、十分な耐久性を有しつつ、十分に取り扱い易い暖房装置を提供することである。
【課題を解決するための手段】
【0006】
本明細書は、暖房装置を開示する。この暖房装置は、ハウジングと、センサ部と、ヒータ部と、を備えていても良い。センサ部は、検知可能区域への人の進入を検知しても良い。ヒータ部は、発熱体を有していても良い。発熱体は、センサ部による検知に基づいて発熱しても良い。ハウジングは、ハウジング本体と、ケーシングと、を有していても良い。ハウジング本体内には、発熱体が配置されていても良い。ケーシングは、第1ケーシング板部と、第2ケーシング板部と、を有していても良い。第1ケーシング板部は、センサ部から見てヒータ部から遠い側において、センサ部を保持していると共に、センサ部から見てヒータ部から近い側において、第2ケーシング板部を保持していても良い。
【発明の効果】
【0007】
本発明の第1の主な効果は、十分な耐久性を有している暖房装置が提供されることである。
又、本発明の第2の主な効果は、適切な指向性及び速効性並びに省エネルギー性を有しつつ、十分な耐久性を有している暖房装置が提供されることである。
更に、本発明の第3の主な効果は、十分な耐久性を有しつつ、十分に取り扱い易い暖房装置が提供されることである。
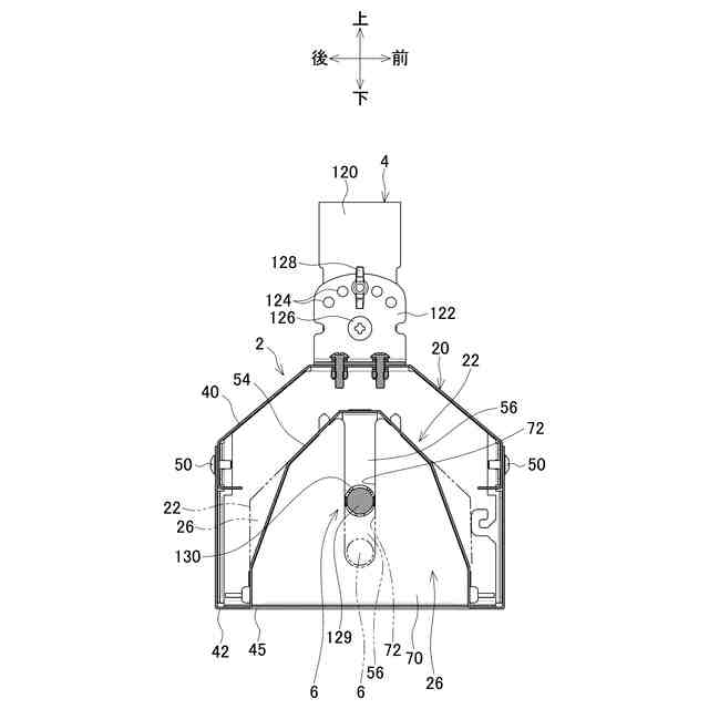
【図面の簡単な説明】
【0008】
本発明に係る暖房装置における後面、右面及び上面側の斜視図である。
本発明に係る暖房装置における前面、左面及び下面側の斜視図である。
図1の暖房装置の後面図である。
図1の暖房装置の下面図である。
図4のB-B線断面図である。
図3のA-A線断面図である。
図1の暖房装置における、第1ヒータ保持部と、ケーシング並びに制御部、電源供給部、コネクタ及びセンサ部と、仕切部とに係る、左面、上面及び前面側の分解斜視図である。
図1の暖房装置における、第1ヒータ保持部と、ケーシング並びに制御部、電源供給部、コネクタ及びセンサ部と、仕切部とに係る、右面、下面及び後面側の分解斜視図である。
各種の測定箇所に係る温度変化を示すグラフである。
【発明を実施するための形態】
【0009】
以下、本発明に係る実施の形態が、その変更例と共に、適宜図面に基づいて説明される。
尚、当該形態は、下記の形態及び変更例に限定されない。
【0010】
図1は、本発明に係る暖房装置1における後面、右面及び上面側の斜視図である。図2は、暖房装置1における前面、左面及び下面側の斜視図である。図3は、暖房装置1の後面図である。図4は、暖房装置1の下面図である。図5は、図4のB-B線断面図である。図6は、図3のA-A線断面図である。
暖房装置1は、ここでは、工場に設置される。暖房装置1は、工場内の所定の場所における工員を暖房対象として、スポット暖房を行う。尚、暖房装置1は、工場以外に設置されても良く、工員以外を暖房対象としても良い。
(【0011】以降は省略されています)
この特許をJ-PlatPat(特許庁公式サイト)で参照する
関連特許
メトロ電気工業株式会社
暖房装置
1か月前
個人
エアコン室内機
4か月前
株式会社コロナ
空調装置
1か月前
株式会社コロナ
空調装置
2か月前
株式会社コロナ
空調装置
11日前
株式会社コロナ
空調装置
21日前
株式会社コロナ
加湿装置
1か月前
株式会社コロナ
空調装置
3か月前
株式会社コロナ
給湯装置
2か月前
個人
太陽光パネル傾斜装置
6日前
株式会社コロナ
空気調和機
1か月前
株式会社コロナ
空気調和機
2か月前
個人
住宅換気空調システム
2か月前
株式会社コロナ
風呂給湯機
1か月前
株式会社パロマ
給湯器
3か月前
個人
シンプルクーラー
4日前
ホーコス株式会社
排気フード
2か月前
株式会社コロナ
直圧式給湯機
1か月前
株式会社コロナ
直圧式給湯機
3か月前
株式会社コロナ
貯湯式給湯機
25日前
株式会社コロナ
暖房システム
21日前
株式会社コロナ
貯湯式給湯機
17日前
ホーコス株式会社
換気扇取付枠
1か月前
株式会社コロナ
輻射式冷房装置
1か月前
株式会社コロナ
貯湯式給湯装置
4か月前
三菱電機株式会社
換気扇
5日前
三菱電機株式会社
換気扇
5日前
三菱電機株式会社
換気扇
5日前
株式会社コロナ
貯湯式給湯装置
3か月前
株式会社パロマ
給湯暖房機
3か月前
株式会社パロマ
給湯暖房機
3か月前
株式会社パロマ
給湯暖房機
3か月前
株式会社ノーリツ
給湯装置
3か月前
株式会社パロマ
給湯暖房機
3か月前
株式会社ツインバード
加熱調理器
1か月前
株式会社ノーリツ
温水装置
3か月前
続きを見る
他の特許を見る