TOP
|
特許
|
意匠
|
商標
特許ウォッチ
Twitter
他の特許を見る
10個以上の画像は省略されています。
公開番号
2025132613
公報種別
公開特許公報(A)
公開日
2025-09-10
出願番号
2024030288
出願日
2024-02-29
発明の名称
モータ
出願人
株式会社ミツバ
代理人
弁理士法人武和国際特許事務所
主分類
H02K
3/50 20060101AFI20250903BHJP(電力の発電,変換,配電)
要約
【課題】巻線を容易に仮保持させて、作業の効率を向上させることが可能なモータを提供する。
【解決手段】モータは、コイルから引き出された巻線が圧着されるスリットを有するターミナルと、ターミナルを保持するターミナルホルダとを備える。ターミナルホルダは、巻線の延設方向に直交する幅方向に所定の間隔を隔てて配置された第1側壁及び第2側壁の間に形成され、巻線を収容する収容溝と、延設方向における第1側壁の一部に設けられて、収容溝の幅方向の寸法を減じるリブと、リブから延設方向にズレた位置で第2側壁側に設けられて、収容溝に収容された前記巻線を係止する係止突起とを備える。
【選択図】図12
特許請求の範囲
【請求項1】
コイルから引き出された巻線が圧着されるスリットを有するターミナルと、
前記ターミナルを保持するターミナルホルダとを備え、
前記ターミナルホルダは、
前記巻線の延設方向に直交する幅方向に所定の間隔を隔てて配置された第1側壁及び第2側壁の間に形成され、前記巻線を収容する収容溝と、
前記延設方向における前記第1側壁の一部に設けられて、前記収容溝の幅方向の寸法を減じるリブと、
前記リブから前記延設方向にズレた位置で前記第2側壁側に設けられて、前記収容溝に収容された前記巻線を係止する係止突起とを備えることを特徴とするモータ。
続きを表示(約 490 文字)
【請求項2】
前記幅方向において、前記リブと、前記第2側壁との間隔は、前記巻線の線径より大きいことを特徴とする請求項1に記載のモータ。
【請求項3】
前記幅方向において、前記係止突起と、前記第1側壁との間隔は、前記巻線の線径より大きいことを特徴とする請求項2に記載のモータ。
【請求項4】
前記幅方向において、前記リブの先端と前記係止突起の先端との間隔が、前記巻線の線径より小さいことを特徴とする請求項3に記載のモータ。
【請求項5】
前記リブは、前記延設方向及び前記幅方向に直交する前記収容溝の深さ方向において、前記係止突起よりも前記収容溝の底面側に位置することを特徴とする請求項1に記載のモータ。
【請求項6】
前記リブは、前記収容溝に収容された前記巻線を前記係止突起の側にガイドする傾斜面を有することを特徴とする請求項1に記載のモータ。
【請求項7】
前記ターミナルホルダは、複数の前記収容溝を備え、
複数の前記収容溝は、前記幅方向に対して並列に配置される請求項1に記載のモータ。
発明の詳細な説明
【技術分野】
【0001】
本発明は、モータに関する。
続きを表示(約 1,600 文字)
【背景技術】
【0002】
近年、持続可能な開発目標(Sustainable Development Goals、持続可能な開発のための2030アジェンダ、平成27(2015)年9月25日国連サミット採択、以下「SDGs」という)の推進に向けた取り組みが行われている。それに伴い、持続可能な生産消費形態の確保などのため、廃棄物や不良品の削減などを目指す技術が知られている。
【0003】
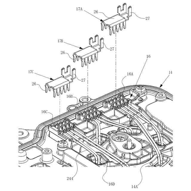
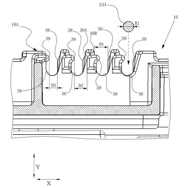
従来、ステータのコイルから引き出された巻線のリード部を基板に接続するため、リード部が圧着されるターミナルと、ターミナルを保持するターミナルホルダとを備えるモータが知られている。例えば、特許文献1に記載のモータでは、ターミナルは、リード部が圧着される複数のスリットを有し、ターミナルホルダは、リード部をガイドする複数のガイド溝(収容溝)が形成されており、複数のガイド溝にリード部をそれぞれ仮保持した状態で、ターミナルのスリットにリード部を圧着させ、且つターミナルをターミナルホルダに保持させる。
【0004】
ターミナルホルダのガイド溝には、リード部を仮保持するため、リブが両側又は片側に形成されている。リード部は、リブとリブとの間、又はガイド溝の側面とリブとの間に圧入されることによりガイド溝に仮保持される。
【先行技術文献】
【特許文献】
【0005】
国際公開第2022/102440号
【発明の概要】
【発明が解決しようとする課題】
【0006】
しかしながら、上記特許文献1記載のモータでは、複数のガイド溝にリード部を仮保持させる際、リード部に圧入荷重を掛けて、ガイド溝に挿入しなければならない。巻線は、巻線機によって張力を掛けながらステータコアに巻装されてコイルに形成されるため、コイルに形成される際に掛けられる張力に応じて線径が変わる。これにより、巻線のリード部は、線径に応じて圧入するために必要な荷重、及び押し込み量も変わることになる。ガイド溝へのリード部の圧入は、フォーミングマシン等の機械により自動で行うことが好ましいが、機械による圧入荷重、又は押し込み量が不足した場合、作業者の手による作業が必要になり、効率が良くない。
【0007】
また、1つのターミナルホルダに対して複数のリード部を同時に仮保持させようとした場合、リード部の圧入によりガイド溝が変形することがある。リード部が圧入され、ガイド溝の幅が拡大した場合、隣接するガイド溝は幅が狭くなる。このため、機械によるガイド部へのリード部の挿入が困難になり、作業のやり直しが必要になる場合もある。
【0008】
本発明は、巻線を容易に仮保持させて、作業の効率を向上させることが可能なモータを提供することを目的とする。
【課題を解決するための手段】
【0009】
上記目的を達成するために、本発明のモータは、コイルから引き出された巻線が圧着されるスリットを有するターミナルと、ターミナルを保持するターミナルホルダとを備え、ターミナルホルダは、巻線の延設方向に直交する幅方向に所定の間隔を隔てて配置された第1側壁及び第2側壁の間に形成され、巻線を収容する収容溝と、延設方向における第1側壁の一部に設けられて、収容溝の幅方向の寸法を減じるリブと、リブから延設方向にズレた位置で第2側壁側に設けられて、収容溝に収容された前記巻線を係止する係止突起とを備えることを特徴とする。
【発明の効果】
【0010】
本発明によれば、リード部を容易に仮保持させて、作業の効率及び歩留まり率を向上させることが可能になる。
【図面の簡単な説明】
(【0011】以降は省略されています)
この特許をJ-PlatPat(特許庁公式サイト)で参照する
関連特許
株式会社ミツバ
回転電機
2日前
株式会社ミツバ
回転電機
9日前
株式会社ミツバ
巻線装置
23日前
株式会社ミツバ
ワイパ装置
16日前
株式会社ミツバ
モータ装置
10日前
株式会社ミツバ
ワイパ装置
16日前
株式会社ミツバ
ワイパブレード
18日前
株式会社ミツバ
ワイパブレード
18日前
株式会社ミツバ
ワイパブレード
18日前
株式会社ミツバ
モータ制御装置
16日前
株式会社ミツバ
モータ制御装置
16日前
株式会社ミツバ
非容積型ポンプ
1か月前
株式会社ミツバ
ブラシレスモータ
11日前
株式会社ミツバ
モータ及びファン装置
10日前
株式会社ミツバ
巻線装置、及び、巻線方法
23日前
株式会社ミツバ
巻線装置、及び、巻線方法
23日前
株式会社ミツバ
モータシステム及び電動車両
10日前
株式会社ミツバ
モータ装置およびロータの製造方法
10日前
株式会社ミツバ
モータ装置、ワイパー装置、及びモータ制御方法
5日前
株式会社ミツバ
モータ装置、ワイパー装置、及びモータ制御方法
10日前
個人
単極モータ
5日前
株式会社アイシン
ロータ
5日前
株式会社アイシン
ロータ
9日前
西部電機株式会社
充電装置
12日前
日本精機株式会社
サージ保護回路
12日前
西部電機株式会社
充電装置
12日前
トヨタ自動車株式会社
固定子
10日前
トヨタ自動車株式会社
回転子
16日前
トヨタ自動車株式会社
製造装置
10日前
株式会社デンソー
回転機
3日前
個人
連続ガウス加速器形磁力増幅装置
12日前
株式会社ダイヘン
充電装置
9日前
株式会社ダイヘン
充電装置
9日前
株式会社ダイヘン
充電装置
9日前
東京瓦斯株式会社
通信装置
11日前
株式会社アイシン
ステータ
9日前
続きを見る
他の特許を見る