TOP
|
特許
|
意匠
|
商標
特許ウォッチ
Twitter
他の特許を見る
10個以上の画像は省略されています。
公開番号
2025142983
公報種別
公開特許公報(A)
公開日
2025-10-01
出願番号
2024042641
出願日
2024-03-18
発明の名称
ワイパブレード
出願人
株式会社ミツバ
代理人
弁理士法人筒井国際特許事務所
主分類
B60S
1/46 20060101AFI20250924BHJP(車両一般)
要約
【課題】逆止弁の構造を簡素化してその組立作業性を向上させ、かつウォッシャユニットの小型化を図る。
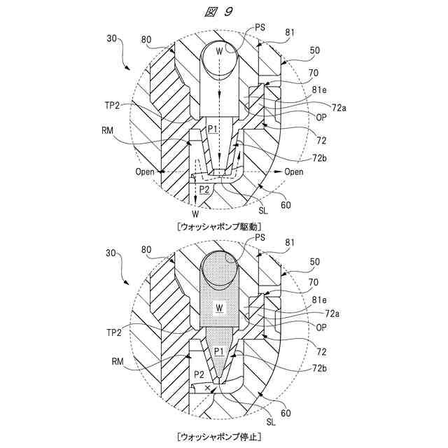
【解決手段】連結部材40の第2長辺壁部42に装着され、ウインドウガラス11の表面に向けてウォッシャ液Wを噴射するウォッシャユニット50を備え、ウォッシャユニット50は、第2長辺壁部42に対して対向配置されるカバー部材60と、第2長辺壁部42とカバー部材60との間に配置されるバルブ部材70と、カバー部材60とバルブ部材70との間に配置され、ウォッシャ液Wが流通する流路と、を有し、バルブ部材70は、流路の上流側に配置され、かつ弾性変形可能な中空の逆止弁72を備え、逆止弁72は、スリットSLを有し、スリットSLは、逆止弁72の内部圧力の上昇時に逆止弁72の復元力に抗して開かれて、逆止弁72の内部圧力の低下時に逆止弁72の復元力により閉じられる。
【選択図】図4
特許請求の範囲
【請求項1】
駆動軸により揺動されるワイパアームに装着され、払拭面を払拭するワイパブレードであって、
前記ワイパアームに回動自在に装着される連結部材と、
前記連結部材に装着され、前記払拭面に摺接されるブレードラバーと、
前記ブレードラバーの払拭方向において、前記連結部材の少なくとも一方側の側壁部に装着され、前記払拭面に向けて洗浄液を噴射するウォッシャユニットと、
を備え、
前記ウォッシャユニットは、
前記側壁部に対して対向配置される第1装着部材と、
前記側壁部と前記第1装着部材との間に配置される第2装着部材と、
前記第1装着部材と前記第2装着部材との間に配置され、前記洗浄液が流通する流路と、
を有し、
前記第2装着部材は、前記流路の上流側に配置され、かつ弾性変形可能な中空の逆止弁を備え、
前記逆止弁は、スリットを有し、
前記スリットは、
前記逆止弁の内部圧力の上昇時に前記逆止弁の復元力に抗して開かれて、
前記逆止弁の内部圧力の低下時に前記逆止弁の復元力により閉じられる、
ワイパブレード。
続きを表示(約 430 文字)
【請求項2】
請求項1に記載のワイパブレードにおいて、
前記第2装着部材は、前記側壁部と前記第1装着部材との間に配置され、かつ前記逆止弁が一体に設けられる本体部を備え、
前記逆止弁に設けられる前記スリットは、前記側壁部と前記第1装着部材との間で開閉可能となっており、
前記逆止弁の硬度が、前記本体部の硬度よりも低くなっている、
ワイパブレード。
【請求項3】
請求項1または請求項2に記載のワイパブレードにおいて、
前記スリットは、
前記ブレードラバーの長手方向において互いに対向する一対の第1対向壁と、
前記ブレードラバーの払拭方向において互いに対向する一対の第2対向壁と、
で囲まれて形成されており、
前記ブレードラバーの長手方向に沿う前記第1対向壁の肉厚が、前記ブレードラバーの払拭方向に沿う前記第2対向壁の肉厚よりも厚くなっている、
ワイパブレード。
発明の詳細な説明
【技術分野】
【0001】
本発明は、払拭面を払拭するワイパブレードに関する。
続きを表示(約 1,900 文字)
【背景技術】
【0002】
自動車等の車両には、ウインドウガラスの表面(払拭面)に付着した雨水等を払拭するワイパ装置が搭載されている。ワイパ装置は、払拭面に摺接されるワイパブレードを備え、ワイパブレードは、駆動軸により揺動されるワイパアームの先端部に装着されている。これにより、ワイパモータにより駆動軸を正逆回転させることで、ワイパブレードは払拭面に付着した雨水や埃を払拭する。
【0003】
例えば、特許文献1には、ブレードラバーを把持する一対のセカンダリレバーと、一対のセカンダリレバーを支持するプライマリレバーと、プライマリレバーに装着されるセンターカバー部と、センターカバー部に装着されるウォッシャノズルと、を備えたワイパブレードが記載されている。
【0004】
そして、ウォッシャノズルを形成するノズルボディの内部には、流路を開閉する弁体と、流路を閉じる方向に弁体を押圧するコイルスプリングと、を有する逆止弁が収容されている。弁体は、ウォッシャポンプからの洗浄液の圧送時にコイルスプリングのばね力に抗して移動されて流路を開き、洗浄液の供給が停止された時にコイルスプリングのばね力により移動されて流路を閉じる。
【先行技術文献】
【特許文献】
【0005】
特開2007-030565号公報
【発明の概要】
【発明が解決しようとする課題】
【0006】
特許文献1に記載された技術では、弁体およびコイルスプリングからなる逆止弁を、ノズルボディの内部に動作可能に収容する必要があった。したがって、ウォッシャノズルの構造が複雑となりその組み立て作業が難しくなる上に、ウォッシャノズルの大型化を招くという問題があった。
【0007】
本発明の目的は、逆止弁の構造を簡素化してその組立作業性を向上させ、かつウォッシャユニットの小型化を図ることが可能なワイパブレードを提供することにある。
【課題を解決するための手段】
【0008】
ワイパブレードの一態様では、駆動軸により揺動されるワイパアームに装着され、払拭面を払拭するワイパブレードであって、前記ワイパアームに回動自在に装着される連結部材と、前記連結部材に装着され、前記払拭面に摺接されるブレードラバーと、前記ブレードラバーの払拭方向において、前記連結部材の少なくとも一方側の側壁部に装着され、前記払拭面に向けて洗浄液を噴射するウォッシャユニットと、を備え、前記ウォッシャユニットは、前記側壁部に対して対向配置される第1装着部材と、前記側壁部と前記第1装着部材との間に配置される第2装着部材と、前記第1装着部材と前記第2装着部材との間に配置され、前記洗浄液が流通する流路と、を有し、前記第2装着部材は、前記流路の上流側に配置され、かつ弾性変形可能な中空の逆止弁を備え、前記逆止弁は、スリットを有し、前記スリットは、前記逆止弁の内部圧力の上昇時に前記逆止弁の復元力に抗して開かれて、前記逆止弁の内部圧力の低下時に前記逆止弁の復元力により閉じられる。
【発明の効果】
【0009】
本発明によれば、逆止弁の構造を簡素化してその組立作業性を向上させ、かつウォッシャユニットの小型化を図ることが可能なワイパブレードを実現することができる。
【図面の簡単な説明】
【0010】
車両に搭載されるワイパ装置の斜視図である。
図1のA矢視図である。
ウォッシャユニットの拡大斜視図である。
ウォッシャユニットの内部を示す断面図である。
連結部材の詳細を示す図である。
カバー部材の内側を示す斜視図である。
バルブ部材の詳細を示す図である。
配管接続部材の詳細を示す斜視図である。
弁本体の動作を示す図4の破線円B部の拡大図である。
ウォッシャユニットの分解斜視図である。
ノズル組立体の組立手順を示す図である。
ノズル組立体をバルブ部材側から見た斜視図である。
ノズル組立体の連結部材への装着手順を示す図である。
ノズル組立体と連結部材との固定部を示す断面図である。
配管接続部材のノズル組立体への組付手順を示す斜視図である。
配管接続部材のノズル組立体への組付手順を示す断面図である。
バルブ部材の変形例を示す斜視図である。
連結部材の往路側および復路側にウォッシャユニットを備えた変形例を示す斜視図である。
【発明を実施するための形態】
(【0011】以降は省略されています)
この特許をJ-PlatPat(特許庁公式サイト)で参照する
関連特許
株式会社ミツバ
回転電機
1か月前
株式会社ミツバ
回転電機
2か月前
株式会社ミツバ
ウォーム
19日前
株式会社ミツバ
モータ装置
4日前
株式会社ミツバ
モータ装置
1か月前
株式会社ミツバ
モータ装置
2か月前
株式会社ミツバ
ワイパ装置
2か月前
株式会社ミツバ
ワイパ装置
2か月前
株式会社ミツバ
モータ制御装置
2か月前
株式会社ミツバ
ワイパブレード
2か月前
株式会社ミツバ
ワイパブレード
2か月前
株式会社ミツバ
ワイパブレード
2か月前
株式会社ミツバ
モータ制御装置
2か月前
株式会社ミツバ
ブラシレスモータ
2か月前
株式会社ミツバ
モータ及びファン装置
2か月前
株式会社ミツバ
モータシステム及び電動車両
2か月前
株式会社ミツバ
モータ装置およびロータの製造方法
2か月前
株式会社ミツバ
モータ装置、ワイパー装置、及びモータ制御方法
2か月前
株式会社ミツバ
モータ装置、ワイパー装置、及びモータ制御方法
1か月前
個人
タイヤレバー
4か月前
個人
前輪キャスター
3か月前
個人
上部一体型自動車
2か月前
個人
ルーフ付きトライク
4か月前
個人
ホイルのボルト締結
5か月前
個人
空間形成装置
1か月前
個人
タイヤ脱落防止構造
3か月前
個人
車両通過構造物
4か月前
日本精機株式会社
表示装置
4か月前
日本精機株式会社
表示装置
4か月前
日本精機株式会社
表示装置
4か月前
日本精機株式会社
表示装置
3か月前
個人
マスタシリンダ
2か月前
日本精機株式会社
照明装置
1か月前
個人
乗合路線バスの客室装置
4か月前
個人
アクセルのソフトウェア
5か月前
個人
常設収納型サンバイザー
1か月前
続きを見る
他の特許を見る