TOP
|
特許
|
意匠
|
商標
特許ウォッチ
Twitter
他の特許を見る
公開番号
2025130479
公報種別
公開特許公報(A)
公開日
2025-09-08
出願番号
2024027669
出願日
2024-02-27
発明の名称
金属溶射皮膜の保護方法および保護構造
出願人
株式会社富士技建
代理人
個人
,
個人
主分類
C23C
4/18 20060101AFI20250901BHJP(金属質材料への被覆;金属質材料による材料への被覆;化学的表面処理;金属質材料の拡散処理;真空蒸着,スパッタリング,イオン注入法,または化学蒸着による被覆一般;金属質材料の防食または鉱皮の抑制一般)
要約
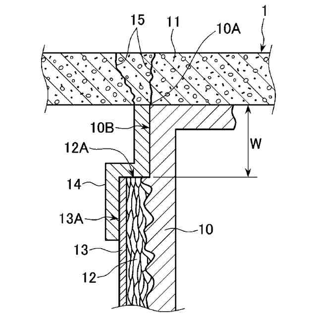
【課題】鋼材上に金属溶射を施工する場合において、鋼材とコンクリートとの接合部の金属溶射皮膜を保護することが可能な金属溶射皮膜の保護方法および保護構造の提供。
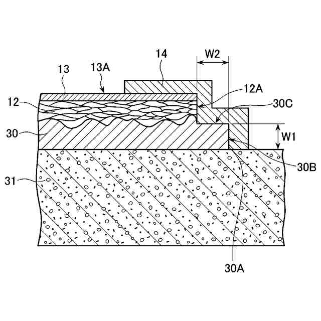
【解決手段】鋼桁10上にコンクリート床版11との接合面から所定幅Wを非溶射部10Bとし、この非溶射部10Bを避けて金属溶射することにより金属溶射皮膜12を形成し、金属溶射皮膜12の表面を封孔処理して封孔処理面13Aを形成し、非溶射部10Bから金属溶射皮膜12の側端部12Aおよび封孔処理面13Aに渡ってフッ素系塗料により塗装し、保護膜14を形成する。
【選択図】図1
特許請求の範囲
【請求項1】
鋼材とコンクリートとの接合部において前記鋼材上に施工される金属溶射皮膜の保護方法であって、
前記鋼材上に金属溶射皮膜を形成するに際し、前記コンクリートとの接合面の端部から所定幅を非溶射部とし、この非溶射部を避けて金属溶射すること、
前記金属溶射皮膜の表面を封孔処理して封孔処理面を形成すること、
前記非溶射部から前記金属溶射皮膜の側端部および前記封孔処理面に渡ってフッ素系塗料による保護膜を形成すること
を含む金属溶射皮膜の保護方法。
続きを表示(約 390 文字)
【請求項2】
前記金属溶射は、プラズマアーク溶射工法によるアルミニウム・マグネシウム合金を用いた溶射である請求項1記載の金属溶射皮膜の保護方法。
【請求項3】
前記封孔処理はフッ素系塗料による請求項1または2に記載の金属溶射皮膜の保護方法。
【請求項4】
鋼材とコンクリートとの接合部において前記鋼材上に施工される金属溶射皮膜の保護構造であって、
前記鋼材上に形成された金属溶射皮膜であり、前記コンクリートとの接合面の端部から所定幅を非溶射部とし、この非溶射部を避けて形成された金属溶射皮膜と、
前記金属溶射皮膜の表面を封孔処理して形成された封孔処理面と、
前記非溶射部から前記金属溶射皮膜の側端部および前記封孔処理した封孔処理面に渡ってフッ素系塗料により形成された保護膜と
を含む金属溶射皮膜の保護構造。
発明の詳細な説明
【技術分野】
【0001】
本発明は、鋼材とコンクリートとの接合部において鋼材上に施工される金属溶射皮膜の保護方法および保護構造に関する。
続きを表示(約 1,900 文字)
【背景技術】
【0002】
金属溶射は高い防食性能を有するため、塗り替え塗装が困難な箇所や厳しい腐食環境にある鋼橋の防食方法として適用されている。特に、プラズマアーク溶射工法によるアルミニウム・マグネシウム合金を用いた溶射は、複合サイクル試験において耐久性に優れるとされており(非特許文献1参照。)、鋼橋桁端部の防食工法として計画的に採用されている。
【0003】
既設鋼橋の桁端部に金属溶射を施工する場合は、鋼桁とコンクリート床版との接合部に金属溶射の施工境界が生じる。非特許文献2には、金属溶射の適用環境についての注意が必要な環境として、コンクリート床版からの漏水はアルカリ性を示すことが多く、金属溶射皮膜の消耗が早くなることがあるので十分な注意が必要であると記載されている。
【先行技術文献】
【非特許文献】
【0004】
東日本高速道路株式会社、中日本高速道路株式会社、西日本高速道路株式会社,設計要領 第二集 橋梁保全編,“3-2-6 金属溶射”,2016年8月
公益社団法人日本道路協会,鋼道路橋防食便覧,“第V編 金属溶射編 2.2.1 適用環境”,2014年3月
【発明の概要】
【発明が解決しようとする課題】
【0005】
そこで、本発明は、鋼材上に金属溶射を施工する場合において、鋼材とコンクリートとの接合部の金属溶射皮膜を保護することが可能な金属溶射皮膜の保護方法および保護構造を提供することを目的とする。
【課題を解決するための手段】
【0006】
本発明の金属溶射皮膜の保護方法は、鋼材とコンクリートとの接合部において鋼材上に施工される金属溶射皮膜の保護方法であって、鋼材上に金属溶射皮膜を形成するに際し、コンクリートとの接合面の端部から所定幅を非溶射部とし、この非溶射部を避けて金属溶射すること、金属溶射皮膜の表面を封孔処理して封孔処理面を形成すること、非溶射部から金属溶射皮膜の側端部および封孔処理面に渡ってフッ素系塗料による保護膜を形成することを含むことを特徴とする。
【0007】
本発明の金属溶射皮膜の保護方法によれば、鋼材上に形成された金属溶射皮膜であり、コンクリートとの接合面の端部から所定幅を非溶射部とし、この非溶射部を避けて形成された金属溶射皮膜と、金属溶射皮膜の表面を封孔処理して形成された封孔処理面と、非溶射部から金属溶射皮膜の側端部および封孔処理面に渡ってフッ素系塗料により形成された保護膜とを含む金属溶射皮膜の保護構造が得られる。
【0008】
この金属溶射皮膜の保護構造では、鋼材とコンクリートとの接合部において鋼材上に、コンクリートとの接合面の端部から所定幅の非溶射部を避けて金属溶射皮膜が形成されており、この金属溶射皮膜の側端部を含めて非溶射部から金属溶射皮膜の表面の封孔処理面まで保護膜により覆われる。そのため、コンクリートと接触することによりアルカリ性となった水が金属溶射皮膜の側端部から金属溶射皮膜内に浸入することが保護膜により阻止され、金属溶射皮膜を保護することが可能となる。
【0009】
金属溶射皮膜は、亜鉛、アルミニウム、亜鉛・アルミニウム合金やアルミニウム・マグネシウム合金などを溶融して鋼材表面に吹き付けることにより形成することができる。特に、本発明に係る金属溶射は、プラズマアーク溶射工法によるアルミニウム・マグネシウム合金を用いた溶射であることが望ましい。プラズマアーク溶射工法によるアルミニウム・マグネシウム合金を用いた溶射は、複合サイクル試験において耐久性に優れていることが確認されている。また、このアルミニウム・マグネシウム合金を用いた溶射により形成される金属溶射皮膜の断面はポーラス状となっているが、本発明の金属溶射皮膜の保護構造では、コンクリート床版からのアルカリ性の漏水がポーラス状の金属溶射皮膜の隙間に浸入することが阻止され、金属溶射皮膜を保護することができる。
【発明の効果】
【0010】
本発明によれば、コンクリートと接触することによりアルカリ性となった水が、鋼材とコンクリートとの接合部において鋼材上に施工される金属溶射皮膜の側端部から金属溶射皮膜内に浸入することが保護膜により阻止され、金属溶射皮膜を保護することができるので、鋼材とコンクリートとの接合部の防食性能を維持させることが可能となる。
【図面の簡単な説明】
(【0011】以降は省略されています)
この特許をJ-PlatPat(特許庁公式サイト)で参照する
関連特許
三洋化成工業株式会社
防食剤
1日前
個人
フッ素樹脂塗装鋼板の保管方法
4か月前
株式会社京都マテリアルズ
めっき部材
2か月前
株式会社カネカ
製膜装置
2か月前
株式会社カネカ
製膜装置
2か月前
トヨタ自動車株式会社
治具
1か月前
株式会社三愛工業所
アルミニウム材
7か月前
株式会社KSマテリアル
防錆組成物
5か月前
エドワーズ株式会社
真空排気システム
2か月前
日本化学産業株式会社
複合めっき皮膜
4か月前
株式会社レゾナック
耐食性部材
2日前
台灣晶技股ふん有限公司
無電解めっき法
3か月前
東京エレクトロン株式会社
成膜方法
3か月前
日東電工株式会社
積層体の製造方法
6か月前
JFEスチール株式会社
鋼部品
4か月前
株式会社カネカ
気化装置及び製膜装置
2か月前
株式会社内村
防食具、防食具の設置方法
3か月前
信越半導体株式会社
真空蒸着方法
7か月前
東京エレクトロン株式会社
基板処理装置
6か月前
住友重機械工業株式会社
成膜装置
5か月前
TOTO株式会社
構造部材
2か月前
株式会社アルバック
マスクユニット
2か月前
住友重機械工業株式会社
成膜装置
6か月前
株式会社アルバック
基板ステージ装置
2か月前
黒崎播磨株式会社
溶射装置
2か月前
フジタ技研株式会社
被覆部材、及び、表面被覆金型
2か月前
株式会社デンソー
接合体
2か月前
日本コーティングセンター株式会社
炭化ホウ素被膜
2か月前
国立大学法人千葉大学
成膜装置及び成膜方法
3か月前
信越化学工業株式会社
炭化金属被覆材料
23日前
ケニックス株式会社
蒸発源装置
3か月前
黒崎播磨株式会社
溶射用ランス
6か月前
株式会社アルバック
成膜装置、および搬送方法
4か月前
川崎重工業株式会社
水素遮蔽膜
4か月前
東京エレクトロン株式会社
成膜方法及び成膜装置
3か月前
株式会社日本テクノ
ガス浸炭装置、浸炭室
1か月前
続きを見る
他の特許を見る