TOP
|
特許
|
意匠
|
商標
特許ウォッチ
Twitter
他の特許を見る
10個以上の画像は省略されています。
公開番号
2025128333
公報種別
公開特許公報(A)
公開日
2025-09-02
出願番号
2025099400,2025504597
出願日
2025-06-13,2024-02-06
発明の名称
帯電方法
出願人
日本国土開発株式会社
代理人
弁理士法人片山特許事務所
主分類
H01G
11/00 20130101AFI20250826BHJP(基本的電気素子)
要約
【課題】土を用いた帯電方法を提供する。
【解決手段】帯電方法は、イオンが含まれた土に電気伝導性物質を混入した伝導部にセパレータを設け、前記電気伝導性物質に正極を挿入した状態で、前記電気伝導性物質を締固めて前記電気伝導性物質と前記正極とを接続し、前記電気伝導性物質に負極を挿入した状態で、前記電気伝導性物質を締固めて前記電気伝導性物質と前記負極とが接続し、前記正極と前記負極との間を印加し、前記正極に陰イオンを導き、前記負極に陽イオンを導いている。
【選択図】図6
特許請求の範囲
【請求項1】
イオンが含まれた土に電気伝導性物質を混入した伝導部にセパレータを設け、
前記電気伝導性物質に正極を挿入した状態で、前記電気伝導性物質を締固めて前記電気伝導性物質と前記正極とを接続し、前記電気伝導性物質に負極を挿入した状態で、前記電気伝導性物質を締固めて前記電気伝導性物質と前記負極とが接続し、
前記正極と前記負極との間を印加し、前記正極に陰イオンを導き、前記負極に陽イオンを導く帯電方法。
続きを表示(約 630 文字)
【請求項2】
前記電気伝導性物質と前記正極との締固めおよび前記電気伝導性物質と前記負極との締固めにより、前記伝導部の内部抵抗を低下させる請求項1記載の帯電方法。
【請求項3】
地面に設けられたスラブと、該スラブの両側面に設けられた布基礎とで形成される空間に前記伝導部を設ける請求項1記載の帯電方法。
【請求項4】
前記伝導部と、前記セパレータと、前記正極と、前記負極とを備えたキャパシタを前記空間に複数配置する請求項3記載の帯電方法。
【請求項5】
前記スラブと前記布基礎とを備えた建物に設けられた太陽電池により前記印加を行う請求項3記載の帯電方法。
【請求項6】
前記太陽電池はペロブスカイト太陽電池である請求項5記載の帯電方法。
【請求項7】
前記スラブと前記布基礎との近傍の防護ネットに設けられたペロブスカイト太陽電池により前記印加を行う請求項3記載の帯電方法。
【請求項8】
前記土は、砂分を有している請求項1から請求項7記載のいずれか一項に帯電方法。
【請求項9】
前記伝導部と、前記セパレータと、前記正極と、前記負極とを備えたキャパシタの上面を蓋により覆う請求項3記載の帯電方法。
【請求項10】
前記セパレータの位置に応じて前記蓋に開口を設ける請求項9記載の帯電方法。
(【請求項11】以降は省略されています)
発明の詳細な説明
【技術分野】
【0001】
本発明は、電気を蓄えることができる帯電方法に関する。
続きを表示(約 1,600 文字)
【背景技術】
【0002】
近年、電気伝導性を有したナノポーラスのカーボンをセメントに配合し、水の流動性を用いてナノポーラスのカーボンのネットワークを形成し、コンクリートをキャパシタとして用いるという提案がされている(例えば、特許文献1参照)。
【先行技術文献】
【特許文献】
【0003】
米国特許第11512022号公報
【発明の概要】
【発明が解決しようとする課題】
【0004】
しかしながら、特許文献1では、コンクリートに電気を蓄えてキャパシタとするという提案に留まっており、他の応用や、実際に使用する際の安全対策については提案されていなかった。
【0005】
そこで、本発明では、土を用いた帯電方法を提供することを目的とする。
【課題を解決するための手段】
【0006】
請求項1記載の帯電方法は、イオンが含まれた土に電気伝導性物質を混入した伝導部にセパレータを設け、前記電気伝導性物質に正極を挿入した状態で、前記電気伝導性物質を締固めて前記電気伝導性物質と前記正極とを接続し、前記電気伝導性物質に負極を挿入した状態で、前記電気伝導性物質を締固めて前記電気伝導性物質と前記負極とが接続し、前記正極と前記負極との間を印加し、前記正極に陰イオンを導き、前記負極に陽イオンを導いている。
【発明の効果】
【0007】
請求項1記載の帯電方法によれば、電気伝導性物質が混入された土を用いて電気を蓄えることができる。
【図面の簡単な説明】
【0008】
ガラス容器に土を入れ、この土に2枚の銅板を挿した状態を示す断面図である。
ガラス容器に土とカーボンブラックとの混合物を入れ、この混合物に2枚の銅板を挿した状態を示す断面図である。
充電時のキャパシタの様子を示す概要図である。
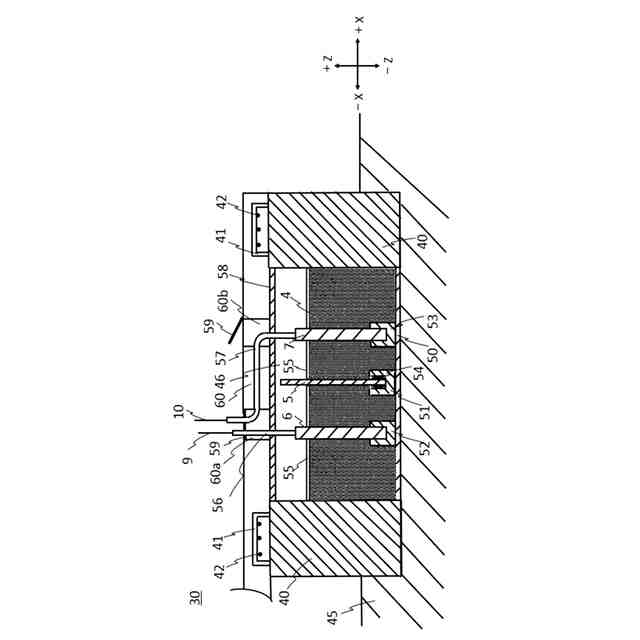
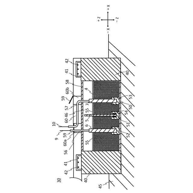
布基礎にキャパシタの構成の一部であるセパレータと正極と負極とを配置した様子を示す図である。
土間部に混合物が埋め戻された様子を示す部分断面図である。
締固め後の基礎構造物の様子を示す図である。
基礎構造物の近傍に仮設足場および防護ネットを設けた様子を示す図である。
ペロブスカイト太陽電池を備えた防護ネットを示す概要図である。
図8の矢視A-Aの断面図である。
第1実施形態のキャパシタの充電および放電を制御するための制御装置のブロック図である。
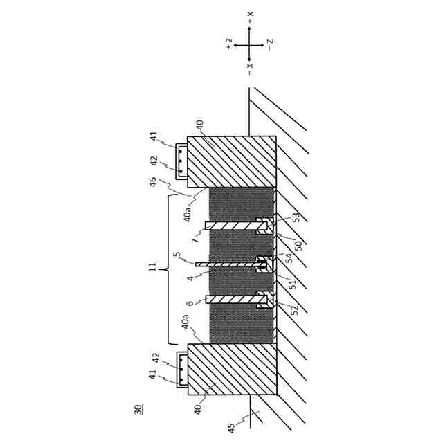
第2実施形態の布基礎にキャパシタの構成の一部であるセパレータと正極と負極とを配置した様子を示す図である。
【発明を実施するための形態】
【0009】
(第1実施形態)
以下、第1実施形態について、図1~図10に基づいて詳細に説明する。本第1実施形態は、土に電気伝導性物質を混ぜることにより、伝導性の土を形成し、この伝導性のある土を用いて後述のキャパシタ11を提供することである。なお、本第1実施形態において、電気伝導性物質とは、電子を移動させる電子伝導性と、イオンを移動させるイオン伝導性とを有した物質である。本第1実施形態では、電子伝導性の物質としてカーボンブラックと備長炭との組み合わせを採用し、イオン伝導性物質としては水分を含んだ土2を採用しているがこれに限定されるものではない。
【0010】
(土の絶縁性を確認する予備実験)
図1は、ガラス容器1に土2を入れ、この土2に2枚の銅板3を挿した状態を示す断面図である。土2は、茨城県つくば市にて採取したものであり、目開きが4.75mmのふるいにかけた後にガラス容器1に入れられたものである。
(【0011】以降は省略されています)
この特許をJ-PlatPat(特許庁公式サイト)で参照する
関連特許
日本国土開発株式会社
締固め方法及び埋設管の布設方法
3日前
個人
フレキシブル電気化学素子
2日前
日本発條株式会社
積層体
13日前
個人
防雪防塵カバー
13日前
ローム株式会社
半導体装置
11日前
ローム株式会社
半導体装置
11日前
ローム株式会社
半導体装置
4日前
ローム株式会社
半導体装置
11日前
ローム株式会社
半導体装置
9日前
株式会社ユーシン
操作装置
2日前
オムロン株式会社
電磁継電器
3日前
株式会社GSユアサ
蓄電設備
2日前
株式会社GSユアサ
蓄電装置
13日前
株式会社GSユアサ
蓄電設備
2日前
株式会社GSユアサ
蓄電装置
9日前
太陽誘電株式会社
コイル部品
2日前
株式会社ホロン
冷陰極電子源
9日前
個人
半導体パッケージ用ガラス基板
12日前
太陽誘電株式会社
全固体電池
9日前
TDK株式会社
電子部品
9日前
トヨタ自動車株式会社
二次電池
13日前
日本特殊陶業株式会社
保持装置
11日前
ローム株式会社
電子装置
13日前
日本特殊陶業株式会社
保持装置
9日前
トヨタ自動車株式会社
蓄電装置
2日前
日本特殊陶業株式会社
保持装置
13日前
日本特殊陶業株式会社
保持装置
9日前
トヨタ自動車株式会社
バッテリ
3日前
サクサ株式会社
電池の固定構造
2日前
日東電工株式会社
積層体
3日前
ノリタケ株式会社
熱伝導シート
2日前
住友電装株式会社
コネクタ
13日前
ローム株式会社
半導体装置
13日前
日本特殊陶業株式会社
電極
9日前
株式会社デンソー
電子装置
13日前
株式会社カネカ
正極活物質
13日前
続きを見る
他の特許を見る