TOP
|
特許
|
意匠
|
商標
特許ウォッチ
Twitter
他の特許を見る
10個以上の画像は省略されています。
公開番号
2025150629
公報種別
公開特許公報(A)
公開日
2025-10-09
出願番号
2024051621
出願日
2024-03-27
発明の名称
締固め方法及び埋設管の布設方法
出願人
日本国土開発株式会社
代理人
個人
,
個人
主分類
E02D
3/02 20060101AFI20251002BHJP(水工;基礎;土砂の移送)
要約
【課題】廃棄物層の飛散を抑制しつつ、地盤を締固めする。
【解決手段】締固め方法は、廃棄物が埋められた廃棄物層である地盤の上に盛土層を形成する工程と、前記盛土層の上方から重錘を落下させて前記地盤の締固めを行う際に、前記盛土層により前記廃棄物層の飛散を抑制する工程と、を含む。
【選択図】図3
特許請求の範囲
【請求項1】
廃棄物が埋められた廃棄物層である地盤の上に盛土層を形成する工程と、
前記盛土層の上方から重錘を落下させて前記地盤の締固めを行う際に、前記盛土層により前記廃棄物層の飛散を抑制する工程と、を含む締固め方法。
続きを表示(約 870 文字)
【請求項2】
前記締固めによる前記地盤の沈下量を予測する工程を含み、
前記盛土層の厚さは、予測された前記沈下量以上である、請求項1に記載の締固め方法。
【請求項3】
前記締固めを行う際に、前記重錘を落下させる作業装置の位置を前記作業装置に設けられたセンサにより計測し、計測結果を表示装置に表示する又は計測結果に基づいて前記作業装置の移動を制御する、請求項1に記載の締固め方法。
【請求項4】
前記重錘により前記締固めが行われた箇所の3次元データを取得する工程と、
前記3次元データに基づいて、前記締固めが行われた箇所の形状及び大きさの情報を取得する工程と、を含む請求項1に記載の締固め方法。
【請求項5】
前記締固めが行われた箇所の形状および大きさの情報を取得する工程において、前記締固めが行われた箇所の周辺の前記締固めによる隆起分を除外して、前記締固めが行われた箇所の形状および大きさの情報を取得する、請求項4に記載の締固め方法。
【請求項6】
前記3次元データを取得する工程において、前記地盤の上方を飛行する飛行体に設けられた計測装置、前記重錘を落下させる作業装置に設けられた計測装置により、前記3次元データを取得する、請求項4に記載の締固め方法。
【請求項7】
前記締固めが行われた箇所の形状及び大きさの情報に基づいて、前記地盤の締固めを再度実行するか否かを判断する工程を含む請求項4~6のいずれか一項に記載の締固め方法。
【請求項8】
廃棄物が埋められた廃棄物層である地盤の上に盛土層を形成する工程と、
前記盛土層の上方から重錘を落下させて前記地盤を沈下させる作業を埋設管の布設ルートに沿って繰り返し実行する工程と、
前記沈下させる作業により沈下した箇所の上に形成された盛土層を掘削して、前記埋設管を布設する溝を形成する工程と、
前記溝に前記埋設管を布設する工程と、を含む埋設管の布設方法。
発明の詳細な説明
【技術分野】
【0001】
本発明は、締固め方法及び埋設管の布設方法に関する。
続きを表示(約 1,300 文字)
【背景技術】
【0002】
土木工事や建築工事においては軟弱地盤を改良するために動圧密装置を用いた工法が採用されることがある。動圧密工法は、地上高く吊り上げられた後に自由落下する重錘(ハンマー)の巨大な瞬発エネルギと衝撃力とを利用して地盤を締め固めるというものである。この締固めは、地盤を突き固めるところからタンピング作業とも呼ばれる。また、巨大穴をもつ埋立地(例えば廃棄物処分場など)では、固形廃棄物を減容(容積減少)してその収容率を高めることが行われている。かかる減容においてもタンピング作業による廃棄物の締め固めが有効な手段になる。
【0003】
廃棄物の埋め立てが終了した最終処分場跡地には、道路や埋設管等のインフラ施設整備工事を行うことがある。この工事にあたっては、インフラ施設建設に要求される地盤の強度、支持力及び沈下等に対する安定性を満足する必要があるとともに、廃棄物の処理及び清掃に関する法律等(例えば非特許文献1)で規定される要件を満足する必要がある。
【先行技術文献】
【非特許文献】
【0004】
環境省,“最終処分場跡地形質変更に係る施行ガイドライン”,インターネット<URL:https://www.env.go.jp/content/900534309.pdf>
【発明の概要】
【発明が解決しようとする課題】
【0005】
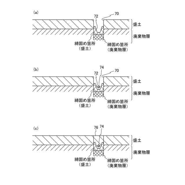
最終処分場跡地の地盤の支持力を向上させるために、動圧密装置を用いて地盤の締固めを行うことが考えられる。しかしながら、動圧密装置を用いて締固めを行う場合、重錘を自由落下させた箇所に打撃孔が形成されるため、打撃孔の壁部分において廃棄物が露出し、廃棄物が飛散する可能性がある。
【0006】
1つの側面では、本発明は、廃棄物層の飛散を抑制しつつ、地盤を締固めすることが可能な締固め方法を提供することを目的とする。
【0007】
また、廃棄物層の飛散を抑制しつつ、埋設管を布設することが可能な埋設管の布設方法を提供することを目的とする。
【課題を解決するための手段】
【0008】
本明細書に記載の締固め方法は、廃棄物が埋められた廃棄物層である地盤の上に盛土層を形成する工程と、前記盛土層の上方から重錘を落下させて前記地盤の締固めを行う際に、前記盛土層により前記廃棄物層の飛散を抑制する工程と、を含む。
【0009】
本明細書に記載の埋設管の布設方法は、廃棄物が埋められた廃棄物層である地盤の上に盛土層を形成する工程と、前記盛土層の上方から重錘を落下させて前記地盤を沈下させる作業を埋設管の布設ルートに沿って繰り返し実行する工程と、前記沈下させる作業により沈下した箇所の上に形成された盛土層を掘削して、前記埋設管を布設する溝を形成する工程と、前記溝に前記埋設管を布設する工程と、を含む。
【発明の効果】
【0010】
本明細書に記載の締固め方法によれば、廃棄物層の飛散を抑制しつつ、地盤を締固めすることができる。
(【0011】以降は省略されています)
この特許をJ-PlatPat(特許庁公式サイト)で参照する
関連特許
日本国土開発株式会社
層状複水酸化物の製造装置
11日前
日本国土開発株式会社
締固め方法及び埋設管の布設方法
1日前
日本国土開発株式会社
帯電方法
1か月前
個人
鋼管
22日前
FKS株式会社
擁壁
11日前
鈴健興業株式会社
敷板部材
7日前
株式会社クボタ
作業車
9日前
株式会社奥村組
ケーソン工法
14日前
株式会社クボタ
作業車
9日前
株式会社ネクステリア
平板基礎
7日前
個人
擁壁用ブロックおよび擁壁
8日前
株式会社大林組
建物の構造
8日前
株式会社奥村組
ケーソン刃口金物
14日前
株式会社大林組
袋体付き排水パイプ
21日前
株式会社熊谷組
地盤改良方法
3日前
株式会社大林組
袋体付き排水パイプ
21日前
株式会社熊谷組
密度計測方法
9日前
株式会社熊谷組
山留壁用親杭
今日
日立建機株式会社
作業機械
今日
日立建機株式会社
建設機械
1日前
日立建機株式会社
作業機械
11日前
日立建機株式会社
建設機械
7日前
大和ハウス工業株式会社
杭抜き先端具
15日前
日立建機株式会社
作業機械
今日
日立建機株式会社
作業機械
1日前
ヤマト発動機株式会社
浮遊型消波装置
11日前
日立建機株式会社
建設機械
1日前
日立建機株式会社
作業機械
今日
日立建機株式会社
作業機械
29日前
ゼニヤ海洋サービス株式会社
通船ゲート
21日前
カナデビア株式会社
サクション基礎
1日前
ライト工業株式会社
鉄筋保持用治具
1日前
鹿島建設株式会社
接続方法および接続構造
21日前
JFEスチール株式会社
鋼管矢板の継手構造
23日前
JFEスチール株式会社
鋼管矢板の継手構造
23日前
株式会社竹内製作所
作業用車両
今日
続きを見る
他の特許を見る