TOP
|
特許
|
意匠
|
商標
特許ウォッチ
Twitter
他の特許を見る
10個以上の画像は省略されています。
公開番号
2025127672
公報種別
公開特許公報(A)
公開日
2025-09-02
出願番号
2024024512
出願日
2024-02-21
発明の名称
配管材保持具及び配管材の保持構造
出願人
未来工業株式会社
代理人
個人
,
個人
主分類
F16L
3/137 20060101AFI20250826BHJP(機械要素または単位;機械または装置の効果的機能を生じ維持するための一般的手段)
要約
【課題】複数種類の配管材を保持できる配管材保持具及び配管材の保持構造を提供すること。
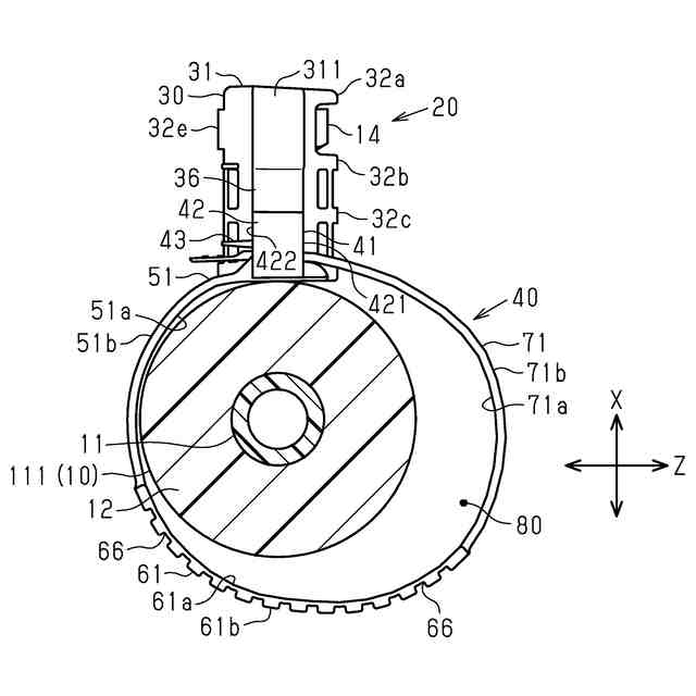
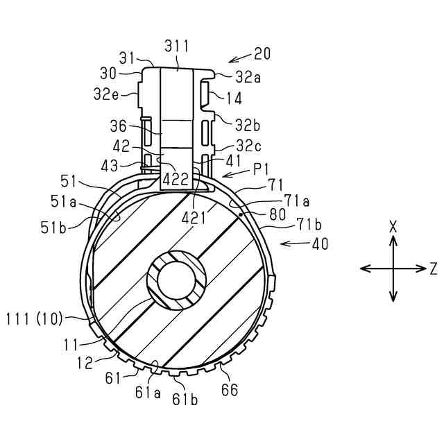
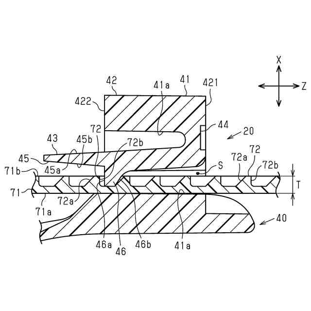
【解決手段】配管材保持具20の保持部40は、配管材10を囲繞する部分の一部を形成するプレート部61を有するとともに、当該プレート部61は、配管材10の長手方向に延在するとともに、前記当該プレート部61の延在方向と直交する幅方向において被覆材12の周方向へ変形可能である。保持部40は、配管材10を囲繞することで当該保持部40の内側に形成される囲繞空間80の大きさを外径の異なる配管材10に合わせて変更可能であり、かつプレート部61の延在方向の全体及び幅方向の少なくとも一部を、囲繞した配管材10の下方に配置可能である。
【選択図】図8
特許請求の範囲
【請求項1】
構造物に固定される固定部と、
前記固定部に一体の保持部であって、厚さ方向に圧縮変形可能な被覆材で管体を覆った配管材を前記被覆材の外周側から囲繞した状態で保持する前記保持部と、を有する配管材保持具であって、
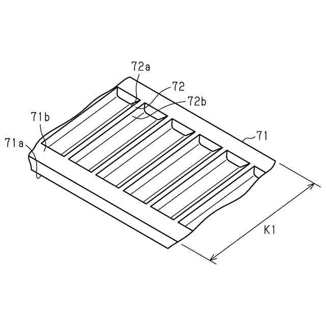
前記保持部は、前記配管材を囲繞する部分の少なくとも一部を形成するプレート部を有するとともに、
当該プレート部は、前記配管材の長手方向に延在するとともに、前記プレート部の延在方向と直交する幅方向において前記被覆材の周方向へ変形可能であり、
前記保持部は、前記配管材を囲繞することで当該保持部の内側に形成される囲繞空間の大きさを外径の異なる前記配管材に合わせて変更可能であり、かつ前記プレート部の前記延在方向の全体及び前記幅方向の少なくとも一部を、囲繞した前記配管材の下方に配置可能であることを特徴とする配管材保持具。
続きを表示(約 2,200 文字)
【請求項2】
構造物に固定される固定部と、
前記固定部に一体の保持部であって、厚さ方向に圧縮変形可能な被覆材で管体を覆った配管材を前記被覆材の外周側から囲繞した状態で保持する前記保持部と、を有する配管材保持具であって、
前記保持部は、前記固定部の軸線の延びる軸方向の一端に一体化されるとともに、前記配管材を囲繞することで当該保持部の内側に囲繞空間を形成可能であり、かつ前記配管材を囲繞する部分の少なくとも一部を形成するプレート部を有し、
前記プレート部は、前記囲繞空間を形成した前記保持部において、前記配管材の長手方向に延在するとともに、前記プレート部の延在方向と直交する幅方向において前記被覆材の周方向へ変形可能であり、
前記プレート部は、前記幅方向の両端に位置する縁部のうち、前記固定部寄りの一方の縁部に第1縁部を有するとともに他方の縁部に第2縁部を有し、
前記保持部は、前記軸線の延長線を、前記第1縁部と前記第2縁部とで挟むように前記囲繞空間を形成した大空間囲繞位置と、前記延長線に対し、前記大空間囲繞位置に比べて、前記第2縁部よりも前記第1縁部が近くなるように前記囲繞空間を形成した小空間囲繞位置との範囲の間で前記囲繞空間を形成可能であり、
前記大空間囲繞位置と前記小空間囲繞位置の範囲内で前記配管材を囲繞することで前記囲繞空間の大きさを外径の異なる前記配管材に合わせて変更可能であり、かつ前記プレート部の前記延在方向の全体及び前記幅方向の少なくとも一部を、囲繞した前記配管材の下方に配置可能であることを特徴とする配管材保持具。
【請求項3】
前記保持部は、
前記プレート部と、
当該プレート部から前記幅方向へ帯状に延出された締結帯部と、
前記固定部に一体化されるとともに、前記締結帯部と前記幅方向に並ぶ位置に配置され、前記保持部によって前記配管材を囲繞したときに前記締結帯部が係合して前記保持部によって前記配管材を囲繞した状態を維持する維持部と、を有し、
前記締結帯部は、前記配管材を囲繞する部分の一部を形成可能であり、
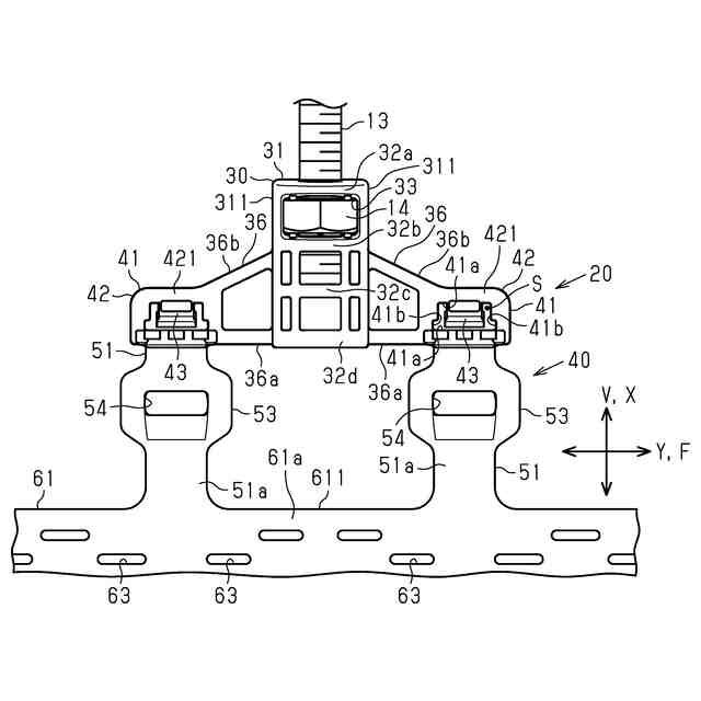
前記維持部は、前記プレート部からの前記締結帯部の延出方向における異なる箇所で前記締結帯部に係合可能であり、前記締結帯部に対する前記維持部の係合箇所を変更することで前記囲繞空間の大きさを変更可能である請求項1又は請求項2に記載の配管材保持具。
【請求項4】
前記保持部は、前記維持部と前記プレート部とを連結する連結帯部を有し、
前記連結帯部は、前記維持部と前記プレート部との間で前記幅方向に延出するとともに、前記配管材を囲繞する部分の一部を形成可能であり、
前記連結帯部には、前記締結帯部における前記維持部との係合箇所よりも前記延出方向の先端側が挿入される導入口が形成されている請求項3に記載の配管材保持具。
【請求項5】
前記締結帯部と、当該締結帯部と係合する前記維持部とからなる組は、前記延在方向における異なる位置に配置されている請求項3に記載の配管材保持具。
【請求項6】
前記維持部は、前記延在方向において前記固定部を挟んだ両側に設けられ、前記維持部と前記組を形成する前記締結帯部は、前記プレート部において前記延在方向に離れた2個所から延出している請求項5に記載の配管材保持具。
【請求項7】
前記プレート部において、前記延在方向に隣り合う前記締結帯部の間に位置する縁部には、前記プレート部の前記延在方向と交差する方向に延びるスリットが形成されている請求項6に記載の配管材保持具。
【請求項8】
厚さ方向に圧縮変形可能な被覆材によって管体を覆った配管材を配管材保持具によって保持した配管材の保持構造であって、
前記配管材保持具は、吊りボルトに固定される固定部と、前記固定部に一体の保持部と、を有し、
前記保持部が、前記配管材を前記被覆材の外周側から囲繞した状態で当該配管材を保持しつつ、下方から前記配管材を支持しており、
前記保持部の有するプレート部であって、前記配管材を囲繞する部分の少なくとも一部を形成する前記プレート部が、前記配管材の長手方向に延在するとともに、当該プレート部の延在方向と直交する幅方向において前記被覆材の周方向へ変形した状態で前記配管材を下方から支持しており、
前記保持部の有する締結帯部が、前記プレート部から前記幅方向へ帯状に延出して前記プレート部とともに前記配管材を囲繞するとともに、
前記プレート部の前記幅方向における前記締結帯部と反対側に位置する維持部が、前記締結帯部の延出方向の途中位置に係合することによって前記保持部によって前記配管材を囲繞する状態を維持しており、
前記保持部において、前記維持部よりも前記プレート部寄りに設けられた導入口には、前記締結帯部における前記維持部との係合箇所よりも前記延出方向の先端側が挿入されるとともに、前記プレート部と前記被覆材との間に挟まれていることを特徴とする配管材の保持構造。
【請求項9】
前記プレート部と前記被覆材との間に挟まれた前記締結帯部の先端側によって、前記被覆材の一部が圧縮変形している請求項8に記載の配管材の保持構造。
発明の詳細な説明
【技術分野】
【0001】
本発明は、配管材保持具及び配管材の保持構造に関する。
続きを表示(約 2,500 文字)
【背景技術】
【0002】
例えば、天井裏において、水平方向に長手が延びるように敷設された配管材は、複数の配管材保持具によって保持された状態で天井から吊り下げられている。配管材保持具の吊下げは、天井に固定された吊りボルトに配管材保持具を固定したり、天井に配管材保持具を直接固定したりして行われる。
【0003】
また、配管材には、断熱材等の低強度の被覆材で管体を覆ったものがある。配管材保持具によって配管材が下方から支持されたとき、被覆材における配管材保持具に支持された箇所には、配管材の自重により、荷重が集中する。この荷重の集中によって被覆材が潰れることを抑制するため、例えば、特許文献1に開示の吊り金具用補助部材のように、配管材を長尺かつアール形状の部材で支持することが提案されている。吊り金具用補助部材は、吊り金具が有するバンド部に支持されるとともに、配管材とバンド部との間に介在させて用いられる。吊り金具用補助部材は、バンド部に比べると、配管材の長手方向に長い長板状であるため、バンド部だけで配管材を支持する場合と比べて、配管材の自重を分散して支承できる。これにより、バンド部だけで配管材を支持した場合と比べると、配管材の被覆部の潰れを抑制できる。
【先行技術文献】
【特許文献】
【0004】
特開2009-133430号公報
【発明の概要】
【発明が解決しようとする課題】
【0005】
ところが、特許文献1に開示の吊り金具用補助部材を用いた場合、配管材保持具では、吊り金具用補助部材の形状に適合した配管材しか保持できない。このため、外径の異なる複数種類の配管材を1つの配管材保持具で保持するには、配管材の外径に適合した吊り金具用補助部材を用意する必要がある。
【課題を解決するための手段】
【0006】
上記問題点を解決するための配管材保持具は、構造物に固定される固定部と、前記固定部に一体の保持部であって、厚さ方向に圧縮変形可能な被覆材で管体を覆った配管材を前記被覆材の外周側から囲繞した状態で保持する前記保持部と、を有する配管材保持具であって、前記保持部は、前記配管材を囲繞する部分の少なくとも一部を形成するプレート部を有するとともに、当該プレート部は、前記配管材の長手方向に延在するとともに、前記プレート部の延在方向と直交する幅方向において前記被覆材の周方向へ変形可能であり、前記保持部は、前記配管材を囲繞することで当該保持部の内側に形成される囲繞空間の大きさを外径の異なる前記配管材に合わせて変更可能であり、かつ前記プレート部の前記延在方向の全体及び前記幅方向の少なくとも一部を、囲繞した前記配管材の下方に配置可能であることを要旨とする。
【0007】
上記問題点を解決するための配管材保持具は、構造物に固定される固定部と、前記固定部に一体の保持部であって、厚さ方向に圧縮変形可能な被覆材で管体を覆った配管材を前記被覆材の外周側から囲繞した状態で保持する前記保持部と、を有する配管材保持具であって、前記保持部は、前記固定部の軸線の延びる軸方向の一端に一体化されるとともに、前記配管材を囲繞することで当該保持部の内側に囲繞空間を形成可能であり、かつ前記配管材を囲繞する部分の少なくとも一部を形成するプレート部を有し、前記プレート部は、前記囲繞空間を形成した前記保持部において、前記配管材の長手方向に延在するとともに、前記プレート部の延在方向と直交する幅方向において前記被覆材の周方向へ変形可能であり、前記プレート部は、前記幅方向の両端に位置する縁部のうち、前記固定部寄りの一方の縁部に第1縁部を有するとともに他方の縁部に第2縁部を有し、前記保持部は、前記軸線の延長線を、前記第1縁部と前記第2縁部とで挟むように前記囲繞空間を形成した大空間囲繞位置と、前記延長線に対し、前記大空間囲繞位置に比べて、前記第2縁部よりも前記第1縁部が近くなるように前記囲繞空間を形成した小空間囲繞位置との範囲の間で前記囲繞空間を形成可能であり、前記大空間囲繞位置と前記小空間囲繞位置の範囲内で前記配管材を囲繞することで前記囲繞空間の大きさを外径の異なる前記配管材に合わせて変更可能であり、かつ前記プレート部の前記延在方向の全体及び前記幅方向の少なくとも一部を、囲繞した前記配管材の下方に配置可能であることを要旨とする。
【0008】
配管材保持具について、前記保持部は、前記プレート部と、当該プレート部から前記幅方向へ帯状に延出された締結帯部と、前記固定部に一体化されるとともに、前記締結帯部と前記幅方向に並ぶ位置に配置され、前記保持部によって前記配管材を囲繞したときに前記締結帯部が係合して前記保持部によって前記配管材を囲繞した状態を維持する維持部と、を有し、前記締結帯部は、前記配管材を囲繞する部分の一部を形成可能であり、前記維持部は、前記プレート部からの前記締結帯部の延出方向における異なる箇所で前記締結帯部に係合可能であり、前記締結帯部に対する前記維持部の係合箇所を変更することで前記囲繞空間の大きさを変更可能であってもよい。
【0009】
配管材保持具について、前記保持部は、前記維持部と前記プレート部とを連結する連結帯部を有し、前記連結帯部は、前記維持部と前記プレート部との間で前記幅方向に延出するとともに、前記配管材を囲繞する部分の一部を形成可能であり、前記連結帯部には、前記締結帯部における前記維持部との係合箇所よりも前記延出方向の先端側が挿入される導入口が形成されていてもよい。
【0010】
配管材保持具について、前記締結帯部と、当該締結帯部と係合する前記維持部とからなる組は、前記延在方向における異なる位置に配置されていてもよい。
配管材保持具について、前記維持部は、前記延在方向において前記固定部を挟んだ両側に設けられ、前記維持部と前記組を形成する前記締結帯部は、前記プレート部において前記延在方向に離れた2個所から延出していてもよい。
(【0011】以降は省略されています)
この特許をJ-PlatPat(特許庁公式サイト)で参照する
関連特許
未来工業株式会社
スリーブ
4日前
未来工業株式会社
保護カバー
2日前
未来工業株式会社
カバーおよび設置装置
10日前
未来工業株式会社
カバーおよび配線器具設置装置
10日前
未来工業株式会社
取着体、及び配線用ポ-ル装置
23日前
未来工業株式会社
ボックスカバー及び配線ボックス装置
8日前
未来工業株式会社
貫通孔用固定台座、及び固定台座装置
1か月前
未来工業株式会社
配線・配管材保持機構、及び保護カバー
9日前
未来工業株式会社
配線ボックス装置及び配線ボックス設置構造
8日前
未来工業株式会社
切断工具
2日前
未来工業株式会社
固定体、設置体の固定構造、設置体固定装置及び固定体装置
10日前
個人
留め具
18日前
個人
鍋虫ねじ
2か月前
個人
紛体用仕切弁
2か月前
個人
回転伝達機構
2か月前
個人
差動歯車用歯形
4か月前
個人
給排気装置
25日前
個人
ジョイント
1か月前
株式会社不二工機
電磁弁
4か月前
個人
地震の揺れ回避装置
3か月前
個人
ナット
1か月前
個人
吐出量監視装置
2か月前
カヤバ株式会社
緩衝器
24日前
カヤバ株式会社
緩衝器
3か月前
カヤバ株式会社
ダンパ
4か月前
カヤバ株式会社
ダンパ
4か月前
カヤバ株式会社
緩衝器
3か月前
柿沼金属精機株式会社
分岐管
2か月前
株式会社不二工機
電動弁
25日前
株式会社三五
ドライブシャフト
10日前
株式会社タカギ
水栓装置
2か月前
株式会社ノーリツ
分配弁
29日前
株式会社ニフコ
クリップ
29日前
株式会社奥村組
制振機構
1か月前
アズビル株式会社
回転弁
1か月前
株式会社奥村組
制振機構
1か月前
続きを見る
他の特許を見る