TOP
|
特許
|
意匠
|
商標
特許ウォッチ
Twitter
他の特許を見る
10個以上の画像は省略されています。
公開番号
2025122474
公報種別
公開特許公報(A)
公開日
2025-08-21
出願番号
2024017993
出願日
2024-02-08
発明の名称
腫瘍治療用医薬組成物
出願人
国立大学法人金沢大学
代理人
弁理士法人平木国際特許事務所
主分類
A61K
31/195 20060101AFI20250814BHJP(医学または獣医学;衛生学)
要約
【課題】腫瘍を治療するための新規の医薬組成物を提供する。
【解決手段】ホモアルギニン又はその薬学的に許容可能な塩若しくは誘導体を、下記a)及び/又はb)と組み合わせて対象の腫瘍を治療及び/又は予防するために使用する。a)抗腫瘍剤の投与;b)放射線照射。
【選択図】なし
特許請求の範囲
【請求項1】
ホモアルギニン又はその薬学的に許容可能な塩若しくは誘導体を含む医薬組成物であって、下記a)及び/又はb)と組み合わせて対象の腫瘍を治療及び/又は予防するために使用される、医薬組成物:
a)抗腫瘍剤の投与;
b)放射線照射。
続きを表示(約 600 文字)
【請求項2】
前記腫瘍が脳腫瘍、白血病又は乳癌である、請求項1に記載の医薬組成物。
【請求項3】
前記腫瘍が脳腫瘍であり、前記脳腫瘍が膠芽腫である、請求項2に記載の医薬組成物。
【請求項4】
前記抗腫瘍剤が、脳腫瘍治療剤である、請求項1に記載の医薬組成物。
【請求項5】
前記抗腫瘍剤が、テモゾロミド、テムシロリムス、デシタビン、PD173074、AMI-1、オルリスタット、及びこれらの薬学的に許容可能な塩若しくは誘導体からなる群より選択される少なくとも1つの薬剤である、請求項4に記載の医薬組成物。
【請求項6】
前記抗腫瘍剤が白血病治療剤である、請求項1に記載の医薬組成物。
【請求項7】
前記抗腫瘍剤が、ダウノルビシンである、請求項6に記載の医薬組成物。
【請求項8】
ホモアルギニン又はその薬学的に許容可能な塩若しくは誘導体を有効成分として含む、1以上の腫瘍治療の効果を増強するために使用される、医薬組成物。
【請求項9】
ホモアルギニン又はその薬学的に許容可能な塩若しくは誘導体と抗腫瘍剤とを含む、医薬組成物。
【請求項10】
対象の腫瘍を治療及び/または予防するために使用される、請求項9に記載の医薬組成物。
(【請求項11】以降は省略されています)
発明の詳細な説明
【技術分野】
【0001】
本発明は、腫瘍を治療及び/又は予防するために使用される医薬組成物に関する。
続きを表示(約 4,400 文字)
【背景技術】
【0002】
悪性腫瘍の化学療法に使用する薬剤として、抗腫瘍薬が多数開発されてきた。抗腫瘍薬は、その作用機序によって、DNA合成阻害薬、DNA複製阻害薬、微小管阻害薬、ホルモン類似薬、生物製剤(サイトカイン)、分子標的薬等に分類され、使用する薬剤及びその投与手法は、腫瘍の発生部位、性質、標的とする分子等、多数の要因を考慮して選択される。腫瘍の発生部位によっては、全身投与では、重大な副作用を生じることなく、治療に有効な濃度の薬剤を腫瘍に到達させることが困難な場合がある。特に脳腫瘍等の中枢神経系の腫瘍については、血液脳関門(Blood Brain Barrier)の影響で、全身投与した薬剤を確実に腫瘍に到達させることが困難となりやすい。血液脳関門の影響を回避するために、多様なドラッグデリバリーシステムが開発されてきた(例えば、非特許文献1)。
【0003】
ホモアルギニンは、リジンから誘導されるカチオン性アミノ酸の1種であり、一酸化窒素(NO)の前駆物質として知られる。また、アルギナーゼを抑制し、これにより、NO合成酵素の主な基質であるL-アルギニンの細胞内濃度を高める働きを有する。ホモアルギニンには、内皮機能増強、血小板凝集抑制、インスリン分泌促進への関連性があることも示唆されている。非特許文献2は、ホモアルギニンが、心血管リスクと関連することが報告されている。
【先行技術文献】
【非特許文献】
【0004】
亀井敬泰、武田真莉子、Drug Delivery System, 28-4, pp. 287-299 (2013)
Maerz, et al., Circulation, Vol. 122, Issue 10, 2010
【発明の概要】
【発明が解決しようとする課題】
【0005】
本発明は、腫瘍を治療及び/又は予防するための新規の医薬組成物を提供することを目的とする。
【課題を解決するための手段】
【0006】
本発明は以下を提供するものである。
(1)ホモアルギニン又はその薬学的に許容可能な塩若しくは誘導体を含む医薬組成物であって、下記a)及び/又はb)と組み合わせて対象の腫瘍を治療及び/又は予防するために使用される、医薬組成物:
a)抗腫瘍剤の投与;
b)放射線照射。
(2)前記腫瘍が脳腫瘍、白血病又は乳癌である、(1)に記載の医薬組成物。
(3)前記腫瘍が脳腫瘍であり、前記脳腫瘍が膠芽腫である、(2)に記載の医薬組成物。
(4)前記抗腫瘍剤が、脳腫瘍治療剤である、(1)~(3)のいずれかに記載の医薬組成物。
(5)前記抗腫瘍剤が、テモゾロミド、テムシロリムス、デシタビン、PD173074、AMI-1、オルリスタット、及びこれらの薬学的に許容可能な塩若しくは誘導体からなる群より選択される少なくとも1つの薬剤である、(4)に記載の医薬組成物。
(6)前記抗腫瘍剤が白血病治療剤である、(1)又は(2)に記載の医薬組成物。
(7)前記抗腫瘍剤が、ダウノルビシンである、(6)に記載の医薬組成物。
(8)ホモアルギニン又はその薬学的に許容可能な塩若しくは誘導体を有効成分として含む、1以上の腫瘍治療の効果を増強するために使用される、医薬組成物。
(9)ホモアルギニン又はその薬学的に許容可能な塩若しくは誘導体と抗腫瘍剤とを含む、医薬組成物。
(10)対象の腫瘍を治療及び/または予防するために使用される、(9)に記載の医薬組成物。
(11)抗腫瘍剤を含む医薬組成物であって、ホモアルギニン又はその薬学的に許容可能な塩若しくは誘導体の投与と組み合わせて対象の腫瘍を治療及び/又は予防するために使用される、医薬組成物。
(12)前記抗腫瘍剤が脳腫瘍治療剤である、(11)に記載の医薬組成物。
(13)前記抗腫瘍剤が、テモゾロミド、テムシロリムス、デシタビン、PD173074、AMI-1、オルリスタット、及びこれらの薬学的に許容可能な塩若しくは誘導体からなる群より選択される少なくとも1つの薬剤である、(12)に記載の医薬組成物。
(14)前記抗腫瘍剤が白血病治療剤である、(11)に記載の医薬組成物。
(15)前記抗腫瘍剤が、ダウノルビシンである、(14)に記載の医薬組成物。
(16)ホモアルギニン又はその薬学的に許容可能な塩若しくは誘導体の投与と、下記a)及び/又はb)とを含む、対象の腫瘍を治療及び/又は予防する方法:
a)抗腫瘍剤の投与;
b)放射線照射。
【発明の効果】
【0007】
本発明により、腫瘍を治療及び/又は予防するための新規の医薬組成物を提供することが可能となる。
【図面の簡単な説明】
【0008】
神経膠芽腫の標準治療を示す概略図である。
ホモアルギニン(hArg)の存在、不存在下で、テモゾロミド(TMZ)が膠芽腫細胞のスフィア形成に与える影響を示すグラフである。スフィア形成数は、同条件のTMZ非添加時のスフィア形成数を1.0とする相対値として算出した。試験はn=3で実施した。図中、「****」及び「***」は、それぞれ、対応のあるスチューデントt検定(片側)において、P<0.0001、P<0.001であったことを示す。
ホモアルギニン(hArg)の存在、不存在下で、テモゾロミド(TMZ)が正常ヒト神経前駆細胞のスフィア形成に与える影響を示すグラフである。スフィア形成数は、1000細胞当たりのスフィア形成数として示す。試験はn=3で実施した。図中、「ns」は、スチューデントt検定において有意差がなかったことを示す。
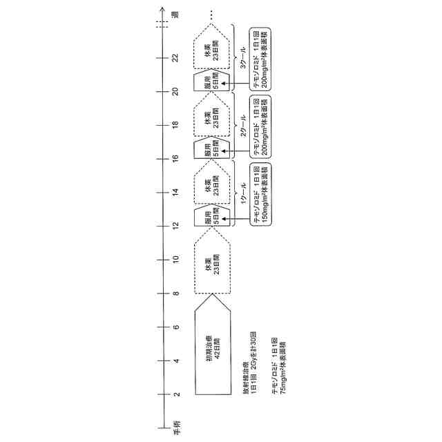
膠芽腫モデルマウスへのホモアルギニン、テモゾロミドの投与スケジュールを示す概略図である。
ホモアルギニン及び/又はテモゾロミドを投与した膠芽腫モデルマウスのKaplan-Meierの生存曲線である。対照として、投与なしの群についても同様に経過観察を行った。各群のマウスの数は、n=5とした。
ホモアルギニン(hArg)の存在、不存在下で、テムシロリムスが膠芽腫細胞のスフィア形成に与える影響を示すグラフである。スフィア形成数は、同条件のテムシロリムス非添加時のスフィア形成数を1.0とする相対値として算出した。試験はn=3で実施した。図中、「**」及び「*」は、それぞれ、対応のあるスチューデントt検定(片側)において、P<0.01、P<0.05であったことを示す。
ホモアルギニン(hArg)の存在、不存在下で、デシタビンが膠芽腫細胞のスフィア形成に与える影響を示すグラフである。スフィア形成数は、同条件のデシタビン非添加時のスフィア形成数を1.0とする相対値として算出した。試験はn=3で実施した。図中、「*」は、対応のあるスチューデントt検定(片側)において、P<0.05であったことを示す。
ホモアルギニン(hArg)の存在、不存在下で、PD173074が膠芽腫細胞のスフィア形成に与える影響を示すグラフである。スフィア形成数は、同条件のPD173074非添加時のスフィア形成数を1.0とする相対値として算出した。試験はn=3で実施した。図中、「***」及び「*」は、それぞれ対応のあるスチューデントt検定(片側)において、P<0.001及びP<0.05であったことを示す。
ホモアルギニン(hArg)の存在、不存在下で、AMI-1が膠芽腫細胞のスフィア形成に与える影響を示すグラフである。スフィア形成数は、同条件のAMI-1非添加時のスフィア形成数を1.0とする相対値として算出した。試験はn=3で実施した。図中、「*」は、対応のあるスチューデントt検定(片側)において、P<0.05であったことを示す。
ホモアルギニン(hArg)の存在、不存在下で、オルリスタットが膠芽腫細胞のスフィア形成に与える影響を示すグラフである。スフィア形成数は、同条件のオルリスタット非添加時のスフィア形成数を1.0とする相対値として算出した。試験はn=3で実施した。図中、「*」は、対応のあるスチューデントt検定(片側)において、P<0.05であったことを示す。
ホモアルギニン(hArg)の存在、不存在下で、ダウノルビシン(DNR)が白血病細胞の増殖に与える影響を示すグラフである。縦軸は、Cell Counting Kit-8で測定した吸光度(OD)を示す。試験はn=3で実施した。
ホモアルギニン(hArg)の存在、不存在下で、X線照射が膠芽腫細胞のスフィア形成に与える影響を示すグラフである。スフィア形成数は、同条件のX線非照射時のスフィア形成数を1.0とする相対値として算出した。試験はn=3で実施した。図中、「****」及び「***」は、それぞれ、対応のあるスチューデントt検定(片側)において、P<0.0001、P<0.001であったことを示す。
【発明を実施するための形態】
【0009】
1 定義
本明細書において、「誘導体」とは、ある化合物の所望の活性をより高くするため、副作用(例えば、細胞毒性等)を低減するため、水溶性を高めるため、あるいは安定性を高めるために、その所望の活性が失われない程度に当該化合物の構造に修飾を加えたものをいう。適用可能な修飾は、特に限定されないが、例えば、PEG修飾、アミノ酸修飾、ペプチド修飾、ビオチン修飾、メチル化等が挙げられる。
【0010】
本明細書において「塩」とは、例えば、アルカリ金属塩、アルカリ土類金属塩等の無機塩基との塩、有機塩基との塩等の塩基性塩があり、ナトリウム、カリウム、カルシウム、マグネシウム、アンモニウム、又はジエタノールアミン、エチレンジアミン等との塩が挙げられる。あるいは、本明細書において「塩」とは、酸性塩等があり、例えば、塩酸、臭化水素酸、硫酸、硝酸、リン酸等の鉱酸の塩のような無機酸との塩;メタンスルホン酸、ベンゼンスルホン酸、パラトルエンスルホン酸、酢酸、プロピオン酸、酒石酸、フマル酸、マレイン酸、リンゴ酸、シュウ酸、コハク酸、クエン酸、安息香酸、マンデル酸、ケイ皮酸、乳酸、グリコール酸、グルクロン酸、アスコルビン酸、ニコチン酸、サリチル酸、グルコン酸、パルミチン酸等の有機酸との塩;又はアスパラギン酸、グルタミン酸などの酸性アミノ酸との塩なども挙げられる。
(【0011】以降は省略されています)
この特許をJ-PlatPat(特許庁公式サイト)で参照する
関連特許
国立大学法人金沢大学
燃料電池システム
2か月前
国立大学法人金沢大学
微粒子の製造装置
3か月前
国立大学法人金沢大学
腫瘍治療用医薬組成物
2か月前
国立大学法人金沢大学
聴覚器官用の状態評価装置
20日前
国立大学法人金沢大学
双性イオンを含む植物成長抑制剤
1か月前
国立大学法人金沢大学
金属錯体及び金属錯体の製造方法
2か月前
国立大学法人金沢大学
パターニングされた酸化物膜の形成方法
26日前
国立大学法人金沢大学
情報処理システム、合成装置、情報処理方法及びプログラム
1か月前
国立大学法人金沢大学
がん関連アミノ酸輸送体ASCTの機能を測定するための検査薬
5日前
国立大学法人金沢大学
点滅領域検出方法、プログラム、点滅領域検出装置、及び自律移動体
2か月前
石川県
姿勢保持具、移乗器具、支持用ベルト、及び、支持ベルトの設置方法
1か月前
国立大学法人金沢大学
薄膜デバイス、薄膜デバイスモジュール、電極付き封止材及び薄膜デバイスの製造方法
2か月前
学校法人東海大学
トランスフェリンレセプターを認識する物質を含む治療剤の用法用量
5日前
国立大学法人金沢大学
CAR-T細胞活性化、造血幹細胞増殖、iPS細胞分化を制御する組成物およびその用途
4か月前
国立大学法人金沢大学
ペロブスカイト膜、薄膜太陽電池、ペロブスカイト膜の製造方法及び薄膜太陽電池の製造方法
2か月前
株式会社荏原製作所
ワークピースの化学機械研磨システムおよび化学機械研磨方法
3か月前
個人
貼付剤
2日前
個人
短下肢装具
3か月前
個人
排尿補助器具
15日前
個人
前腕誘導装置
3か月前
個人
嚥下鍛錬装置
3か月前
個人
ウォート指圧法
13日前
個人
歯の修復用材料
4か月前
個人
胸骨圧迫補助具
1か月前
個人
矯正椅子
5か月前
個人
腰ベルト
5日前
個人
バッグ式オムツ
4か月前
個人
汚れ防止シート
1か月前
個人
アイマスク装置
2か月前
個人
哺乳瓶冷まし容器
3か月前
個人
陣痛緩和具
3か月前
個人
歯の保護用シール
5か月前
個人
湿布連続貼り機。
2か月前
個人
治療用酸化防御装置
1か月前
株式会社コーセー
化粧料
12日前
個人
エア誘導コルセット
1か月前
続きを見る
他の特許を見る