TOP
|
特許
|
意匠
|
商標
特許ウォッチ
Twitter
他の特許を見る
10個以上の画像は省略されています。
公開番号
2025122408
公報種別
公開特許公報(A)
公開日
2025-08-21
出願番号
2024017862
出願日
2024-02-08
発明の名称
移動端末試験装置とその移動端末試験方法
出願人
アンリツ株式会社
代理人
弁理士法人日誠国際特許事務所
主分類
H04B
17/29 20150101AFI20250814BHJP(電気通信技術)
要約
【課題】測定にかかる時間を削減させることができる移動端末試験装置を提供すること。
【解決手段】複数の角度、測定回数、信号設定の変更を行なって、時間経過に対する信号レベルの変化を複数回測定し、測定結果に基づいてbeam selection processの時間を推定し、推定されたbeam selection processの時間からWait timeを求め、対応するDUT100と関連付けてWaittime管理テーブル16bに記憶するWaittime解析制御部18cを備える。
【選択図】図3
特許請求の範囲
【請求項1】
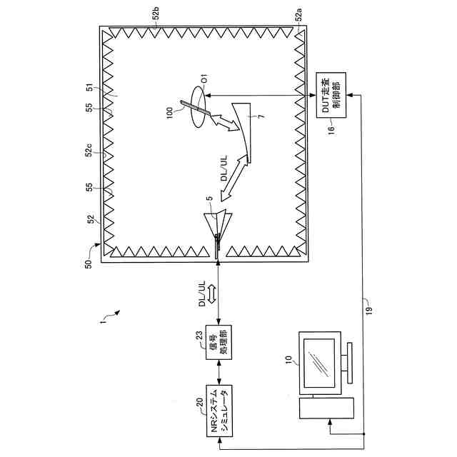
電波暗箱(50)の内部空間(51)内に設けられ、駆動モータ(56f、56g)によってそれぞれ回転駆動可能なアジマス軸及びロール軸を有し、被試験対象を、球座標系の中心を基準点として該球座標系の予め設定された複数の角度標本点を順次向くように回転させるポジショナ(56)と、
前記内部空間内の試験用アンテナ(5)に接続される模擬測定装置(20)と、
前記試験用アンテナから前記被試験対象である移動端末(100)に対して試験信号を送信し、該試験信号を受信した前記移動端末から送信される被測定信号を前記試験用アンテナで受信させ、該受信された被測定信号に基づき前記移動端末に関する特定の測定項目を測定させる測定動作を、前記複数の角度標本点のそれぞれに対応する各測定ポジションで実施させるように前記模擬測定装置を制御する統合制御装置(10)と、
少なくとも前記移動端末の測定ポジションを変更した時の前記被測定信号の信号レベルの時間経過による変化を複数回測定し、測定結果に基づいてbeam selection processの時間を推定し、推定されたbeam selection processの時間からWait timeを求めるWaittime解析制御部(18c)と、を備える移動端末試験装置。
続きを表示(約 860 文字)
【請求項2】
前記Waittime解析制御部は、更に、前記被測定信号を変更した時の前記被測定信号の信号レベルの時間経過による変化を複数回測定し、測定ポジションを変更した時の測定結果と前記被測定信号を変更した時の測定結果に基づいてbeam selection processの時間を推定する請求項1に記載の移動端末試験装置。
【請求項3】
前記Waittime解析制御部は、求められたWait timeを対応する前記移動端末に関連付けて記憶する請求項1または請求項2に記載の移動端末試験装置。
【請求項4】
電波暗箱(50)の内部空間(51)内に設けられ、駆動モータ(56f、56g)によってそれぞれ回転駆動可能なアジマス軸及びロール軸を有し、被試験対象を、球座標系の中心を基準点として該球座標系の予め設定された複数の角度標本点を順次向くように回転させるポジショナ(56)と、
前記内部空間内の試験用アンテナ(5)に接続される模擬測定装置(20)と、
前記試験用アンテナから前記被試験対象である移動端末(100)に対して試験信号を送信し、該試験信号を受信した前記移動端末から送信される被測定信号を前記試験用アンテナで受信させ、該受信された被測定信号に基づき前記移動端末に関する特定の測定項目を測定させる測定動作を、前記複数の角度標本点のそれぞれに対応する各測定ポジションで実施させるように前記模擬測定装置を制御する統合制御装置(10)と、を備える移動端末試験装置の移動端末試験方法であって、
少なくとも前記移動端末の測定ポジションを変更した時の前記被測定信号の信号レベルの時間経過による変化を複数回測定するステップと、
測定結果に基づいてbeam selection processの時間を推定するステップと、
推定されたbeam selection processの時間からWait timeを求めるステップと、を備える移動端末試験方法。
発明の詳細な説明
【技術分野】
【0001】
本発明は、OTA(Over The Air)環境下で移動端末が設置されたポジショナの角度を変更しながら信号をやり取りすることにより移動端末を試験する移動端末試験装置に関する。
続きを表示(約 1,300 文字)
【背景技術】
【0002】
近年開発が進んでいる、ミリ波帯の広帯域な信号を使用するIEEE802.11adや5Gセルラ等に対応した無線信号を送受信する無線端末については、無線端末が備えている無線通信用のアンテナに対して、通信規格ごとに定められた送信電波の出力レベルや受信感度を測定し、所定の基準を満たすか否かを判定する性能試験が行なわれる。
【0003】
例えば、第5世代移動通信システム(以下、「5G」ともいう)のNRシステム(New Radio System)用の無線端末(以下、「5G無線端末」という)を被試験対象(Device Under Test:DUT)とする性能試験においては、周囲の電波環境に影響されないコンパクト・アンテナ・テスト・レンジ(Compact Antenna Test Range:以下、「CATR」という)と称する電波暗箱(OTAチャンバ)を用いたOTA試験が実施される。
【0004】
OTA試験を実施可能な従来の無線端末測定装置の一例として、無線端末を、電波暗箱や電波暗室などの測定空間内で基準点を中心に回転させつつ、無線端末から送信される電波を測定用アンテナで受信し、その受信信号から無線端末の放射電力特性(等価等方性放射電力(EIRP:Equivalent Isotropic Radiated Power)、等価等方感度(EIS:Equivalent Isotropic Sensitivity)、全球面放射電力(TRP:Total Radiated Power)など)を求めるものが知られている。
【0005】
特許文献1には、OTA環境下で球座標系の全ての方位を順次向くように回転されるDUTの測定において、各測定ポジションでの測定の進捗状況を表示することが記載されている。
【先行技術文献】
【特許文献】
【0006】
特許第7227198号公報
【発明の概要】
【発明が解決しようとする課題】
【0007】
3GPP(Third Generation Partnership Project)では、測定角度や信号設定の変更がある場合、beam selection processの時間としてWait timeをとることになっている。
【0008】
3GPPでは、Wait timeのデフォルトとしてBEAM_SELECT_WAIT_TIME = 3 secが適用されている。
【0009】
このため、測定角度や信号設定の変更がある度にWait timeが適用され、測定時間がかかる要因となっている。
【0010】
なお、測定規格上は、beam selection processの時間が分かっている場合はWait timeを短縮してもよいことになっているが、beam selection processの時間を知る方法は示されていない。
(【0011】以降は省略されています)
この特許をJ-PlatPat(特許庁公式サイト)で参照する
関連特許
アンリツ株式会社
計量装置
1日前
アンリツ株式会社
検査装置
4日前
アンリツ株式会社
測定システム
今日
アンリツ株式会社
X線管及びX線検査装置
2日前
アンリツ株式会社
予知保全装置及び予知保全方法
今日
アンリツ株式会社
真空管、X線管及びX線検査装置
2日前
アンリツ株式会社
誤り率測定装置及び信号検出方法
4日前
アンリツ株式会社
ADC校正装置およびADC校正方法
4日前
WHISMR合同会社
収音装置
22日前
キヤノン株式会社
撮像装置
1か月前
アイホン株式会社
電気機器
16日前
株式会社リコー
画像形成装置
1か月前
個人
ワイヤレスイヤホン対応耳掛け
14日前
株式会社リコー
画像形成装置
1か月前
キヤノン電子株式会社
画像読取装置
23日前
株式会社リコー
画像形成装置
1か月前
ブラザー工業株式会社
読取装置
1か月前
株式会社ニコン
撮像装置
2か月前
キヤノン株式会社
撮像システム
16日前
大日本印刷株式会社
写真撮影装置
15日前
株式会社JVCケンウッド
通信システム
今日
株式会社小糸製作所
画像照射装置
1か月前
国立大学法人電気通信大学
小型光学装置
1か月前
パテントフレア株式会社
超高速電波通信
1か月前
パテントフレア株式会社
水中電波通信法
2か月前
DXO株式会社
情報処理システム
2か月前
株式会社松平商会
携帯機器カバー
25日前
キヤノン電子株式会社
シート材搬送装置
1か月前
沖電気工業株式会社
画像形成装置
4日前
有限会社フィデリックス
マイクロフォン
今日
日本無線株式会社
無線通信システム
8日前
株式会社JVCケンウッド
スピーカ
23日前
日本無線株式会社
無線通信システム
1か月前
株式会社国際電気
遠隔監視システム
1か月前
日本無線株式会社
無線通信システム
1か月前
株式会社大林組
監視システム
1か月前
続きを見る
他の特許を見る