TOP
|
特許
|
意匠
|
商標
特許ウォッチ
Twitter
他の特許を見る
10個以上の画像は省略されています。
公開番号
2025120877
公報種別
公開特許公報(A)
公開日
2025-08-18
出願番号
2024016023
出願日
2024-02-05
発明の名称
ガスアトマイズ装置、及び金属粉の製造方法
出願人
山石金属株式会社
代理人
個人
主分類
B22F
9/08 20060101AFI20250808BHJP(鋳造;粉末冶金)
要約
【課題】金属粉の粒径及び原料金属毎に、金属粉の出湯量及び分級収率が適切になるように不活性ガスの噴射条件を調整できるガスアトマイズ装置を提供すること。
【解決手段】溶融した原料金属を収容するとともに底部に第1開口110を有する容器100と、第1開口110に接続し、原料金属を外部に出す放出口を有する放出部材200と、放出部材200の先端から出てきた原料金属に噴射されるガスの流路を画定するガス流路調整部500と、を有し、ガス流路調整部500は、放出部材200の先端を囲むとともに、放出部材200内における原料金属の移動方向に沿って移動可能な移動部材510を備えているガスアトマイズ装置。
【選択図】図1
特許請求の範囲
【請求項1】
溶融した原料金属を収容するとともに底部に第1開口を有する容器と、
前記第1開口に接続し、前記原料金属を外部に出す放出口を有する放出部材と、
前記放出部材の先端から出てきた前記原料金属に噴射されるガスの流路を調整するガス流路調整部と、
を有し、
前記ガス流路調整部は、前記放出部材の先端を囲むとともに、前記放出部材内における前記原料金属の移動方向に沿って移動可能な移動部材を備えているガスアトマイズ装置。
続きを表示(約 900 文字)
【請求項2】
前記移動部材の外面が前記放出部材の前記放出口の先端と面一になるときを原点として、前記外面が前記先端よりも飛び出す方向をマイナス方向とした場合において、
前記移動部材の移動可能範囲は、-1mm以上10mm以下である、
請求項1に記載のガスアトマイズ装置。
【請求項3】
前記移動部材は側面にねじ溝を有しており、当該ねじ溝を用いて前記放出部材の先端を囲むように保持されており、
前記移動部材を回転させることにより、当該移動部材の位置を変更する、
請求項1又は2に記載のガスアトマイズ装置。
【請求項4】
溶融した原料金属を収容するとともに底部に第1開口を有する容器と、
前記第1開口に接続し、前記原料金属を外部に出す放出口を有する放出部材と、
前記放出部材の先端から出てきた前記原料金属に噴射されるガスの流路を調整するガス流路調整部と、
を有するガスアトマイズ装置を用いる金属粉の製造方法であって、
前記ガス流路調整部は、前記放出部材の先端を囲むとともに、前記放出部材内における前記原料金属の移動方向に沿って移動可能な移動部材を備えており、
前記移動部材の位置を変えつつ、前記放出部材からの前記原料金属の出湯量と前記金属粉の分級収率を測定し、当該測定結果を用いて前記移動部材の位置を決める位置決め工程と、
前記決めた位置に前記移動部材を位置させた状態で、前記金属粉を製造する金属粉製造工程と、を含む金属粉の製造方法。
【請求項5】
前記位置決め工程において、前記ガスのガス圧力を一定にした状態で、前記移動部材の位置を変えながら前記原料金属の出湯量と前記金属粉の分級収率を測定する、
請求項4に記載の金属粉の製造方法。
【請求項6】
前記位置決め工程において、前記ガスのガス圧力を変えつつ、ガス圧力毎に、前記移動部材の位置を変えながら前記原料金属の出湯量と前記金属粉の分級収率を測定する、
請求項5に記載の金属粉の製造方法。
発明の詳細な説明
【背景技術】
【0001】
本発明は、ガスアトマイズ装置、及び金属粉の製造方法に関する。
続きを表示(約 2,400 文字)
【0002】
金属粉末の製造において、ストレーナから溶融した金属を流下させ、流下途中の溶融した金属にガスノズルから不活性ガスを噴射して、溶融した金属を急冷粉状化し金属粉末を製造する、ガスアトマイズ法が知られている。特に、微粉末の製造においては、ストレーナとガスノズルが一体構造となり、ストレーナ先端に負圧状態を発生させることで溶融した金属を吸引する「コンファインド型」のガスアトマイズ法が好適に用いられている。
【0003】
特許文献1には、溶湯ノズル本体が20~80重量%の窒化ケイ素又は二ホウ化ジルコニウムを含み、残部が窒化ホウ素である複合セラミックス焼結体からなるコンファインド型のガスアトマイズ装置が記載されている。
【先行技術文献】
【特許文献】
【0004】
特開2002-69512号公報
【発明の概要】
【発明が解決しようとする課題】
【0005】
上述したコンファインド型のガスアトマイズ法においては、ストレーナ周辺の不活性ガスが噴射されることによる圧力に応じて、金属粉の出湯量や分級収率が変化することが知られている。また、これは金属粉の粒径や原料金属によって異なるものである。本発明の目的の一例は、金属粉の粒径及び原料金属毎に、金属粉の出湯量及び分級収率が適切になるように不活性ガスの噴射条件を調整できるガスアトマイズ装置を提供することである。
【課題を解決するための手段】
【0006】
本発明によれば、以下に示すガスアトマイズ装置、及び金属粉の製造方法が提供される。
[1]
溶融した原料金属を収容するとともに底部に第1開口を有する容器と、
前記第1開口に接続し、前記原料金属を外部に出す放出口を有する放出部材と、
前記放出部材の先端から出てきた前記原料金属に噴射されるガスの流路を調整するガス流路調整部と、
を有し、
前記ガス流路調整部は、前記放出部材の先端を囲むとともに、前記放出部材内における前記原料金属の移動方向に沿って移動可能な移動部材を備えているガスアトマイズ装置。
[2]
前記移動部材の外面が前記放出部材の前記放出口の先端と面一になるときを原点として、前記外面が前記先端よりも飛び出す方向をマイナス方向とした場合において、
前記移動部材の移動可能範囲は、-1mm以上10mm以下である、
[1]に記載のガスアトマイズ装置。
[3]
前記移動部材は側面にねじ溝を有しており、当該ねじ溝を用いて前記放出部材の先端を囲むように保持されており、
前記移動部材を回転させることにより、当該移動部材の位置を変更する、
[1]又は[2]に記載のガスアトマイズ装置。
[4]
溶融した原料金属を収容するとともに底部に第1開口を有する容器と、
前記第1開口に接続し、前記原料金属を外部に出す放出口を有する放出部材と、
前記放出部材の先端から出てきた前記原料金属に噴射されるガスの流路を調整するガス流路調整部と、
を有するガスアトマイズ装置を用いる金属粉の製造方法であって、
前記ガス流路調整部は、前記放出部材の先端を囲むとともに、前記放出部材内における前記原料金属の移動方向に沿って移動可能な移動部材を備えており、
前記移動部材の位置を変えつつ、前記放出部材からの前記原料金属の出湯量と前記金属粉の分級収率を測定し、当該測定結果を用いて前記移動部材の位置を決める位置決め工程と、
前記決めた位置に前記移動部材を位置させた状態で、前記金属粉を製造する金属粉製造工程と、を含む金属粉の製造方法。
[5]
前記位置決め工程において、前記ガスのガス圧力を一定にした状態で、前記移動部材の位置を変えながら前記原料金属の出湯量と前記金属粉の分級収率を測定する、
[4]に記載の金属粉の製造方法。
[6]
前記位置決め工程において、前記ガスのガス圧力を変えつつ、ガス圧力毎に、前記移動部材の位置を変えながら前記原料金属の出湯量と前記金属粉の分級収率を測定する、
[5]に記載の金属粉の製造方法。
【発明の効果】
【0007】
本発明によれば、金属粉の粒径及び原料金属毎に、金属粉の出湯量及び分級収率が適切になるように不活性ガスの噴射条件を調整できるガスアトマイズ装置が提供される。
【図面の簡単な説明】
【0008】
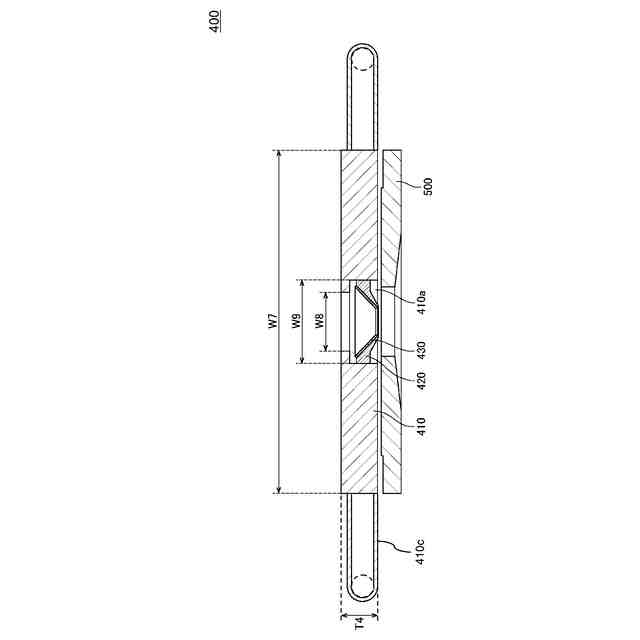
本実施形態に係るガスアトマイズ装置の一例を示す図である。
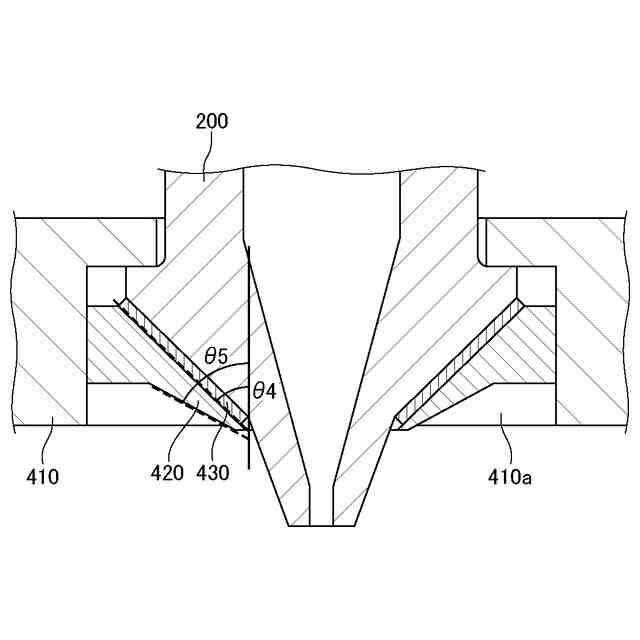
放出部材の形状の一例を示す図である。
接続部材の形状の一例を示す図である。
接続部材と、容器及び放出部材との接触面の断面の拡大図である。
ガス流路部の断面図である。
ガス流路部と放出部材との接触部の断面の拡大図である。
ガス流路調整部全体の断面図である。
固定部の斜視図である。
移動部材の拡大図である。
ガス流路の調整の一例を示す図である。
【発明を実施するための形態】
【0009】
以下、本発明の実施の形態について、図面を用いて説明する。なお、全ての図面において、同様の構成要素には同様の符号を付し、適宜説明を省略する。
【0010】
図1に本実施形態に係るガスアトマイズ装置10の一例を示す。図1に示すように、本実施形態に係るガスアトマイズ装置10は、容器100、放出部材200、接続部材300、ガス流路部400、及びガス流路調整部500を有する。そして、放出部材200の先端部、ガス流路部400、及びガス流路調整部500によって、ガス流路が形成される。
(【0011】以降は省略されています)
この特許をJ-PlatPat(特許庁公式サイト)で参照する
関連特許
山石金属株式会社
アルミニウム含有粒子の製造方法
1か月前
個人
鋼の連続鋳造用鋳型
3か月前
個人
ピストンの低圧鋳造金型
7か月前
トヨタ自動車株式会社
押湯入子
3か月前
芝浦機械株式会社
成形システム
1か月前
友鉄工業株式会社
錫プレート成形方法
2か月前
大阪硅曹株式会社
無機中子用水性塗型剤
3か月前
日本製鉄株式会社
モールドパウダー
1か月前
株式会社プロテリアル
合金粉末の製造方法
7か月前
山石金属株式会社
ガスアトマイズ装置
3か月前
山石金属株式会社
ガスアトマイズ装置
3か月前
芝浦機械株式会社
射出装置及び成形機
3か月前
トヨタ自動車株式会社
中子の製造方法
4か月前
株式会社キャステム
鋳造品の製造方法
7か月前
トヨタ自動車株式会社
中子の製造方法
4か月前
トヨタ自動車株式会社
鋳バリ抑制方法
7か月前
山石金属株式会社
アルミニウム含有粒子
1か月前
トヨタ自動車株式会社
ケースの製造方法
5か月前
山石金属株式会社
アルミニウム含有粒子
1か月前
トヨタ自動車株式会社
鋳物砂の再生方法
4か月前
旭有機材株式会社
鋳型の製造方法
4か月前
トヨタ自動車株式会社
突き折り棒
6か月前
株式会社日本触媒
窒素被覆金属粒子の製造方法
5か月前
芝浦機械株式会社
局部変圧装置及び成形機
1か月前
JFEミネラル株式会社
Ni合金粉
1か月前
トヨタ自動車株式会社
金型冷却構造
6か月前
芝浦機械株式会社
溶解保持炉
23日前
愛知製鋼株式会社
継ぎ目なし管の製造方法
2か月前
株式会社プロテリアル
金属付加製造物の製造方法
3か月前
株式会社神戸製鋼所
炭素-銅含有粉末
6か月前
日本製鉄株式会社
Cu含有鋼の連続鋳造方法
2日前
住友金属鉱山株式会社
金粉の製造方法
2か月前
株式会社豊田中央研究所
積層造形装置
5か月前
日本製鉄株式会社
Al脱酸鋼の連続鋳造方法
7か月前
福田金属箔粉工業株式会社
Cu系粉末
5か月前
ポーライト株式会社
焼結部品の製造方法
5か月前
続きを見る
他の特許を見る