TOP
|
特許
|
意匠
|
商標
特許ウォッチ
Twitter
他の特許を見る
公開番号
2025120400
公報種別
公開特許公報(A)
公開日
2025-08-15
出願番号
2025097925,2021090124
出願日
2025-06-11,2021-05-28
発明の名称
建具及び建具の製造方法
出願人
YKK AP株式会社
代理人
弁理士法人酒井国際特許事務所
主分類
E06B
5/16 20060101AFI20250807BHJP(戸,窓,シャッタまたはローラブラインド一般;はしご)
要約
【課題】さらなる防火性の向上を図ること。
【解決手段】面材20の縁部に建材10を配置することによって構成される建具であって、面材20の下縁に配置される建材10には、面材20の荷重を支持する位置に、流動状態で塗布されて硬化した熱膨張性部材30が設けられ、熱膨張性部材30を支持部材として建材10に面材20が配置されている。
【選択図】図1
特許請求の範囲
【請求項1】
面材の縁部に建材を配置することによって構成される建具であって、
前記面材の下縁に配置される建材には、前記面材の荷重を支持する位置に熱膨張性部材が設けられ、前記熱膨張性部材を支持部材として前記建材に前記面材が配置され、
前記面材は、スペーサ部材を介して複数枚のガラス板を積層した複層ガラスであり、
前記熱膨張性部材は、見込み方向においてそれぞれのガラス板に重複する位置に設けられ、
前記熱膨張性部材は、互いの間に隙間を確保して見込み方向に並設され、
互いに並設される熱膨張性部材の一方は、前記建材の長手方向において前記ガラス板の全長にわたる部分に連続して延在する長さを有した第1部分と、前記第1部分の一部に重ねて設けられた第2部分とを有し、
互いに並設される熱膨張性部材の他方は、前記第2部分に対して並設され、上面の高さが前記第2部分の上面と一致するように設けられていることを特徴とする建具。
続きを表示(約 400 文字)
【請求項2】
スペーサ部材を介して複数枚のガラス板を積層した複層ガラスを面材としてその縁部に建材を配置することによって構成される建具の製造方法であって、
前記面材の下縁に配置される建材において前記ガラス板のそれぞれの荷重を支持する位置に互いに間隔を確保して見込み方向に並設される状態で、流動性を有した状態の熱膨張性部材を塗布し、前記熱膨張性部材が硬化した後に前記熱膨張性部材を支持部材として前記建材に面材を配置し、
互いに並設される熱膨張性部材の一方は、前記建材の長手方向において前記ガラス板の全長にわたる部分に連続して延在する長さを有した第1部分と、前記第1部分の一部に重ねて設けられた第2部分とを有するように塗布し、
互いに並設される熱膨張性部材の他方は、前記第2部分に対して並設され、上面の高さが前記第2部分の上面と一致するように塗布することを特徴とする建具の製造方法。
発明の詳細な説明
【技術分野】
【0001】
本発明は、建具及び建具の製造方法に関する。
続きを表示(約 2,400 文字)
【背景技術】
【0002】
昨今の建具には、高い防火性が要求されている。このため、建具には、枠や框、あるいは枠や框を補強する補強材等の建材に定形の熱膨張性部材を貼り付けるようにしたものが提供されている。この種の建具では、火災時等において高温に晒されると、熱膨張性部材が加熱により膨張し、枠と框との間の隙間が閉塞される。この結果、室内外において火炎の貫通口が生じる事態が防止され、防火性の向上を図ることができるようになる(例えば、特許文献1参照)。
【先行技術文献】
【特許文献】
【0003】
特開2016-56664号公報
【発明の概要】
【発明が解決しようとする課題】
【0004】
ところで、面材の縁部に配置される建材においては、面材収容溝の内部に熱膨張性部材を配設するようにしたものも提供されている。しかしながら、面材収容溝においては、面材と建材との間にセッティングブロックと称される支持部材が設けられる場合が多い。このため、面材収容溝の内部に全長にわたって熱膨張性部材を配設したとしても、支持部材によって覆われた部分については熱膨張性部材の熱膨張が阻害される懸念がある。
【0005】
本発明は、上記実情に鑑みて、さらなる防火性の向上を図ることのできる建具及び建具の製造方法を提供することを目的とする。
【課題を解決するための手段】
【0006】
上記目的を達成するため、本発明に係る建具は、面材の縁部に建材を配置することによって構成される建具であって、前記面材の下縁に配置される建材には、前記面材の荷重を支持する位置に熱膨張性部材が設けられ、前記熱膨張性部材を支持部材として前記建材に前記面材が配置され、前記面材は、スペーサ部材を介して複数枚のガラス板を積層した複層ガラスであり、前記熱膨張性部材は、見込み方向においてそれぞれのガラス板に重複する位置に設けられ、前記熱膨張性部材は、互いの間に隙間を確保して見込み方向に並設され、互いに並設される熱膨張性部材の一方は、前記建材の長手方向において前記ガラス板の全長にわたる部分に連続して延在する長さを有した第1部分と、前記第1部分の一部に重ねて設けられた第2部分とを有し、互いに並設される熱膨張性部材の他方は、前記第2部分に対して並設され、上面の高さが前記第2部分の上面と一致するように設けられていることを特徴とする。
【発明の効果】
【0007】
本発明によれば、熱膨張性部材を支持部材として建材に面材を配置するようにしているため、高温状態となった場合に面材との隙間を確実に埋めることができるようになり、防火性の向上を図ることが可能となる。
【図面の簡単な説明】
【0008】
本発明の実施の形態である建具の製造方法の概要を概念的に示した斜視図である。
本発明の実施の形態である製造方法によって製造した建具の具体例を示すもので、(a)は補強材を介して建材に面材を配置した建具の要部縦断面図、(b)は(a)に示した建具の要部断面斜視図である。
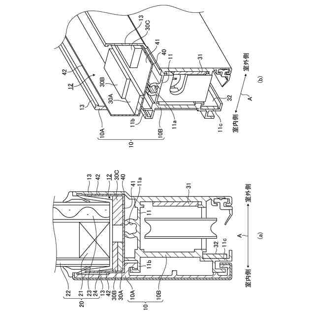
本発明の実施の形態である製造方法によって製造した建具の他の具体例を示すもので、(a)は補強材を介して建材に面材を配置した建具の要部縦断面図、(b)は(a)に示した建具の要部断面斜視図である。
図1に示した建具に適用する建材の平面図である。
【発明を実施するための形態】
【0009】
以下、添付図面を参照しながら本発明に係る建具及び建具の製造方法の好適な実施の形態について詳細に説明する。なお、以下においては便宜上、見込み方向及び見付け方向という用語を用いる。見込み方向とは、図中の矢印Aで示すように、建具の奥行きに沿った方向である。見込み方向に沿った面については見込み面と称する場合がある。見付け方向とは、下枠等のように水平方向に沿って延在するものの場合、見込み方向に直交した上下に沿う方向である。縦枠等のように上下方向に沿って延在するものの場合には、見込み方向に直交した水平に沿う方向を見付け方向という。見付け方向に沿った面については、見付け面と称する場合がある。
【0010】
図1は、本発明の実施の形態である建具の製造方法を概念的に示したものである。ここで例示する建材10は、建具の障子において面材の下縁に配置される下框、あるいははめ殺し窓において面材の下縁に配置される下枠として用いられるものである。この下框あるいは下枠として用いられる建材(以下、単に下方建材10という)としては、アルミニウム合金等の金属によって成形した押し出し形材からなる金属単体のもの、あるいは樹脂によって成形した押し出し形材からなる樹脂単体のもの、あるいは金属の押し出し形材からなる金属部分と樹脂の押し出し形材からなる樹脂部分とを有した複合タイプのものであっても構わない。いずれにおいても下方建材10は、長手(見込み方向に直交する方向)に沿って全長にわたる部分がほぼ一様な断面形状を有するように構成してある。図2及び図3に示す具体例では、それぞれ室内側の樹脂部分10Aと室外側の金属部分10Bとを有した複合タイプの下方建材10を適用した引き違い窓用の障子を例示している。面材20としては、スペーサ部材21を介して2枚のガラス板22,23を積層するとともに、ガラス板22,23の外周縁部分にガスケット24を装着した複層ガラスを適用している。本実施の形態では特に、フロートガラス22と、フロートガラス22よりも耐火強度の高い網入りガラス23とを積層した複層ガラスを適用している。
(【0011】以降は省略されています)
この特許をJ-PlatPat(特許庁公式サイト)で参照する
関連特許
YKK AP株式会社
建具
13日前
YKK AP株式会社
建具
3日前
YKK AP株式会社
戸体
1か月前
YKK AP株式会社
屋根構造体
今日
YKK AP株式会社
屋根構造体
今日
YKK AP株式会社
屋根構造体
今日
YKK AP株式会社
屋根構造体
今日
YKK AP株式会社
戸車および建具
3日前
YKK AP株式会社
カーテンウォールユニット
今日
YKK AP株式会社
パネルおよびパネル設置構造
27日前
YKK AP株式会社
屋根構造体及び屋根構造体の施工方法
今日
個人
網戸
4か月前
個人
脚立の転落防止ポール
4か月前
中国電力株式会社
脚立
1か月前
三協立山株式会社
建具
4か月前
株式会社ESP
止水板
1か月前
株式会社ナカオ
作業台
22日前
三協立山株式会社
構造体
3か月前
三協立山株式会社
構造体
3か月前
三協立山株式会社
開口部装置
1か月前
三協立山株式会社
開口部装置
24日前
三協立山株式会社
開口部装置
3か月前
三協立山株式会社
開口部装置
3か月前
三協立山株式会社
開口部装置
1か月前
三協立山株式会社
開口部装置
1か月前
株式会社ニチベイ
ブラインド
4か月前
三協立山株式会社
開口部装置
24日前
ミサワホーム株式会社
水切り材
1か月前
不二サッシ株式会社
引違いサッシ
27日前
株式会社大奉金属
止水構造
3か月前
株式会社TJMデザイン
脚立用ホルダー
2か月前
株式会社ニチベイ
縦型ブラインド
1か月前
株式会社LIXIL
太陽電池ガラス
3日前
三協立山株式会社
サッシの製造方法
23日前
永大産業株式会社
開閉構造体
3か月前
株式会社LIXIL
建具
13日前
続きを見る
他の特許を見る