TOP
|
特許
|
意匠
|
商標
特許ウォッチ
Twitter
他の特許を見る
10個以上の画像は省略されています。
公開番号
2025143619
公報種別
公開特許公報(A)
公開日
2025-10-02
出願番号
2024042941
出願日
2024-03-19
発明の名称
屋根構造体及び屋根構造体の施工方法
出願人
YKK AP株式会社
代理人
弁理士法人武和国際特許事務所
主分類
E04B
7/00 20060101AFI20250925BHJP(建築物)
要約
【課題】屋根材を囲む屋根枠を簡単に屋根体に設けられるようにして、屋根構造体の施工性を向上させる。
【解決手段】屋根構造体の屋根体3は、複数のコーナー部5Aが設けられた屋根枠5と、屋根枠5の内側に配置されて屋根枠5に囲まれた屋根材20を有する。屋根枠5は、コーナー部5Aで端部同士が接続して屋根材20に固定された複数の枠材30、50と、コーナー部5Aで接続する一方の枠材50の端部と他方の枠材30の端部の間に配置されたコーナーキャップ70を有する。コーナーキャップ70は、一方の枠材50に設けられた嵌合部53に圧入されて嵌合する圧入部72と、他方の枠材30に受けられて係止される係止部73を有する。
【選択図】 図8
特許請求の範囲
【請求項1】
支持体に支持された屋根体を備えた屋根構造体であって、
前記屋根体は、複数のコーナー部が設けられた屋根枠と、前記屋根枠の内側に配置されて前記屋根枠に囲まれた屋根材と、を有し、
前記屋根枠は、前記コーナー部で端部同士が接続して前記屋根材に固定された複数の枠材と、前記コーナー部で接続する一方の前記枠材の端部と他方の前記枠材の端部の間に配置されたコーナーキャップと、を有し、
前記コーナーキャップは、前記一方の枠材に設けられた嵌合部に圧入されて嵌合する圧入部と、前記他方の枠材に受けられて係止される係止部と、を有する屋根構造体。
続きを表示(約 780 文字)
【請求項2】
請求項1に記載された屋根構造体において、
複数の前記枠材は、前記コーナーキャップを介して端部同士が接続して前記屋根材を囲む囲み部と、前記囲み部から突出して前記屋根材に固定された固定部と、を有する屋根構造体。
【請求項3】
請求項1又は2に記載された屋根構造体において、
前記コーナーキャップは、前記一方の枠材の端部と前記他方の枠材の端部の間の空所部に装着されて前記空所部を埋める装着部を有する屋根構造体。
【請求項4】
請求項3に記載された屋根構造体において、
前記装着部は、前記一方の枠材の端部と前記他方の枠材の端部のそれぞれと対向する2つの平面部を有する屋根構造体。
【請求項5】
請求項3に記載された屋根構造体において、
前記装着部は、前記一方の枠材の端部と前記他方の枠材の端部のそれぞれを収容する2つの収容部を有する屋根構造体。
【請求項6】
請求項1又は2に記載された屋根構造体において、
前記屋根体は、前記枠材と前記屋根材の間に挟まれた止水材を有する屋根構造体。
【請求項7】
請求項1又は2に記載された屋根構造体の施工方法であって、
前記他方の枠材を前記屋根材に固定する工程と、
前記コーナーキャップの前記圧入部を前記一方の枠材の前記嵌合部に圧入して嵌合させ、前記コーナーキャップを前記一方の枠材に取り付ける工程と、
前記一方の枠材に取り付けた前記コーナーキャップの前記係止部を前記屋根材に固定した前記他方の枠材に受けさせて係止し、前記一方の枠材を前記屋根材への固定位置に配置する工程と、
前記一方の枠材を前記屋根材に固定する工程と、
を有する屋根構造体の施工方法。
発明の詳細な説明
【技術分野】
【0001】
本発明は、支持体により屋根体を支持する屋根構造体及び屋根構造体の施工方法に関する。
続きを表示(約 2,700 文字)
【背景技術】
【0002】
屋根構造体の屋根体として、屋根材と屋根枠を有する屋根体が知られている。屋根材は、屋根枠の内側に配置され、屋根枠は、複数の枠材により屋根材を囲む。枠材の端部は、屋根枠のコーナー部に位置し、複数の枠材は、屋根枠のコーナー部で端部同士が接続する。また、このような屋根体として、従来、前桁の端部と側枠の端部にコーナーキャップを固定するテラス、カーポート等の屋根が知られている(特許文献1参照)。
【0003】
特許文献1に記載された従来の屋根では、コーナーキャップを側枠の端部にビス止めにより固定して、側枠をコーナーキャップに取り付ける。続いて、前桁を支柱の上面に取り付けて、コーナーキャップを前桁の端部に嵌合し、コーナーキャップを前桁の端部にビス止めにより固定する。このように、従来の屋根では、コーナーキャップを介して前桁の端部と側枠の端部を接続する作業が複雑であり、前桁、側枠、及び、コーナーキャップを屋根に設ける作業に手間がかかる。また、ビス止めされる部分をコーナーキャップに設ける必要があり、コーナーキャップの構造が複雑になり、コーナーキャップも大きくなる。
【先行技術文献】
【特許文献】
【0004】
特許第2652109号公報
【発明の概要】
【発明が解決しようとする課題】
【0005】
本発明は、前記従来の問題に鑑みなされたもので、その目的は、屋根構造体の屋根材を囲む屋根枠を簡単に屋根体に設けられるようにして、屋根構造体の施工性を向上させることである。
【課題を解決するための手段】
【0006】
本発明は、
支持体に支持された屋根体を備えた屋根構造体であって、
前記屋根体は、複数のコーナー部が設けられた屋根枠と、前記屋根枠の内側に配置されて前記屋根枠に囲まれた屋根材と、を有し、
前記屋根枠は、前記コーナー部で端部同士が接続して前記屋根材に固定された複数の枠材と、前記コーナー部で接続する一方の前記枠材の端部と他方の前記枠材の端部の間に配置されたコーナーキャップと、を有し、
前記コーナーキャップは、前記一方の枠材に設けられた嵌合部に圧入されて嵌合する圧入部と、前記他方の枠材に受けられて係止される係止部と、を有する屋根構造体である。
また、本発明は、
本発明の屋根構造体の施工方法であって、
前記他方の枠材を前記屋根材に固定する工程と、
前記コーナーキャップの前記圧入部を前記一方の枠材の前記嵌合部に圧入して嵌合させ、前記コーナーキャップを前記一方の枠材に取り付ける工程と、
前記一方の枠材に取り付けた前記コーナーキャップの前記係止部を前記屋根材に固定した前記他方の枠材に受けさせて係止し、前記一方の枠材を前記屋根材への固定位置に配置する工程と、
前記一方の枠材を前記屋根材に固定する工程と、
を有する屋根構造体の施工方法である。
【発明の効果】
【0007】
本発明によれば、屋根構造体の屋根材を囲む屋根枠を簡単に屋根体に設けられるようにして、屋根構造体の施工性を向上させることができる。
【図面の簡単な説明】
【0008】
第1実施形態の屋根構造体を斜め上方からみた斜視図である。
第1実施形態の屋根構造体を斜め下方からみた斜視図である。
図1の矢印X1方向からみた第1実施形態の屋根構造体を示す側面図である。
図3の矢印X2方向からみた第1実施形態の屋根構造体を示す前面図である。
図3の矢印X3方向からみた第1実施形態の屋根構造体を示す平面図である。
図5のX4-X4線で切断した第1実施形態の屋根構造体を示す断面図である。
図5のX5-X5線で切断した第1実施形態の屋根構造体を示す断面図である。
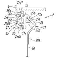
第1実施形態の屋根構造体の屋根枠と屋根材を示す図である。
図8AのX8-X8線で切断した第1実施形態の屋根構造体の前枠材と屋根材を示す断面図である。
第1実施形態の屋根構造体の側枠材とコーナーキャップを示す図である。
第1実施形態の屋根構造体の側枠材、コーナーキャップ、及び、屋根材を示す図である。
第1実施形態の屋根構造体の側枠材、コーナーキャップ、及び、屋根材を示す図である。
図8のX11-X11線で切断した第1実施形態の屋根構造体の前枠材、側枠材、及び、コーナーキャップを示す断面図である。
第2実施形態の屋根構造体の屋根枠と屋根材を示す図である。
第2実施形態の屋根構造体の側枠材とコーナーキャップを示す図である。
第2実施形態の屋根構造体の側枠材、コーナーキャップ、及び、屋根材を示す図である。
第2実施形態の屋根構造体の側枠材、コーナーキャップ、及び、屋根材を示す図である。
図14のX16-X16線で切断した第2実施形態の屋根構造体の前枠材、側枠材、及び、コーナーキャップを示す断面図である。
【発明を実施するための形態】
【0009】
本発明の屋根構造体及び屋根構造体の施工方法の一実施形態について、図面を参照して説明する。
本実施形態の屋根構造体は、屋根体を備えた屋外構造物であり、本実施形態の屋根構造体の施工方法により施工されて、建物の屋外に設置される。以下では、建物から独立して設置される屋根構造体であるカーポートを例にとり、屋根構造体及び屋根構造体の施工方法の2つの実施形態について説明する。
【0010】
(第1実施形態)
図1は、第1実施形態の屋根構造体1を斜め上方からみた斜視図であり、図2は、第1実施形態の屋根構造体1を斜め下方からみた斜視図である。
図示のように、屋根構造体1は、設置箇所Gに設置されて、設置箇所Gで自立する。また、屋根構造体1は、屋根構造体1の設置箇所Gに立設された支持体である支柱2と、支柱2に支持された屋根体3を備えている。複数の支柱2の下側部分が設置箇所Gに埋設されて、設置箇所Gの上側で、支柱2が上下方向に沿って配置されている。支柱2は、設置箇所Gに立てた状態で設置されて、設置箇所Gの上方に突出する。
(【0011】以降は省略されています)
この特許をJ-PlatPat(特許庁公式サイト)で参照する
関連特許
YKK AP株式会社
建具
19日前
YKK AP株式会社
建具
9日前
YKK AP株式会社
外装材
1日前
YKK AP株式会社
外装体
5日前
YKK AP株式会社
フェンス
今日
YKK AP株式会社
屋根構造体
6日前
YKK AP株式会社
屋根構造体
6日前
YKK AP株式会社
屋根構造体
6日前
YKK AP株式会社
屋根構造体
6日前
YKK AP株式会社
スクリーン装置
今日
YKK AP株式会社
スクリーン装置
今日
YKK AP株式会社
戸車および建具
9日前
YKK AP株式会社
カーテンウォールユニット
6日前
YKK AP株式会社
パネルおよびパネル設置構造
1か月前
YKK AP株式会社
スクリーン装置及びこの取付構造
今日
YKK AP株式会社
屋根構造体及び屋根構造体の施工方法
6日前
個人
接合構造
2日前
個人
屋台
19日前
個人
タッチミー
1日前
個人
野良猫ハウス
1か月前
個人
転落防止用手摺
29日前
個人
フェンス
1か月前
個人
居住車両用駐車場
1か月前
ニチハ株式会社
建築板
1か月前
個人
地下型マンション
3か月前
積水樹脂株式会社
柵体
28日前
個人
ベンリナアングル
1日前
個人
筋交自動設定装置
9日前
個人
熱抵抗多層断熱建材
1か月前
個人
壁断熱パネル
4か月前
個人
鋼管結合資材
3か月前
株式会社タナクロ
テント
3か月前
個人
補強部材
1か月前
個人
柵
2か月前
個人
循環流水式屋根融雪装置
3か月前
成友建設株式会社
建物
1か月前
続きを見る
他の特許を見る